JM-20-Rev09PDFA.pdf - 第50页
- 45 - 23. OCC COMPONENTS OCC 関係 43 42 41 40 4 4 5 3 7 8 9 10 6 6 13 14 15 15 16 17 18 19 20 21 22 23 24 25 26 27 28 29 30 30 31 32 33 34 35 36 37 38 11 1 A 48 45 44 46 47 12 2 A 39

- 44 -
REF.NO NOTE PART NO D E S C R I P T I O N
品 名
Qty
1 401-37653 HEAD_TOP_ASM
ヘッドトップ組
1
2 401-08801 HEAD_TOP_BASE_V2
ヘッドトップベースV2
(1)
3 401-36793 HEAD_TOP_POLE_R
ヘッドトップポールR
(2)
4 400-71576 HEAD_TOP_POLE_L
ヘッドトップポールL
(2)
5 PJ-3030600-01 STRAIGHT UNION
ストレートユニオン
(2)
6 401-36806 HEAD_TOP_PLATE
ヘッドトッププレート
(1)
7 SM-3051052-TN SCREW M5 L=10
丸ねじ M5 L=10
(6)
8 WP-0550836-SC WASHER 5.5X12X0.8
平座金 5.5X12X0.8
(6)
9 SL-6041292-TN SCREW M4 L=12
座金付き六角穴ボルト M4 L=12
(2)
10 WP-0431005-SP PLAIN WASHER
平座金
(2)
11 401-36796 CABLE_BEAR_BR
ケーブルベアブラケット
(1)
12 SL-6041292-TN SCREW M4 L=12
座金付き六角穴ボルト M4 L=12
(6)
13 WP-0431005-SP PLAIN WASHER
平座金
(6)
14 401-37024 FC_SUPPORT_X
FCサポートX
(1)
15 L153E-321-000 FC RUBBER
FC ルーバー
(3)
16 SL-6051492-TN SCREW M5 L=14
座金付き六角穴ボルト M5 L=14
(2)
17 WP-0531001-SC WASHER M5
平座金みがき丸 M5
(2)
18 NM-6050001-SC NUT M5X0.8 TYPE1
六角ナット M5X0.8 1種
(2)
19 PJ-3040800-02 ELBOW
エルボ
(2)
20 401-37654 4AXIS_SERVO_AMP_ASM
4軸サーボアンプ組
(2)
21 401-36794 HEAD_TOP_PCB_PLATE
ヘッドトップ基板プレート
(1)
22 401-29650 4AXIS INTEGRAL TYPE T AXIS DRIVER
4軸一体T軸ドライバ
(1)
23 SL-4030891-SC SCREW M3 L=8
座金付きなべ小ねじ M3 L=8
(9)
24 HX-0009600-0A GROMMET
エッジングブッシュ
(0.08)
25 SL-6032092-TN SCREW M3 L=20
座金付き六角穴ボルト M3 L=20
(16)
26 SL-4030891-SC SCREW M3 L=8
座金付きなべ小ねじ M3 L=8
(18)
27 401-37655 HEAD_TOP_FAN_ASM
ヘッドトップファン組
(1)
28 401-36808 FAN_BR
ファンブラケット
(1)
29 SL-6040892-TN SCREW M4 L=8
座金付き六角穴ボルト M4 L=8
(3)
30 HX-0029400-00 FIXED BASE
固定ベース
(1)
31 SM-6040802-TN SCREW M4X0.7 L=8
六角穴ボルト M4X0.7 L=8
(1)
32 401-13708 HEAD FAN CABLE ASM
ヘッド冷却ファンケーブル組
(1)
33 401-36497 HEAD FAN RELAY CABLE ASM
ヘッドファン中継ケーブル組
(1)
34 WS-0410002-KN SPRING WASHER M4
ばね座金 M4
(4)
35 SL-4043091-SC SCREW M4 L=30
座金付きなべ小ねじ M4 L=30
(4)
36 NM-6060001-SC NUT M6X1 TYPE1
六角ナット M6X1 1種
(4)
37 NM-6040001-SC NUT M4X0.7 TYPE1
六角ナット M4X0.7 1種
(4)
38 WP-0430801-SC WASHER M4
平座金 M4
(4)
39 401-30384 HEAD MAIN PCB ASM
ヘッドメイン基板組
(1)
40 401-36807 HEAD_TOP_COVER
ヘッドトップカバー
(1)
41 401-36795 HEAD_COVER_SHEET
ヘッドカバーシャフト
(1)
42 SL-6030892-TN SCREW M3 L=8
座金付き六角穴ボルト M3 L=8
(9)
43 HX-0029400-00 FIXED BASE
固定ベース
(20)
44 HX-0045400-00 TIE MOUNT
タイマウント
(7)
45 HX-0034400-00 FIXED BASE
束線パーツ
(1)
46 SM-4040601-SC SCREW M4X0.7 L=6
なべ小ねじ M4X0.7 L=6
(28)
47 SM-4852501-SC SCREW
なべねじ
2
48 WP-0651646-SC WASHER
平座金
6
49 SM-3061252-TN SCREW M6 L=12
丸ねじ M6 L=12
6
50 EA-9002B11-00 GROMMET
自在ブッシュ L
0.07
51 EA-9500B01-00 CABLE BAND
束線バンド
20
52 EA-9500B02-00 CABLE BAND
束線バンド
30
53 HX-0006500-0B CABLE BAND
束線バンド
5
54 HX-0009600-00 GROMMET
エッジングブッシュ
1
55 HX-0009600-0A GROMMET
エッジングブッシュ
1
56 E5348-033-100 GROMMET
ブッシュ
0.5
57 401-37647 HEAD_VACUUM_UNIT_ASM
ヘッドバキュームユニット組
1
58 400-94360 HEAD_COVER
ヘッドカバー
(1)
59 SM-6030602-TN SCREW M3X6
六角穴ボルト M3X6
(4)
60 E3858-715-000 SEAL
手触れ禁止シール
(1)
61 E5348-033-100 GROMMET
ブッシュ
(0.1)
62 401-32730 VACUUM UNIT
バキュームユニット
(1)
63 401-04678 SV_STAND
SVスタンド
(2)
64 SL-6030692-TN SCREW M3 L=6
座金付き六角穴ボルト M3 L=6
(8)
65 401-36802 EJECTOR_BR
エジェクタブラケット
(1)
66 SL-6040892-TN SCREW M4 L=8
座金付き六角穴ボルト M4 L=8
(4)
67 400-62187 FILTER BOX L 70
フィルタボックスL70
(1)
68 400-46058 O RING F1
OリングF1
(6)
69 400-46059 O RING F2
OリングF2
(6)
70 SL-6031042-TN SCREW M3 L=10
座金付き六角穴ボルト M3 L=10
(2)
71 400-46646 FILTER
フィルタ
(6)
72 400-64231 FILTER BOX U70 ASM
フィルタボックスU70組
(1)
73 400-77276 FILTER BOX U
フィルターボックスU
(1)
74 400-60551 FILTER SET PIN
フィルタセットピン
(6)
75 PJ-3010405-05 HALF UNION
ハーフユニオン
(6)
76 SM-6034002-TN SCREW M3 L=40
六角穴ボルト M3 L=40
(2)
77 BT-0600400-EC URETHANE TUBE BLUE 6X4
ポリウレタン チューブ 青 6X4
(2)
78 PJ-3080600-03 UNION Y
ユニオンワイ
(3)
79 401-37652 HEAD_UP_SV_ASM
ヘッドアップ電磁弁組
1
80 401-13704 NOZZLE UP SV ASM
ノズルアップケーブル組
(1)
81 401-36495 NOZZLE UP SV RELAY CABLE ASM
ノズルアップSV中継ケーブル組
(1)
82 PJ-3040405-04 UNION
ユニオン
(2)
83 PX-0505010-00 SILENCER
消音器
(2)
84 400-46535 CHECK VALVE
チェックバルブ
(1)
85 WP-0320501-SC WASHER M3
平座金 M3
2

- 45 -
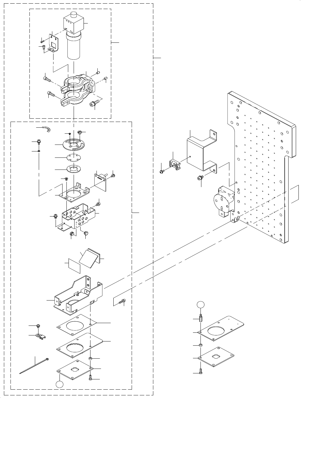
23.OCC COMPONENTS
OCC 関係
43
42
41
40
4
4
5
3
7
8
9
10
6
6
13
14
15
15
16
17
18
19
20
21
22
23
24
25
26
27
28
29
30
30
31
32
33
34
35
36
37
38
11
1
A
48
45
44
46
47
12
2
A
39

- 46 -
NOTE( 注記 ) #01....FOR OFFSET PLACEMENT AFTER はんだ印刷認識搭載位置補正
SOLDER SCREEN-PRINTING(OPTION) (オプション)用
REF.NO NOTE PART NO D E S C R I P T I O N
品 名
Qty
1 401-37648 OCC_LEFT_ASM
OCC左組
1
2 401-37649 OCC_LENS_ASM
OCCレンズ組
(1)
3 400-46839 OCC_LENS_BRACKET
OCCレンズブラケット
(1)
4 PH-0400062-C0 PARALLEL PIN TYPE B 4X6
平行ピン B種 4X6
(2)
5 SL-6051692-TN SCREW M5 L=16
座金付き六角穴ボルト M5 L=16
(2)
6 SM-6041202-TN SCREW M4X0.7 L=12
六角穴ボルト M4X0.7 L=12
(2)
7 400-46805 CCD_BRACKET
CCDブラケット
(1)
8 SM-6030602-TN SCREW M3X6
六角穴ボルト M3X6
(1)
9 SM-6020302-UZ SCREW M2 L=3
六角穴ボルト M2 L=3
(2)
10 400-47573 CAMERA LENS ASSY
カメラ レンズ組
(1)
11 401-37650 OCC_LIGHT_ASM
OCCライト組
(1)
12 401-36791 OCC_PCB_COV
OCC_基板カバー
(1)
13 SL-6031292-TN SCREW M3 L=12
座金付き六角穴ボルト M3 L=12
(4)
14 401-36792 MIRROR_BOX
ミラーボックス
(1)
15 118-04606 RUBBER PLUG
布台防振ゴム
(10)
16 E1143-721-000 WOOLEN CLOTH PAPER
搬送カバーラシャペーパ(CE)
(1)
17 400-14037 BEAM SPRITTER
ビームスプリッタ
(1)
18 400-43895 LIGHT DIFFUSER
ライトディフューザ
(1)
19 400-13944 ROTARY BASE
ロータリーベース
(1)
20 SM-1030501-SC SCREW M3 L=5
皿小ねじ M3 L=5
(3)
21 400-13949 LIGHT FILTER U SUPPORT
ライトフィルタUサポート
(1)
22 400-43896 LENS FILTER
レンズフィルター
(1)
23 400-13948 GUIDE PLATE
ガイドプレート
(1)
24 SM-1020301-SN SCREW
ねじ
(4)
25 E1038-871-000 PLATEN LOCK CAM SCREW
プラテン ロックカム スクリュウ
(2)
26 400-15847 OCC COLLAR
OCCカラー
(1)
27 SL-6030892-TN SCREW M3 L=8
座金付き六角穴ボルト M3 L=8
(1)
28 400-47512 OCC C LIGHT PCB ASM
OCC Cライト基板組
(1)
29 SL-4030691-SC SCREW M3 L=6
座金付きなべ小ねじ M3 L=6
(2)
30 SL-6030692-TN SCREW M3 L=6
座金付き六角穴ボルト M3 L=6
(3)
31 400-15962 OCC LABEL
OCCラベル
(1)
32 400-47508 OCC A LIGHT PCB ASM
OCC Aライト基板組
(1)
33 400-14043 PRISM BASE
プリズムベース
(1)
34 401-37027 OCC_PCB_SHEET
OCC基板シート
(1)
35 HX-0033500-0G SPACER
スペーサ
(4)
36 400-32433 LOW HEAD SCREW M3_10
低頭六角穴付きボルト
(4)
37 HX-0034400-00 FIXED BASE
束線パーツ
(1)
38 SL-6030692-TN SCREW M3 L=6
座金付き六角穴ボルト M3 L=6
(1)
39 EA-9500B01-00 CABLE BAND
束線バンド
(1)
40 401-38411 OCC_CABLE_SUPPORT
OCCケーブルサポート
1
41 SL-6040892-TN SCREW M4 L=8
座金付き六角穴ボルト M4 L=8
2
42 HX-0045400-00 TIE MOUNT
タイマウント
1
43 SL-4030891-SC SCREW M3 L=8
座金付きなべ小ねじ M3 L=8
1
44
#01
401-37025 STUD
スタッド
4
45
#01
400-14043 PRISM BASE
プリズムベース
1
46
#01
HX-0033500-0G SPACER
スペーサ
4
47
#01
400-32433 LOW HEAD SCREW M3_10
低頭六角穴付きボルト
4
48
#01
400-47508 OCC A LIGHT PCB ASM
OCC Aライト基板組
1