QE64C-E-MPA-57.pdf - 第73页
Ref No. Remarks R 1 Q'ty 8-B 一括交換台車対応 ユ ニ ット Feeder Cart Support Unit イラスト No. Part No. 品 名 品番 数量 R 2 パー ツ リ スト Kit No. キ ット 品番 Kit Name キ ット 名称 N610035748AA Part Name 備 考 セクション No . PARTS LIST Section No. R 3 CHUTE…

8-B
一括交換台車対応
ユニット
Feeder Cart Support Unit
パーツレイアウト
Kit No.
キット
品番
Kit Name
キット
名称
N610035748AA
セクション
No
.
PARTS LAYOUT
Section No.
-
-
M51
( KN610035748AA-02-2 )

Ref
No.
Remarks
R
1
Q'ty
8-B
一括交換台車対応
ユニット
Feeder Cart Support Unit
イラスト
No.
Part No.
品 名品番 数量
R
2
パーツリスト
Kit No.
キット
品番
Kit Name
キット名称
N610035748AA
Part Name
備 考
セクション
No
.
PARTS LIST
Section No.
R
3
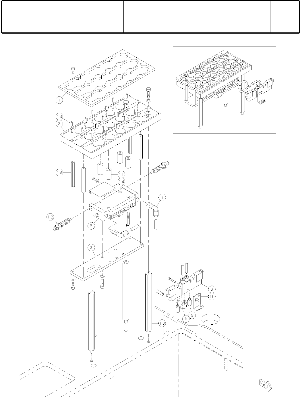
CHUTE
1
1 N210008014AB
COVER
1
2 N210028740AA
S
COVER
1
3 N210028741AA
S
GROMMET
1
4 KXF0DUNAA00 C-30-SG-70A
BUSH
1
5 KXF0DUDAA00 CE-012
BUSH
2
6 KXF0DUDAA00 CE-012
M52
-
-
( KN610035748AA-02-2 )

9
ノズルチェンジャ
(
多機能
ヘッド
)
Nozzle Changer (Multi-Functional heads)
パーツレイアウト
Kit No.
キット
品番
Kit Name
キット
名称
KXFX036XA00
セクション
No
.
PARTS LAYOUT
Section No.
-
-
M53
( KKXFX036XA00-04 )