帶式送料器-使用說明書.pdf - 第66页
0601-003 5-3 5. 5. 5. 5. 5. 片状元件的吸取位置对齐 片状元件的吸取位置对齐 片状元件的吸取位置对齐 片状元件的吸取位置对齐 片状元件的吸取位置对齐 8 8 8 8 8 、 、 、 、 、 1 2 1 2 1 2 1 2 1 2 、 、 、 、 、 1 6mm 1 6mm 1 6mm 1 6mm 1 6mm 间距时的吸取位置 间距时的吸取位置 间距时的吸取位置 间距时的吸取位置 间距时的吸取位置 Fig.5-4…

0601-004 5-2
5. 5.
5. 5.
5.
片状元件的吸取位置对齐片状元件的吸取位置对齐
片状元件的吸取位置对齐片状元件的吸取位置对齐
片状元件的吸取位置对齐
Fig.5-2 GT-08080Fig.5-2 GT-08080
Fig.5-2 GT-08080Fig.5-2 GT-08080
Fig.5-2 GT-08080
、、
、、
、
GD-08080GD-08080
GD-08080GD-08080
GD-08080
的吸取位置的吸取位置
的吸取位置的吸取位置
的吸取位置
Fig.5-3-1 GT-08081Fig.5-3-1 GT-08081
Fig.5-3-1 GT-08081Fig.5-3-1 GT-08081
Fig.5-3-1 GT-08081
、、
、、
、
GD-08081GD-08081
GD-08081GD-08081
GD-08081
的吸取位置的吸取位置
的吸取位置的吸取位置
的吸取位置
Fig.5-3-2 GT-08082Fig.5-3-2 GT-08082
Fig.5-3-2 GT-08082Fig.5-3-2 GT-08082
Fig.5-3-2 GT-08082
、、
、、
、
GD-08082GD-08082
GD-08082GD-08082
GD-08082
的吸取位置的吸取位置
的吸取位置的吸取位置
的吸取位置
2mm2mm
2mm2mm
2mm
间距时的吸取位置间距时的吸取位置
间距时的吸取位置间距时的吸取位置
间距时的吸取位置
4mm(4mm(
4mm(4mm(
4mm(
压纹带压纹带
压纹带压纹带
压纹带
))
))
)
间距时的吸取位置间距时的吸取位置
间距时的吸取位置间距时的吸取位置
间距时的吸取位置
传送方向传送方向
传送方向传送方向
传送方向
吸取位置吸取位置
吸取位置吸取位置
吸取位置
传送方向传送方向
传送方向传送方向
传送方向
吸取位置吸取位置
吸取位置吸取位置
吸取位置
传送方向传送方向
传送方向传送方向
传送方向

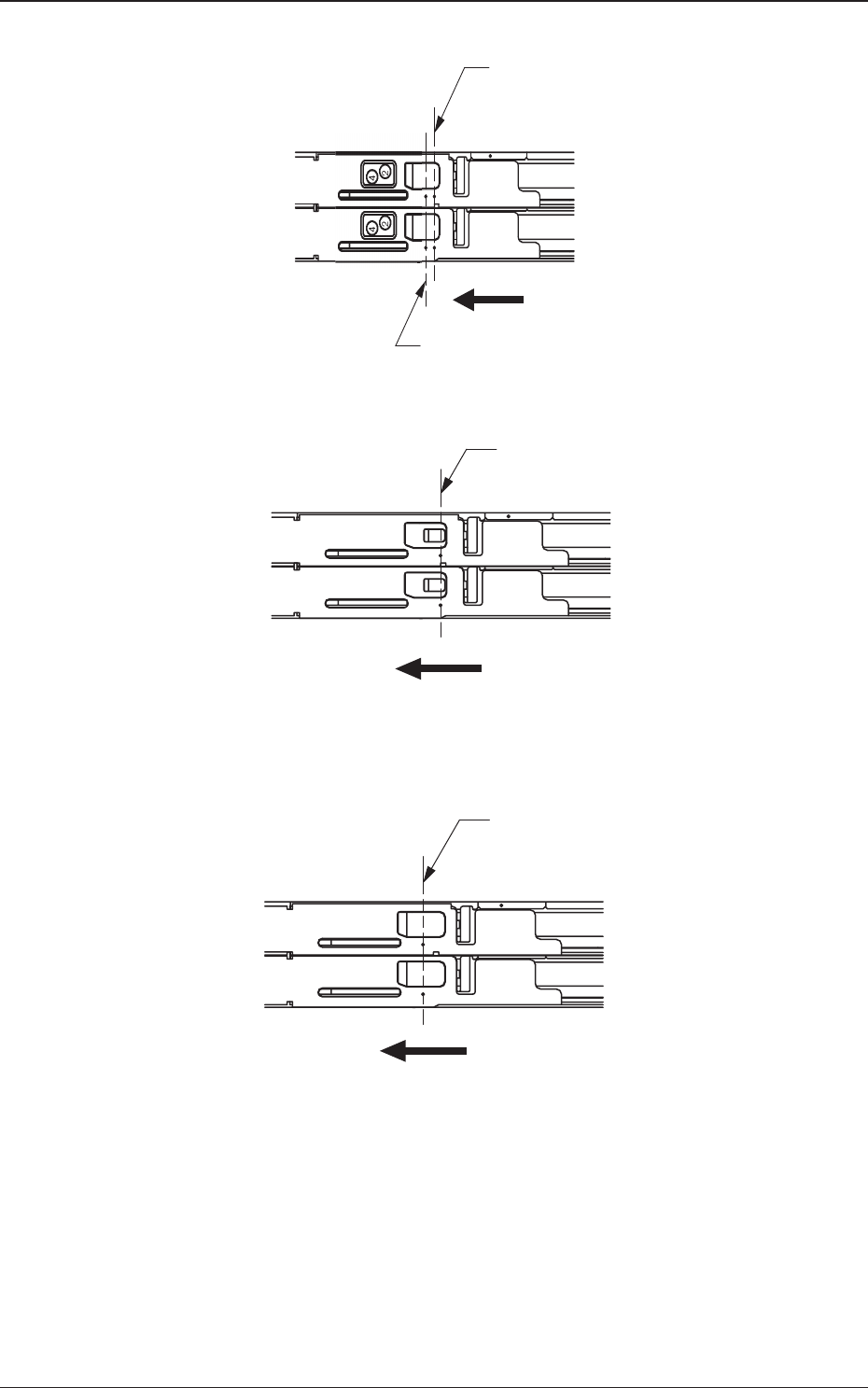
0601-003 5-3
5. 5.
5. 5.
5.
片状元件的吸取位置对齐片状元件的吸取位置对齐
片状元件的吸取位置对齐片状元件的吸取位置对齐
片状元件的吸取位置对齐
88
88
8
、、
、、
、
1212
1212
12
、、
、、
、
16mm16mm
16mm16mm
16mm
间距时的吸取位置间距时的吸取位置
间距时的吸取位置间距时的吸取位置
间距时的吸取位置
Fig.5-4 GT-1 2 1 60Fig.5-4 GT-1 2 1 60
Fig.5-4 GT-1 2 1 60Fig.5-4 GT-1 2 1 60
Fig.5-4 GT-1 2 1 60
、、
、、
、
GD-1 2 1 60GD-1 2 1 60
GD-1 2 1 60GD-1 2 1 60
GD-1 2 1 60
的吸取位置的吸取位置
的吸取位置的吸取位置
的吸取位置
4mm4mm
4mm4mm
4mm
间距时的吸取位置间距时的吸取位置
间距时的吸取位置间距时的吸取位置
间距时的吸取位置
44
44
4
、、
、、
、
8mm8mm
8mm8mm
8mm
间距时的吸取位置间距时的吸取位置
间距时的吸取位置间距时的吸取位置
间距时的吸取位置
传送方向传送方向
传送方向传送方向
传送方向
1212
1212
12
、、
、、
、
1616
1616
16
、、
、、
、
24mm24mm
24mm24mm
24mm
间距时的吸取位置间距时的吸取位置
间距时的吸取位置间距时的吸取位置
间距时的吸取位置
Fig.5-5 GT-24320Fig.5-5 GT-24320
Fig.5-5 GT-24320Fig.5-5 GT-24320
Fig.5-5 GT-24320
、、
、、
、
GD-24320GD-24320
GD-24320GD-24320
GD-24320
的吸取位置的吸取位置
的吸取位置的吸取位置
的吸取位置
传送方向传送方向
传送方向传送方向
传送方向

5. 5.
5. 5.
5.
片状元件的吸取位置对齐片状元件的吸取位置对齐
片状元件的吸取位置对齐片状元件的吸取位置对齐
片状元件的吸取位置对齐
Fig.5-6 GT-44560Fig.5-6 GT-44560
Fig.5-6 GT-44560Fig.5-6 GT-44560
Fig.5-6 GT-44560
、、
、、
、
GD-44560GD-44560
GD-44560GD-44560
GD-44560
、、
、、
、
GT-72000GT-72000
GT-72000GT-72000
GT-72000
的吸取位置的吸取位置
的吸取位置的吸取位置
的吸取位置
在 GT-12160、GD-12160 中使用 16mm 宽、在 GT-24320、
GD-24320 中使用 32mm 宽的料带时,需要拆卸附属的料带引导槽
和辅助抑制器。
另外,在 GT-44560、GD-44560 中使用 56mm 宽的料带时,需要拆
卸辅助抑制器和防止元件掉落盖以及移动料带引导槽。
详细内容请参照 “2.4 料带引导槽和辅助抑制器 ” 章节。
Reference
Note
0601-002 5-4
1212
1212
12
、、
、、
、
1616
1616
16
、、
、、
、
2020
2020
20
、、
、、
、
24mm24mm
24mm24mm
24mm
间距时的间距时的
间距时的间距时的
间距时的
吸取位置吸取位置
吸取位置吸取位置
吸取位置
2828
2828
28
、、
、、
、
3232
3232
32
、、
、、
、
3636
3636
36
、、
、、
、
40mm40mm
40mm40mm
40mm
间距时的间距时的
间距时的间距时的
间距时的
吸取位置吸取位置
吸取位置吸取位置
吸取位置
传送方向传送方向
传送方向传送方向
传送方向
44
44
4
、、
、、
、
8mm8mm
8mm8mm
8mm
间距时的吸取位置间距时的吸取位置
间距时的吸取位置间距时的吸取位置
间距时的吸取位置
仅仅
仅仅
仅
GT-44560GT-44560
GT-44560GT-44560
GT-44560
、、
、、
、
GD-44560GD-44560
GD-44560GD-44560
GD-44560
附属附属
附属附属
附属
辅助抑制器辅助抑制器
辅助抑制器辅助抑制器
辅助抑制器