帶式送料器-使用說明書.pdf - 第67页
5. 5. 5. 5. 5. 片状元件的吸取位置对齐 片状元件的吸取位置对齐 片状元件的吸取位置对齐 片状元件的吸取位置对齐 片状元件的吸取位置对齐 Fig.5-6 GT-44560 Fig.5-6 GT-44560 Fig.5-6 GT-44560 Fig.5-6 GT-44560 Fig.5-6 GT-44560 、 、 、 、 、 GD-44560 GD-44560 GD-44560 GD-44560 GD-44560 、 、 、…

0601-003 5-3
5. 5.
5. 5.
5.
片状元件的吸取位置对齐片状元件的吸取位置对齐
片状元件的吸取位置对齐片状元件的吸取位置对齐
片状元件的吸取位置对齐
88
88
8
、、
、、
、
1212
1212
12
、、
、、
、
16mm16mm
16mm16mm
16mm
间距时的吸取位置间距时的吸取位置
间距时的吸取位置间距时的吸取位置
间距时的吸取位置
Fig.5-4 GT-1 2 1 60Fig.5-4 GT-1 2 1 60
Fig.5-4 GT-1 2 1 60Fig.5-4 GT-1 2 1 60
Fig.5-4 GT-1 2 1 60
、、
、、
、
GD-1 2 1 60GD-1 2 1 60
GD-1 2 1 60GD-1 2 1 60
GD-1 2 1 60
的吸取位置的吸取位置
的吸取位置的吸取位置
的吸取位置
4mm4mm
4mm4mm
4mm
间距时的吸取位置间距时的吸取位置
间距时的吸取位置间距时的吸取位置
间距时的吸取位置
44
44
4
、、
、、
、
8mm8mm
8mm8mm
8mm
间距时的吸取位置间距时的吸取位置
间距时的吸取位置间距时的吸取位置
间距时的吸取位置
传送方向传送方向
传送方向传送方向
传送方向
1212
1212
12
、、
、、
、
1616
1616
16
、、
、、
、
24mm24mm
24mm24mm
24mm
间距时的吸取位置间距时的吸取位置
间距时的吸取位置间距时的吸取位置
间距时的吸取位置
Fig.5-5 GT-24320Fig.5-5 GT-24320
Fig.5-5 GT-24320Fig.5-5 GT-24320
Fig.5-5 GT-24320
、、
、、
、
GD-24320GD-24320
GD-24320GD-24320
GD-24320
的吸取位置的吸取位置
的吸取位置的吸取位置
的吸取位置
传送方向传送方向
传送方向传送方向
传送方向

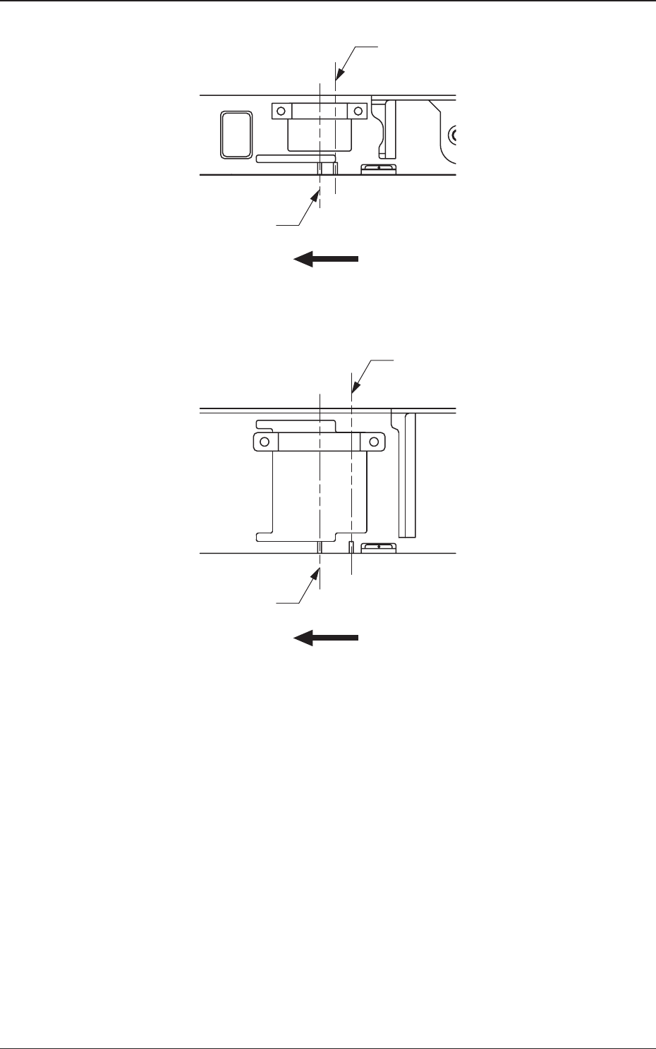
5. 5.
5. 5.
5.
片状元件的吸取位置对齐片状元件的吸取位置对齐
片状元件的吸取位置对齐片状元件的吸取位置对齐
片状元件的吸取位置对齐
Fig.5-6 GT-44560Fig.5-6 GT-44560
Fig.5-6 GT-44560Fig.5-6 GT-44560
Fig.5-6 GT-44560
、、
、、
、
GD-44560GD-44560
GD-44560GD-44560
GD-44560
、、
、、
、
GT-72000GT-72000
GT-72000GT-72000
GT-72000
的吸取位置的吸取位置
的吸取位置的吸取位置
的吸取位置
在 GT-12160、GD-12160 中使用 16mm 宽、在 GT-24320、
GD-24320 中使用 32mm 宽的料带时,需要拆卸附属的料带引导槽
和辅助抑制器。
另外,在 GT-44560、GD-44560 中使用 56mm 宽的料带时,需要拆
卸辅助抑制器和防止元件掉落盖以及移动料带引导槽。
详细内容请参照 “2.4 料带引导槽和辅助抑制器 ” 章节。
Reference
Note
0601-002 5-4
1212
1212
12
、、
、、
、
1616
1616
16
、、
、、
、
2020
2020
20
、、
、、
、
24mm24mm
24mm24mm
24mm
间距时的间距时的
间距时的间距时的
间距时的
吸取位置吸取位置
吸取位置吸取位置
吸取位置
2828
2828
28
、、
、、
、
3232
3232
32
、、
、、
、
3636
3636
36
、、
、、
、
40mm40mm
40mm40mm
40mm
间距时的间距时的
间距时的间距时的
间距时的
吸取位置吸取位置
吸取位置吸取位置
吸取位置
传送方向传送方向
传送方向传送方向
传送方向
44
44
4
、、
、、
、
8mm8mm
8mm8mm
8mm
间距时的吸取位置间距时的吸取位置
间距时的吸取位置间距时的吸取位置
间距时的吸取位置
仅仅
仅仅
仅
GT-44560GT-44560
GT-44560GT-44560
GT-44560
、、
、、
、
GD-44560GD-44560
GD-44560GD-44560
GD-44560
附属附属
附属附属
附属
辅助抑制器辅助抑制器
辅助抑制器辅助抑制器
辅助抑制器

6.6.
6.6.
6.
定期维护保养定期维护保养
定期维护保养定期维护保养
定期维护保养
6.16.1
6.16.1
6.1
维护保养前的注意事项维护保养前的注意事项
维护保养前的注意事项维护保养前的注意事项
维护保养前的注意事项
为了能在良好的状态下运行带式送料器,对点检、清扫、调整等
说明的项目。
请确实定期实施带式送料器的维护保养。
0601-004 6-1
6. 6.
6. 6.
6.
定期维护保养定期维护保养
定期维护保养定期维护保养
定期维护保养
注意注意
注意注意
注意
请由受过正规训练的人员按规定的步骤慎重进行维请由受过正规训练的人员按规定的步骤慎重进行维
请由受过正规训练的人员按规定的步骤慎重进行维请由受过正规训练的人员按规定的步骤慎重进行维
请由受过正规训练的人员按规定的步骤慎重进行维
护保养工作。护保养工作。
护保养工作。护保养工作。
护保养工作。