BM221 Parts list(Mechanical20140224).pdf - 第71页
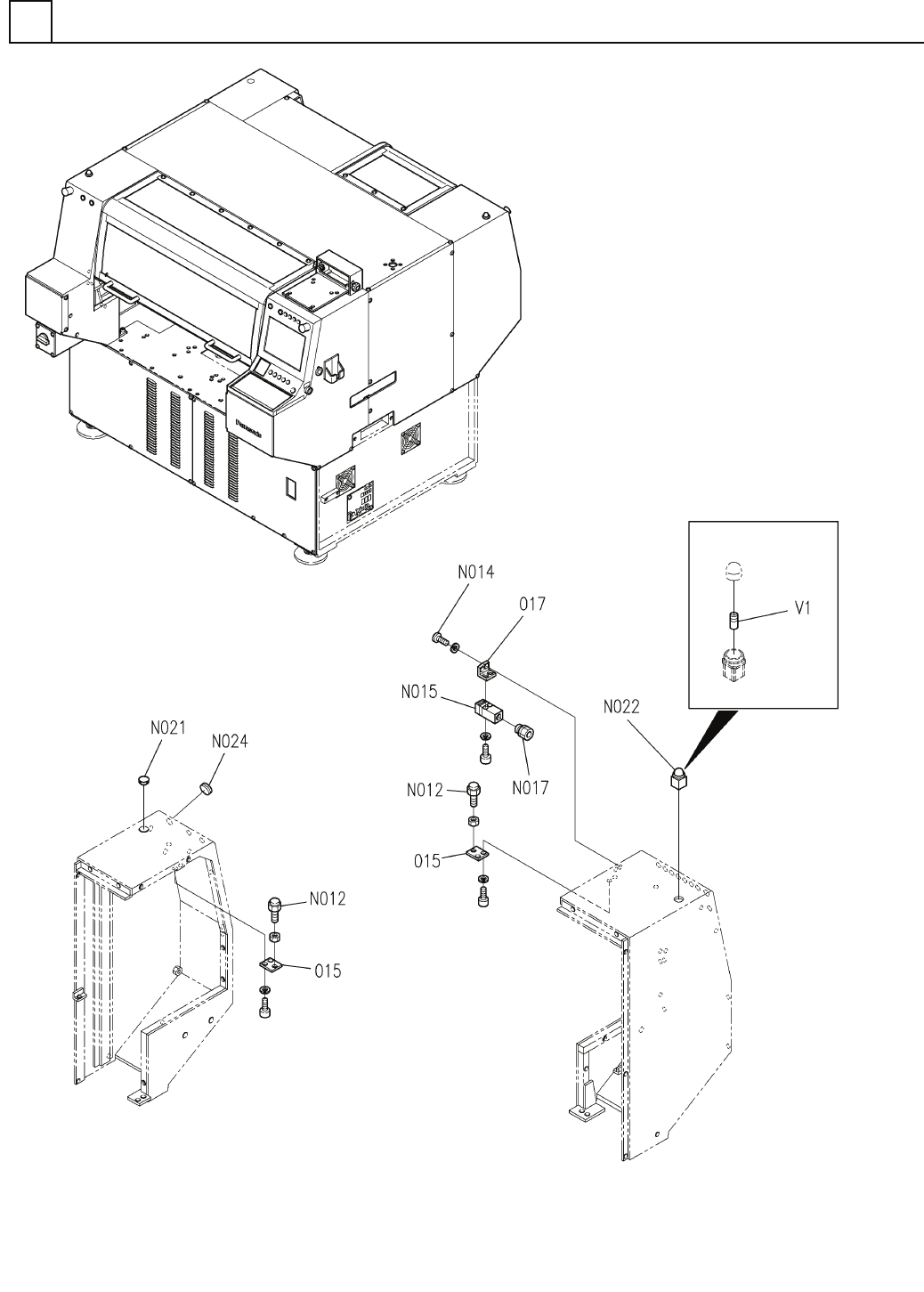
PART No. イラスト No. REF No. PART NAME REMARKS Q'TY 2 カバー部 (アンローダカハ ゙ー部) COVER S ECT.(UNLOADER COVER SECT.) 部 品 名 品 番 個数 備 考 R 1 R 2 1 003 N210078209AB COVER カハ ゙ー 1 004 N210078210AA COVER カバー JB-A M5X 8 + 2 N001 N5…

カバー部(アンローダカバー部)
COVER SECT.(UNLOADER COVER SECT.)
2
FN610063064AA_02-2
M39

PART No.
イラスト
No.
REF
No.
PART NAME
REMARKS
Q'TY
2
カバー部(アンローダカバー部)
COVER SECT.(UNLOADER COVER SECT.)
部 品 名 品 番 個数
備 考
R
1
R
2
1003 N210078209AB
COVER カハ
゙ー
1
004 N210078210AA
COVER カバー
JB-A M5X8 +
2
N001
N510038044AA
BOLT ボルト
M5X12
2
N002
N986YYYY-814
CAP キャッフ
゚
5 External toothed St
2
N003
N510018765AA
TOOTHED LOCK WASHER ハツキサ
゙ガネ
M40
FN610063064AA_02-2

カバー部(ツイントレイ1)
COVER SECT.(TWIN TRAY-1)
2
FN610063838AA_09-1
M41