BM221 Parts list(Mechanical20140224).pdf - 第83页
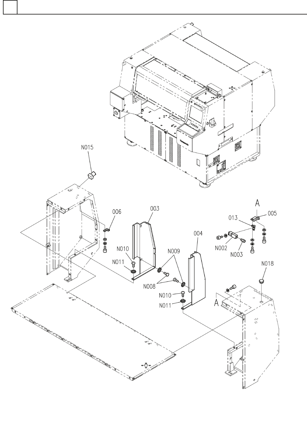
PART No. イラスト No. REF No. PART NAME REMARKS Q'TY 2 カバー部 (2)タイプB ,D COVER S ECT.(2)TYPE-B, D 部 品 名 品 番 個数 備 考 R 1 R 2 1 003 N210082846AA COVER カハ ゙ー 1 004 N210082847AA COVER カバー 1 005 N210082848AA BRACKE T ブラケット …

カバー部(2)タイプB,D
COVER SECT.(2)TYPE-B,D
2
FN610065193AA_07-2
M51

PART No.
イラスト
No.
REF
No.
PART NAME
REMARKS
Q'TY
2
カバー部(2)タイプB,D
COVER SECT.(2)TYPE-B,D
部 品 名 品 番 個数
備 考
R
1
R
2
1003 N210082846AA
COVER カハ
゙ー
1
004 N210082847AA
COVER カバー
1
005 N210082848AA
BRACKET ブラケット
1006 N210080692AA
BRACKET フ
゙ラケット
S
1013 N210080700AA
BRACKET ブラケット
D4NS-1DF S
1
N002
N510002755AA
SWITCH スイッチ
53015030-WM
1
N003
KXF06F4AA00
JOINT ジョイント
M5X8-4.8 A2J (Trivale
2
N008
N510018302AA
TRUSS HEAD SCREW トラスコネシ
゙
5 External toothed St
2
N009
N510018765AA
TOOTHED LOCK WASHER ハツキサ
゙ガネ
M4X8-4.8 A2J (Trivale
6
N010
N510018282AA
TRUSS HEAD SCREW トラスコネジ
4 External toothed St
6
N011
N510018762AA
TOOTHED LOCK WASHER ハツキザガネ
M22-PV/K02 S
1
N015
KXFP6FMNA00
SWITCH スイッチ
CP-30-HP-14
1
N018
N510032743AA
GROMMET グロメット
M52
FN610065193AA_07-2

カバー部(3)タイプB,D
COVER SECT.(3)TYPE-B,D
2
FN610065193AA_07-3
M53