P-0241-011.pdf - 第11页
1012-009 9 Key No. P AR T No. P AR T NAME Q’ty REMARKS New Code NOTE W -1 1 6301266060 FRAME 1 1 1 1 804W--1 10-001 210B3639 2 6301526775 BLOCK(KIBAN) 1 1 1 1 804W--1 10-002 21 1G5053 3 6301289793 COVER(LA) 1 1 1 1 804W-…

0710-007
8
テープフィーダ
TAPE FEEDER
GT-08080, 08081, 08082, 08083 GT-08080, 08081, 08082, 08083
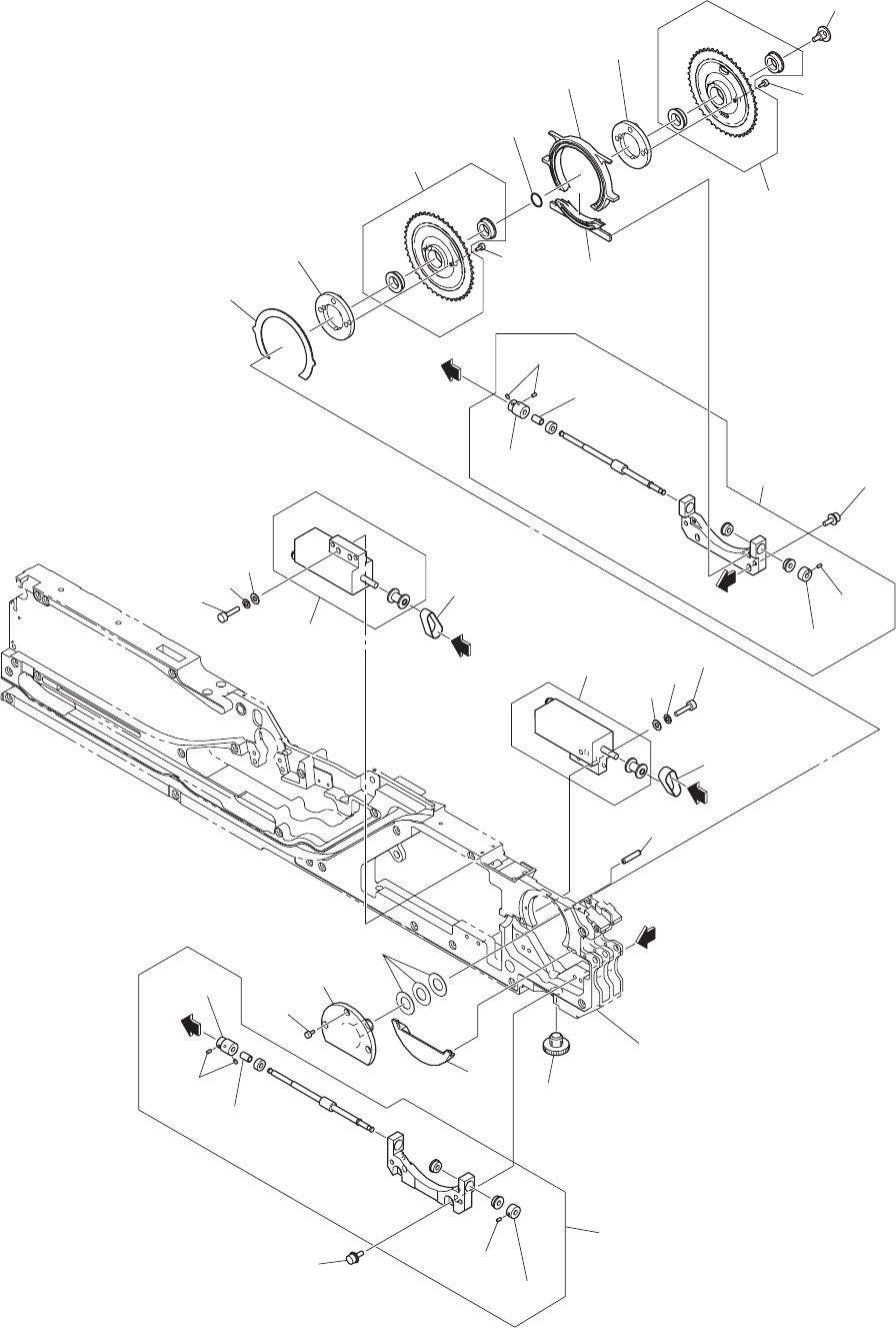
Fig. W-1
フレーム部
Frame Section
28
49
49
49
49
28
28
48
44
42
34
26
33
38
2
13
12
30
41
46
46
47
43
14
10
1
1
19
28
27
1
29
9
5
20
20
3
21
7
6
23
4
24
23
25
28
28
28
21
28
28
8
38
See Fig.W-5
Key No.405
See Fig.W
-6
Key No.505
.
.
41
43
31
.
.
28
26
68
70
69
74

1012-009
9
Key No. PART No. PART NAME Q’ty REMARKS New Code
NOTE
W-1
1 6301266060 FRAME 1 1 1 1 804W--110-001 210B3639
2 6301526775 BLOCK(KIBAN) 1 1 1
1 804W--110-002 211G5053
3 6301289793 COVER(LA) 1 1 1
1 804W--110-003 211A8859
4 6301495842 COVER(LB) 1 1 1
1 804W--110-004 211AB154
5 6301265681 COVER(RA) 1 1 1
1 804W--110-005 211A8621
6 6301495859 COVER(RB) 1 1 1
1 804W--110-006 211AB155
7 6301265704 COVER(RC) 1 1 1
1 804W--110-007 211A8623
8 6301468969 COVER(KIBAN) 1 1 1
1 804W--110-008 211AA872
9 6301366463 SLIDE(BASE) 1 1 1
1 804W--110-009 212C0385
10 6301266084 ASSY,LEVER(KAIJYO) 1 1 1
1 804W--110-010 016S0689
11 6301265827 PIN,HINGE 1 1 1
1 804W--110-011 216D0448
12 6301265834 ROLLER 1 1 1
1 804W--110-012 213C0206
13 6301265841 PIN,GUIDE(ROLLER) 1 1 1
1 804W--110-013 216F0879
14 6301646121 SPRING,TORSION 1 1 1
1 804W--110-0141 222P0207
19 6301265735 COVER(HAISEN) 1 1 1
1 804W--110-019 211A8626
20 6301265926 PIN,LOCATE(TAPE) 4 4 4
4 804W--110-020 216E1484
21 6301265933 GUIDE(TAPE) 3 3 3
3 804W--110-021 212A2058
23 6301265742 COVER(FUTA) 2 2 2
2 804W--110-023 211A8627
24 6301287577 MECH PARTS(MAGNET) 2 2 2
2 804W--110-024 226J1958
25 6301265902 MECH PARTS(CUTTER) 1 1 1
1 804W--110-025 226J1909
26 6301274546 SCR PAN+SW+W 3X6 2 2 2
2 804W--110-026 221D0262
27 6300347906 MECH PARTS(RUBBER LEGS) 1 1 1 1 804W--110-027 226J0249
28 4110335700 SCR FLT 2.5X6 44 44 44
44 804W--110-028 221D0261
29 6300008494 BOLT,HEX-SCT 1 1 1
1 804W--110-029 221A0104
30 6300007633 BOLT,HEX-SCT 2 2 2
2 804W--110-030 221A0018
31 6300007640 BOLT,HEX-SCT 2 2 2
2 804W--110-031 221A0019
33 4111407208 SCR FLT 4X6 1 1 1
1 804W--110-033 221D0224
34 4111255403 SCR PAN 2X4 1 1 1
1 804W--110-034 221E0482
38 4110010003 RING E 4 2 2 2
2 804W--110-038 221K0097
41 4111412905 WASHER SPR 4 4 4 4
4 804W--110-041 221H0284
42 4111412509 WASHER SPR 2 1 1 1
1 804W--110-042 221H0276
43 4111414008 WASHER V 4X9X0.8 4 4 4
4 804W--110-043 221H0315
44 4111413605 WASHER V 2X5X0.3 1 1 1
1 804W--110-044 221H0307
46 0804000G NAME PLATE,NOTICE 2 2 2
2 804W--110-046 0804000G
47 0804000F NAME PLATE,INDEX 1 1 1
1 804W--110-047 0804000F
48 6301280080 MECH PARTS(POLYESTERTAPE) 1 1 1 1 804W--110-048 226J1938
49 6301633961 MECH PARTS(SEAL) 4 4 4
4 804W--110-049 226J2477
68 0804000M MECH PARTS 1 1 1
1 804W--110-068 0804000M
69 6301330280 SPRING PIN 1 1 1
1 804W--110-069 221J0061
70 6301259970 SPRING PIN 1 1 1
1 804W--110-070 221J0059
74 08040000 NAME PLATE,INDEX 1 1 1
1 804W--110-074 08040000
GT-08080
GT-08081
GT-08082
GT-08083

0710-004
10
テープフィーダ
TAPE FEEDER
GT-08080, 08081, 08082, 08083 GT-08080, 08081, 08082, 08083
Fig. W-2
テープ駆動部
Tape Driving Section
A
A
B
B
C
C
112
102-04
113
102-08
106
123
124
102-03
102-08
103
110
109
101-08
101-04
101-08
101-07
101-03
124
107
127
102-07
127
129
130
129
130
121
121
122
103
111
124
108
126
129
130
See Fig.W
-1
Key No.1
.
.
126
129
130
.
.
104
105
101
139
139
102