P-0241-011.pdf - 第69页
1012-006 67 Key No. P AR T No. P AR T NAME Q’ty REMARKS New Code NOTE Q-5 404 6301614823 P .C.B,MOUNT 1 804Q--010-504 4B1 1 1599 405 6301274836 LINK(KAIJYO) 1 804Q--010-015 214B0218 406 6301265872 LEVER(GRIP) 1 804Q--010…

0406-001
66
テープフィーダ
TAPE FEEDER
GT-44560 GT-44560
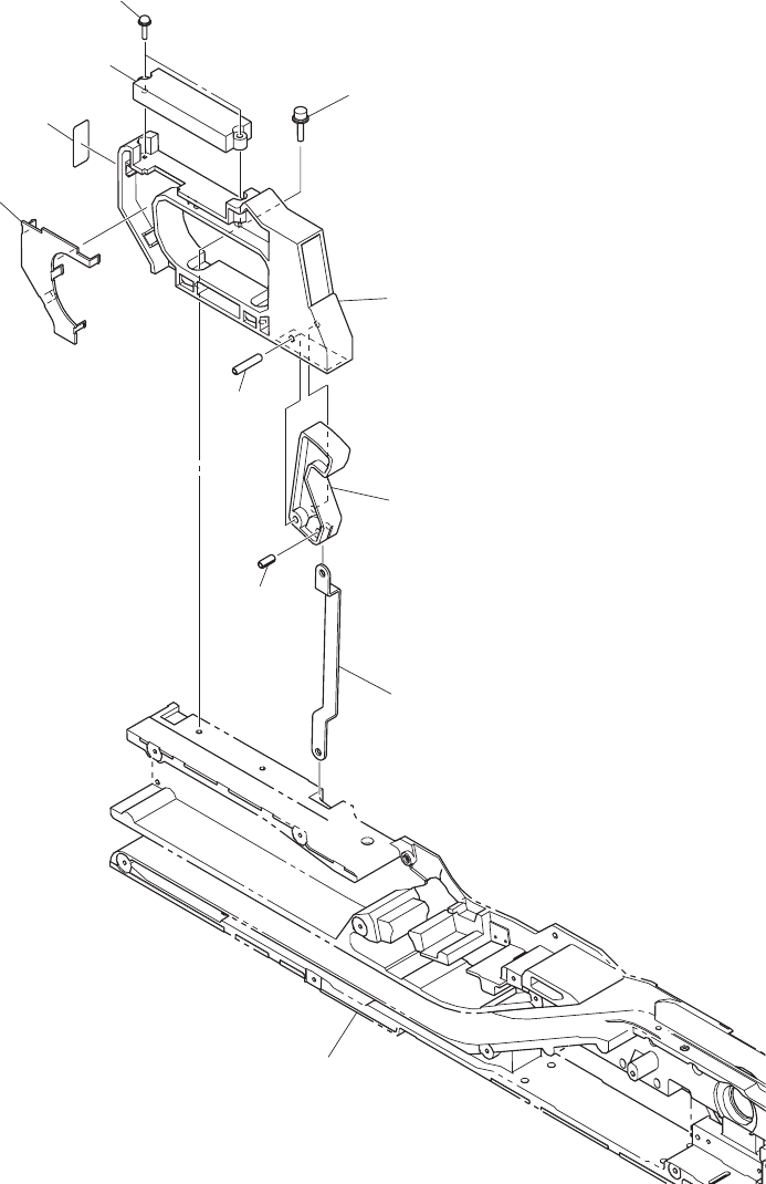
Fig. Q-5
操作パネル部
Operation Panel Section
431
405
438
436
404
407
408
406
439
440
442
445
See Fig.Q-1
Key No.1
.
.

1012-006
67
Key No. PART No. PART NAME Q’ty REMARKS New Code
NOTE
Q-5
404 6301614823 P.C.B,MOUNT 1 804Q--010-504 4B111599
405 6301274836 LINK(KAIJYO) 1
804Q--010-015 214B0218
406 6301265872 LEVER(GRIP) 1
804Q--010-016 216S2642
407 6301265919 GRIP 1
804Q--010-017 226D0108
408 6301265728 COVER(GRIP) 1
804Q--010-018 211A8625
431 6300007657 BOLT,HEX-SCT 2
804Q--010-031 221A0020
436 4111151507 SCR TPG PAN 3X12 2
804Q--010-036 221N0005
438 6300010336 SPRING PIN 1
804Q--010-038 221J0007
439 6301180038 SPRING PIN 1
804Q--010-039 221J0058
440 4111412905 WASHER SPR 4 2
804Q--110-040 221H0284
442 4111414008 WASHER V 4X9X0.8 2
804Q--110-042 221H0315
445 08040008 NAME PLATE,INDEX 1
804Q--110-045 08040008
GT-44560

0710-003
68
テープフィーダ
TAPE FEEDER
GT-44560 GT-44560
Fig. Q-6
モーターコントロール基板
Motor Control P.C.B.
506
See Fig.Q-3
Key No.257
508
See Fig.Q-2
Key No.149
See Fig.Q-3
Key No.221
See Fig.Q-5
Key No.404
516
516
516
501
505
502
503
See Fig.Q-1
Key No.2
VIEW "A"
A