NPM-W2S 20161226.pdf - 第423页
Ref No. Remarks R 1 Q'ty 68-D 12ノズルヘ ッド:N PM 12 NOZZLE HEAD:NPM イラスト No. Part No. 品 名 品 番 数量 R 2 パーツリスト Kit No. キット品番 Kit Name キット名称 N610157741AA Part Nam e 備 考 セク ショ ンNo . PARTS LIST Section No. R 3 BRACKET 1 1 N21…

68-D
12ノズルヘッド:NPM
12 NOZZLE HEAD:NPM
パーツレイアウト
Kit No.
キット品番
Kit Name
キット名称
N610157741AA
セクションNo.
PARTS LAYOUT
Section No.
--
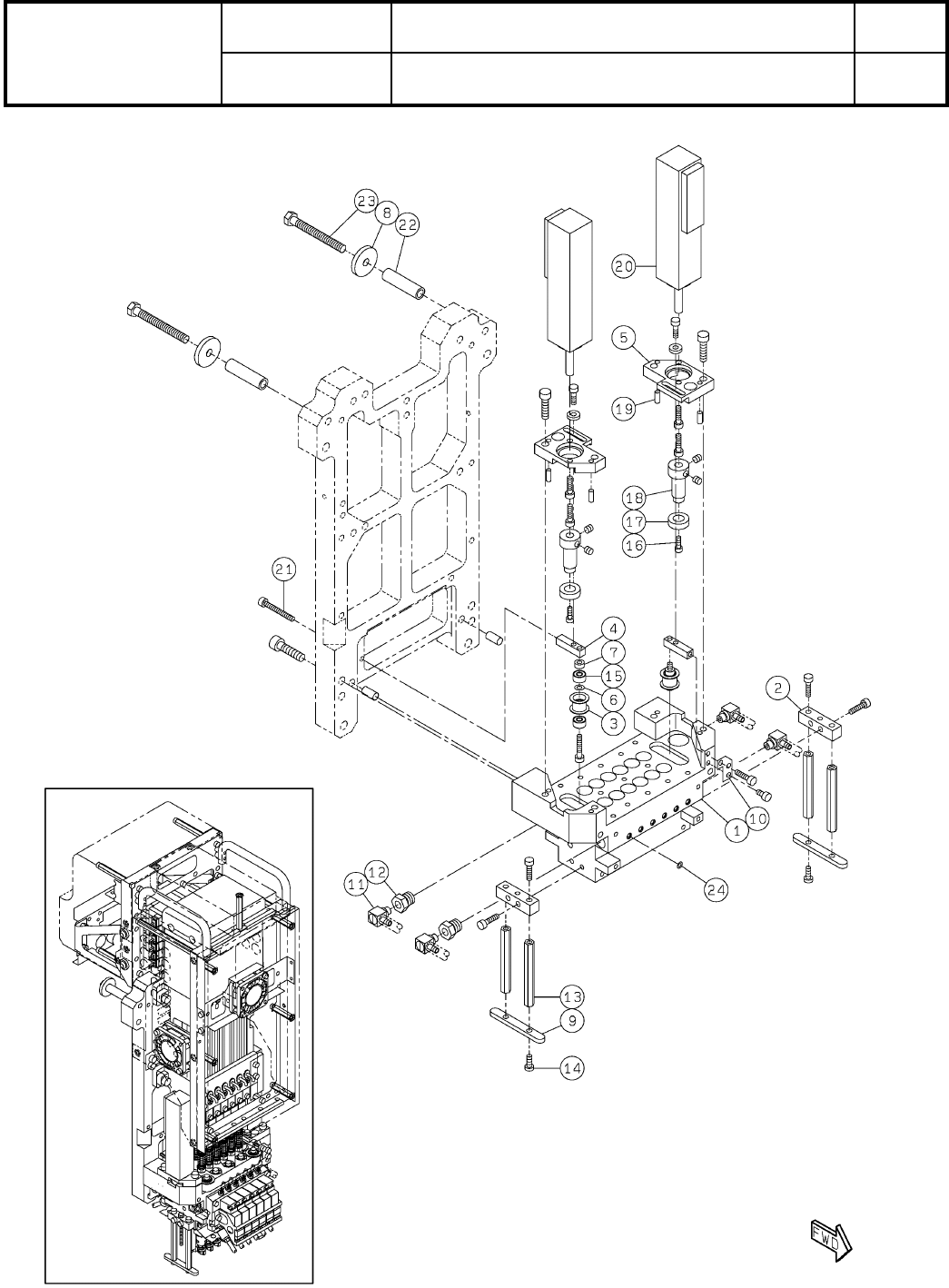
O237
( KN610157741AA-12-4 )

Ref
No.
Remarks R
1
Q'ty
68-D
12ノズルヘッド:NPM
12 NOZZLE HEAD:NPM
イラスト
No.
Part No.
品 名品 番 数量
R
2
パーツリスト
Kit No.
キット品番
Kit Name
キット名称
N610157741AA
Part Name
備 考
セクションNo.
PARTS LIST
Section No.
R
3
BRACKET
1
1 N210126067AA
BLOCK
2
2 N210084290AB
PULLEY
2
3 N210048480AB
BLOCK
2
4 N210070043AA
PLATE
2
5 N210084291AB
COLLER
2
6 N210123391AA
WASHER
2
7 N210117343AA
WASHER
2
8 N210118728AA
GUARD
2
9 N210084292AC
PLATE
1
10 N210070045AA
JOINT
4
11 MTNP000827AA M-5ALU-6-X83
JOINT
2
12 KXF05X7AA00 M-5E
SPACER
4
13 N510031771AA ASU-348
BOLT
4
14 N510067786AA Low Head Cap Screw M3X8-8.8 SOB
BEARING
4
15 N510067504AA 693JZZMC3 NS7L
BOLT
2
16 XVE25B5FTC
Hexagon socket head cap screw M2.5X5-12.9 SOB
BEARING
2
17 N510067505AA MR137ZZMC3 NS7L
PULLEY
2
18 N510032344AA P14-2GT-12-SF(K0610-001-01)
PIN
4
19 N510020589AA MMS3-8
MOTOR
2
20 MTNM000172AA
S
P50B02002BXSMD
BOLT
1
21 N510017322AA
Hexagon socket head cap screw M3X25-10.9 A2J (Trivalent) Full thread
SPACER
2
22 N510031805AA CB-530E
BOLT
2
23 N510017750AA
Hexagon head bolt Best class M5X45-6g 4T A2J (Trivalent)
O-RING
12
24 N554C03700A CO3700A
O238
--
( KN610157741AA-12-4 )

68-E
12ノズルヘッド:NPM
12 NOZZLE HEAD:NPM
パーツレイアウト
Kit No.
キット品番
Kit Name
キット名称
N610157741AA
セクションNo.
PARTS LAYOUT
Section No.
--
O239
( KN610157741AA-12-5 )