TR1RB-Rev00.pdf - 第17页
- - REF.NO NOTE PARTNO DESCRIPTION Qty 1 E9005-723- 0 A0 UPPERLIMITSENSO RASM. 1 2 E9006-723- 0 A0 LOWERLIMITSENS O RASM. 1 3 E9007-723- 0A 0 SENSORRELAYCA BL EASM. 1 4 E9004-723-0A0 DOORS WI…

- -
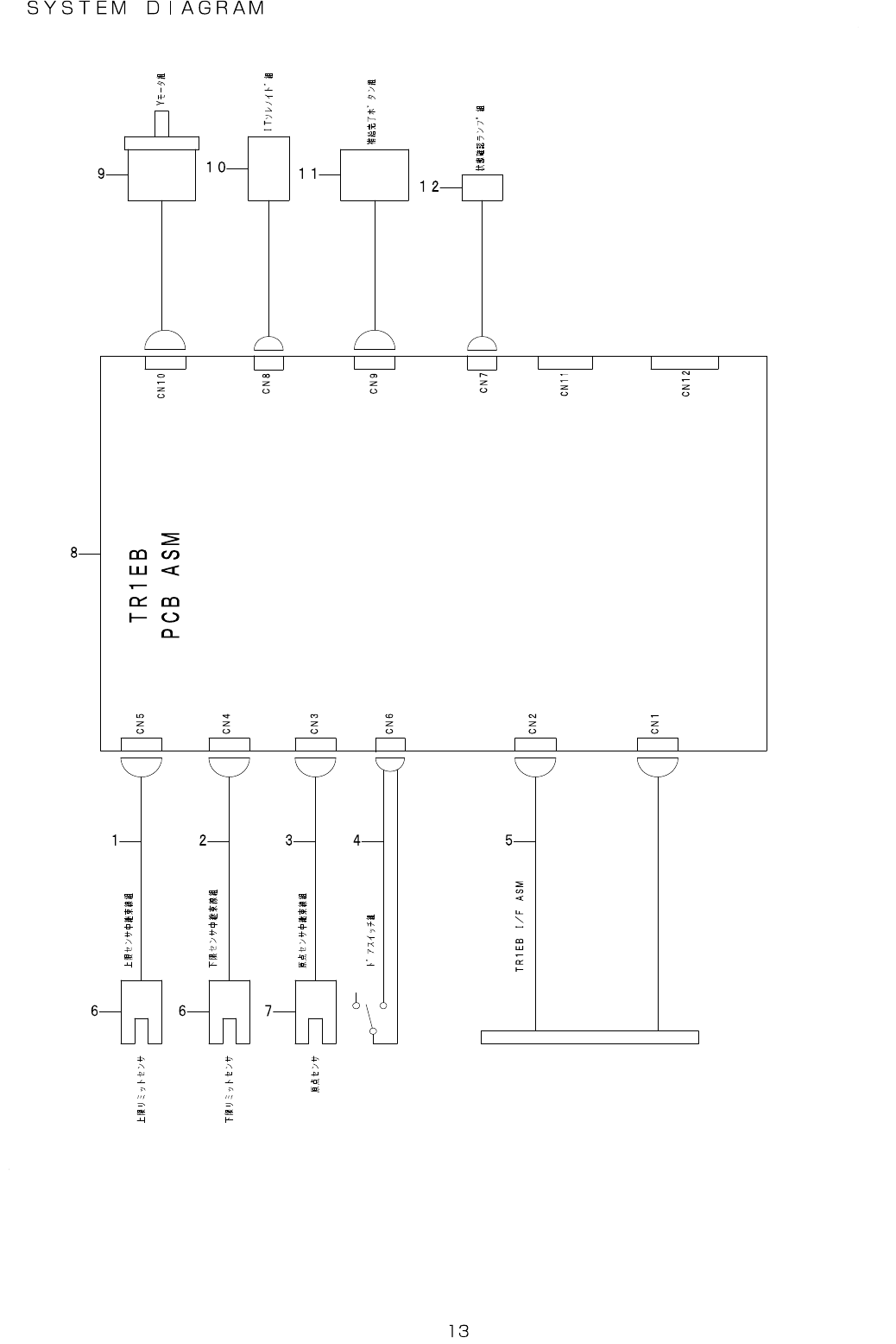
7. SYSTEMDIAGRAM

- -
REF.NO NOTE PARTNO DESCRIPTION Qty
1 E9005-723-0A0 UPPERLIMITSENSORASM. 1
2 E9006-723-0A0 LOWERLIMITSENSORASM. 1
3 E9007-723-0A0 SENSORRELAYCABLEASM. 1
4 E9004-723-0A0 DOORSWITCHASM. 1
5 401-91342 TR1RBI/FASM 1
6 HD-0017000-00 SENSOR 2
7 HD-0005700-0A PHOTOSENSOR 1
8
#01
400-93038 TR1EBPCBASM 1
9 E9601-723-0A0 YMOTORASM 1
10 400-34285 ITSOLENOIDASM 1
11 E9003-723-0A0 SUPPLYCOMPLETIONBUTTONASM. 1
12 E9002-723-0A0 CONFIRMATIONRAMPASM. 1

Notes