NPM料号.pdf - 第313页
Ref No. Remarks R 1 Q'ty 7 基板下受けブロック一括交換式(Front側):NPM-D2 Batch Exchange U nit For Boar d Support Block(Front Side):N イラスト No. Part No. 品 名 品 番 数量 R 2 パーツリスト Kit No. キット品番 Kit Name キット名称 N610150726AC Part Nam e 備 考 セ…

7
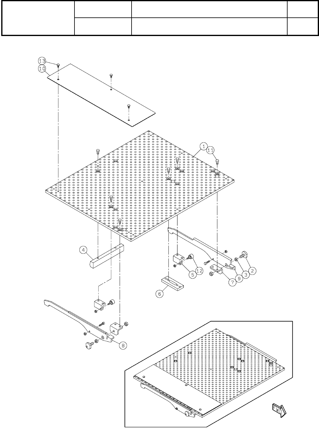
基板下受けブロック一括交換式(Front側):NPM-D2
Batch Exchange Unit For Board Support Block(Front Side):N
パーツレイアウト
Kit No.
キット品番
Kit Name
キット名称
N610150726AC
セクションNo.
PARTS LAYOUT
Section No.
--
O41
( KN610150726AC-04 )

Ref
No.
Remarks R
1
Q'ty
7
基板下受けブロック一括交換式(Front側):NPM-D2
Batch Exchange Unit For Board Support Block(Front Side):N
イラスト
No.
Part No.
品 名品 番 数量
R
2
パーツリスト
Kit No.
キット品番
Kit Name
キット名称
N610150726AC
Part Name
備 考
セクションNo.
PARTS LIST
Section No.
R
3
PLATE
1
1 N210180145AC
PIN
2
2 N210161075AA
COLLAR
2
3 N210156596AA
BRACKET
1
4 N210168109AB
BRACKET
2
5 N210161077AA
BLOCK
1
6 N210165840AC
BRACKET
2
7 N210156599AB
LEVER
1
8 N210161078AC
LEVER
1
9 N210161079AC
COVER(Front Side)
1
10 N610155871AB
BOLT
12
11 N510067773AA Low Head Cap Screw M4X8-8.8 A2J(Trivalent)
CAM-FOLLOWER
2
12 KXF00BFAA00 CF3UU-A
BOLT
3
13 N510067764AA Low Head Cap Screw M3X6-8.8 A2J(Trivalent)
O42
--
( KN610150726AC-04 )

8
基板下受けブロック一括交換式(Rear側):NPM-D2
Batch Exchange Unit For Board Support Block(Rear Side):NP
パーツレイアウト
Kit No.
キット品番
Kit Name
キット名称
N610153271AB
セクションNo.
PARTS LAYOUT
Section No.
--
O43
( KN610153271AB-03 )