NPM料号.pdf - 第89页
Ref No. Remarks R 1 Q'ty 19-D 全体カバー:NPM-D3 W ho le Cover:NPM-D3 イラスト No. Part No. 品 名 品 番 数量 R 2 パーツリスト Kit No. キット品番 Kit Name キット名称 N610160758AA Part Nam e 備 考 セク ション No . PARTS LIST Section No. R 3 BRACKET 2 1 N21…

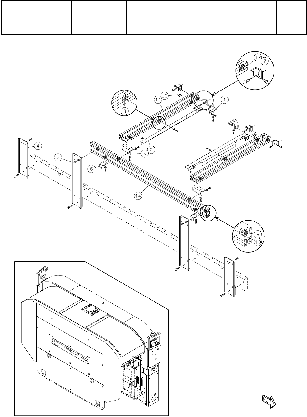
19-D
全体カバー:NPM-D3
Whole Cover:NPM-D3
パーツレイアウト
Kit No.
キット品番
Kit Name
キット名称
N610160758AA
セクションNo.
PARTS LAYOUT
Section No.
--
S69
( KN610160758AA-23-4 )

Ref
No.
Remarks R
1
Q'ty
19-D
全体カバー:NPM-D3
Whole Cover:NPM-D3
イラスト
No.
Part No.
品 名品 番 数量
R
2
パーツリスト
Kit No.
キット品番
Kit Name
キット名称
N610160758AA
Part Name
備 考
セクションNo.
PARTS LIST
Section No.
R
3
BRACKET
2
1 N210189364AA
BRACKET
2
2 N210189371AB
FRAME
2
3 N210191824AB
FRAME
2
4 N210191823AB
BRACKET
2
5 N210147090AA
BRACKET
2
6 N210191444AA
BRACKET
4
7 N210189380AA
NUT
6
8 N510013282AA SFN-TS4
CAP
54
9 KXF0ATFAA00 SFA-906
NUT
44
10 N510013281AA SFN-TS5
FRAME
2
11 N510043709AA SFF-364 L=650
NUT
4
12 N510013277AA SFN-TS6
CABLE-SUPPORT
2
13 N510025949AA C1P-004C
FRAME
1
14 N510041133AA SFF-364 L=1029
S70
--
( KN610160758AA-23-4 )

19-E
全体カバー:NPM-D3
Whole Cover:NPM-D3
パーツレイアウト
Kit No.
キット品番
Kit Name
キット名称
N610160758AA
セクションNo.
PARTS LAYOUT
Section No.
--
S71
( KN610160758AA-23-5 )