P-0209-001.pdf - 第29页
MODEL TCM-X100J 0212-002 Key No. P AR T No. P AR T NAME Q’ ty REMARKS NOTE 27 C-4 301 630 1 16 2591 B RA CK ET 1 766C--010-301 302 41 1 141 4008 W AS HE R V 4X 9X 0. 8 2 766C--010-302 303 41 1 141 2905 WA SH ER SPR 4 2 7…

MODEL TCM-X100J
0212-002
26
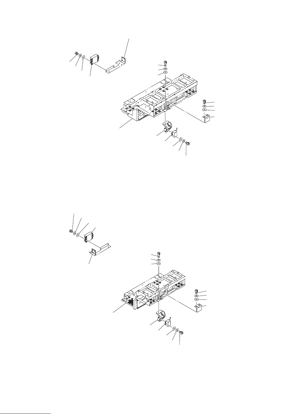
ࡈࠖ࠳ࠠࡖ࠶ࠫㇱ FEEDER CARRIAGE SECTION
Fig. C-4 ࡈࠖ࠳ゲࡦࠨ Feeder Axis Limit Sensors
314
313
315
316
333
332
331
335
338
339
340
337
See Fig.C-1
Key No.10
333
332
331
327
304
306
303
302
334
309
308
307
305
310
311
312
314
313
315
316
304
303
302
301
333
332
331
336
337
338
339
340
See Fig.C-1
Key No.12
333
332
331
336
337
338
339
340
See Fig.C-1
Key No.12
Fig.C-4
TCM-X100J-002
4797S-002
See Fig.C-1
Key No.9
See Fig.C-1
Key No.11
325
326
324
321
333
332
331
330
326
325
324
320

MODEL TCM-X100J
0212-002
Key No. PART No. PART NAME Q’ty REMARKS
NOTE
27
C-4
301 630 116 2591 BRACKET 1 766C--010-301
302 411 141 4008 WASHER V 4X9X0.8 2 766C--010-302
303 411 141 2905 WASHER SPR 4 2 766C--010-303
304 630 000 7626 BOLT,HEX-SCT 2 766C--010-304
305 630 069 0545 SENSOR,PHOTO 1 BPH57 766C--010-305
306 630 000 0269 SENSOR,PHOTO(CONNECTOR) 1 766C--010-306
307 411 088 9005 WASHER F 3X6X0.5 2 766C--010-307
308 411 086 4408 WASHER SPR 3 2 766C--010-308
309 411 042 0703 SCR PAN 3X8 2 766C--010-309
310 630 115 9928 MECH PARTS(RUBBER PLATE) 1 766C--010-310
311 411 141 4107 WASHER V 5X10X1 3 766C--010-311
312 630 000 7763 BOLT,HEX-SCT 3 766C--010-312
313 630 093 7084 BLOCK 2 766C--010-313
314 411 141 6309 WASHER F 10X18X2 4 766C--010-314
315 411 141 3209 WASHER SPR 10 4 766C--010-315
316 630 000 8142 BOLT,HEX-SCT 4 766C--010-316
320 630 093 6865 BRACKET 1 766C--010-320
321 630 093 6797 BRACKET 1 766C--010-321
324 411 141 4008 WASHER V 4X9X0.8 4 766C--010-324
325 411 141 2905 WASHER SPR 4 4 766C--010-325
326 630 000 7626 BOLT,HEX-SCT 4 766C--010-326
327 630 106 6936 BRACKET 1 766C--010-327
330 630 106 6943 BRACKET 1 766C--010-330
331 411 141 4305 WASHER V 6X12.5X1.6 8 766C--010-331
332 411 141 3001 WASHER SPR 6 8 766C--010-332
333 630 000 7886 BOLT,HEX-SCT 8 766C--010-333
334 630 116 2607 BRACKET 1 766C--010-334
335 630 111 0424 BRACKET 1 766C--010-335
336 630 111 0417 BRACKET 1 766C--010-336
337 411 140 7109 SCR FLT 3X12 8 766C--010-337
338 411 119 1909 WASHER V 3X7X0.5 8 766C--010-338
339 411 086 4408 WASHER SPR 3 8 766C--010-339
340 411 054 6809 NUT HEX 3 8 766C--010-340

MODEL TCM-X100J
0212-002
28
ࡈࠖ࠳ࠠࡖ࠶ࠫㇱ FEEDER CARRIAGE SECTION
Fig. C-5 ࠬࠤ࡞ࡋ࠶࠼ Scale Head
Fig.C-5
TCM-X100J-002
4797S-002
See Fig.C-1
Key No.11
See Fig.C-4
Key No.335
412
411
410
409
See Fig.C-1
Key No.9
416
415
414
413
404
403
402
See Fig.C-4
Key No.336
411
412
410
409
416
415
414
413
401
405
406
407
408
401
405
406
407
408
404
403
402