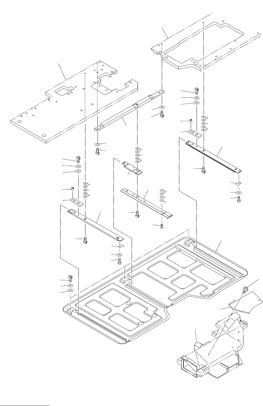
P-0209-001.pdf - 第51页
MODEL TCM-X100J 0212-002 Key No. P AR T No. P AR T NAME Q’ ty REMARKS NOTE 49 E-8 70 3 41 1 141 6705 WA SH ER SP R 5 4 766E-- 010-7 03 70 5 630 1 14 7833 SUPPORT(R) 1 766E--010-705 70 6 630 000 7602 BO L T ,HEX-SCT 3 766…

MODEL TCM-X100J
0212-002
48
ਛ㑆ࡌࠬㇱ MIDDLE BASE SECTION
Fig. E-8 ㇱຠ⪭ਅ㒐ᱛࠞࡃ
Component Drop Prevension Cover
Key No.5
See Fig.E-1
See Fig.E-1
Key No.23
Fig.E-8
TCM-X100J-002
4797A-002
Key No.1
See Fig.EC-1
707
720
708
717
715
712
709
709
709
708
707
720
703
709
703
709
717
708
743
707
706
723
713
743
713
710
726
714
712
721
715
722
738
739
737
741
742
740
741
742
740
741
742
740
716
725
705

MODEL TCM-X100J
0212-002
Key No. PART No. PART NAME Q’ty REMARKS
NOTE
49
E-8
703 411 141 6705 WASHER SPR 5 4 766E--010-703
705 630 114 7833 SUPPORT(R) 1 766E--010-705
706 630 000 7602 BOLT,HEX-SCT 3 766E--010-706
707 411 141 2905 WASHER SPR 4 11 766E--010-707
708 411 141 4008 WASHER V 4X9X0.8 11 766E--010-708
709 630 000 7749 BOLT,HEX-SCT 9 766E--010-709
710 630 113 3362 COVER 1 766E--010-710
712 630 115 0529 SPRING,FLAT 2 766E--010-712
713 630 070 9902 MACHINE SCREW 4 766E--010-713
714 630 091 4597 SUPPORT 1 766E--010-714
715 630 112 2892 SUPPORT 2 766E--010-715
716 630 114 7840 SUPPORT(L) 1 766E--010-716
717 630 112 2908 PLUNGER 2 766E--010-717
720 630 000 7619 BOLT,HEX-SCT 4 766E--010-720
721 630 100 9568 PLATE 1 766E--010-721
722 630 114 9653 SUPPORT 1 766E--010-722
723 411 002 2600 SCR FLT 3X6 4 766E--010-723
725 630 114 6133 GUIDE 1 766E--010-725
726 630 071 9161 BOLT,HEX-SCT 2 766E--010-726
727 630 113 9616 HOLDER 1 766E--010-727
728 630 113 9586 HANDLE 1 766E--010-728
729 630 001 3962 SPRING,COMP 1 766E--010-729
730 630 114 9707 BRACKET 1 766E--010-730
731 630 000 7626 BOLT,HEX-SCT 2 766E--010-731
732 411 141 2905 WASHER SPR 4 2 766E--010-732
733 411 141 4008 WASHER V 4X9X0.8 2 766E--010-733
734 630 000 7756 BOLT,HEX-SCT 2 766E--010-734
735 411 141 6705 WASHER SPR 5 2 766E--010-735
736 630 029 1391 WASHER 2 766E--010-736
737 630 114 9714 COLLAR 2 T0.5 766E--010-737
738 630 114 9721 COLLAR 2 T0.3 766E--010-738
739 630 114 9738 COLLAR 4 T0.1 766E--010-739
740 630 114 9745 COLLAR 10 T0.1 766E--010-740
741 630 114 9752 COLLAR 5 T0.3 766E--010-741
742 630 114 9769 COLLAR 10 T0.5 766E--010-742
743 411 141 5609 WASHER F 2.5X5X0. 4 766E--010-743

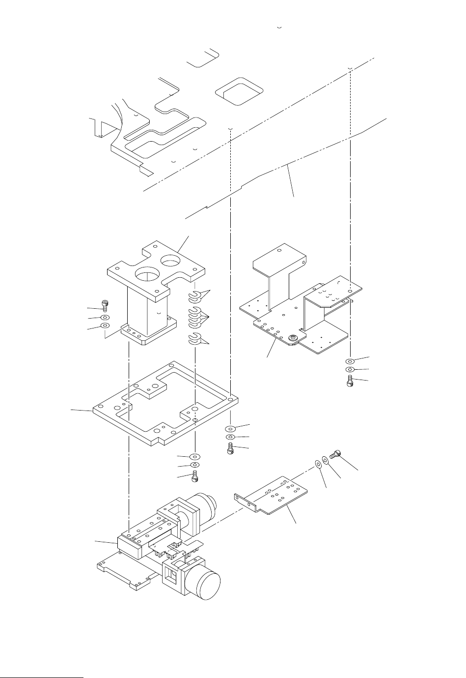
MODEL TCM-X100J
0212-002
50
⼂࡙࠾࠶࠻ㇱ RECOGNITION UNIT SECTION
Fig. EB-2 ࠬࠦࡊ XY ࡙࠾࠶࠻ Scope XY Unit
119
111
120
108
112
108
112
121
115
114
113
107
109
108
106
105
104
See Fig.L-1
Key No.12
118
117
103
110
102
101
Fig.EB-2
TCM-X200-002
4797A-002
4797L
TCM-X300