P-0209-001.pdf - 第31页
MODEL TCM-X100J 0212-002 Key No. P AR T No. P AR T NAME Q’ ty REMARKS NOTE 29 C-5 401 630 1 14 7994 P L A T E 2 766C--010-401 402 41 1 141 4107 WA SH ER V 5 X 10 X 1 4 766C--010-402 403 41 1 141 6705 WA SH ER SPR 5 4 766…

MODEL TCM-X100J
0212-002
28
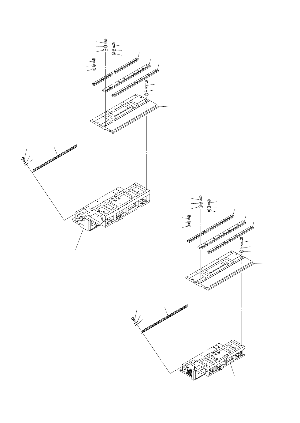
ࡈࠖ࠳ࠠࡖ࠶ࠫㇱ FEEDER CARRIAGE SECTION
Fig. C-5 ࠬࠤ࡞ࡋ࠶࠼ Scale Head
Fig.C-5
TCM-X100J-002
4797S-002
See Fig.C-1
Key No.11
See Fig.C-4
Key No.335
412
411
410
409
See Fig.C-1
Key No.9
416
415
414
413
404
403
402
See Fig.C-4
Key No.336
411
412
410
409
416
415
414
413
401
405
406
407
408
401
405
406
407
408
404
403
402

MODEL TCM-X100J
0212-002
Key No. PART No. PART NAME Q’ty REMARKS
NOTE
29
C-5
401 630 114 7994 PLATE 2 766C--010-401
402 411 141 4107 WASHER V 5X10X1 4 766C--010-402
403 411 141 6705 WASHER SPR 5 4 766C--010-403
404 630 000 7787 BOLT,HEX-SCT 4 766C--010-404
405 630 093 3956 ENCODER 2 766C--010-405
406 630 099 6166 WASHER 4 766C--010-406
407 411 008 1706 WASHER SPR 4 4 766C--010-407
408 411 043 5004 SCR PAN 4X8 4 766C--010-408
409 630 093 3987 ENCODER 2 766C--010-409
410 411 119 2104 WASHER V 4X9X0.8 4 766C--010-410
411 411 008 1706 WASHER SPR 4 4 766C--010-411
412 411 043 5004 SCR PAN 4X8 4 766C--010-412
413 630 116 2614 BRACKET 2 766C--010-413
414 411 141 4008 WASHER V 4X9X0.8 4 766C--010-414
415 411 141 2905 WASHER SPR 4 4 766C--010-415
416 630 000 7619 BOLT,HEX-SCT 4 766C--010-416

MODEL TCM-X100J
0212-002
30
ࡈࠖ࠳ࠠࡖ࠶ࠫㇱ FEEDER CARRIAGE SECTION
Fig. C-6 ࡈࠖ࠳ࠠࡖ࠶ࠫ Feeder Carriage
Fig.C-6
TCM-X100J-002
4797S-002
505
504
503
530
529
528
527
517
516
515
513
512
511
509
508
507
502
510
506
See Fig.C-1
Key No.11
See Fig.C-1
Key No.9
514
530
529
528
527
505
504
503
517
516
515
513
512
511
509
508
507
502
510
506
514