N7202A066B.pdf - 第266页
4 基板下受けブロック一括交換式(Front側):NPM-DX Batch Exchange Unit For Board Support Block(Front):N PM-D パーツレイアウト Kit No. キット 品番 Kit Name キット名称 MTKA008382AA セクションNo. PARTS LAYOUT Section No. - - O29 ( KMTKA008382AA-03 )

Ref
No.
Remarks R
1
Q'ty
3-C
基板ホルダデュアル対応:NPM-WX
Board Holder Dual:NPM-WX
イラスト
No.
Part No.
品 名品 番 数量
R
2
パーツリスト
Kit No.
キット品番
Kit Name
キット名称
MTKA009279AA
Part Name
備 考
セクションNo.
PARTS LIST
Section No.
R
3
WASHER
8
1 N210162247AA
PLATE
4
2 MTPB011475AB
BRACKET
4
3 MTPB008108AC
JOINT
8
4 N510066470AA KQ2L06-01AS
VALVE
4
5 MTNP001759AA 4GA130R-M5-A2NSF-FL651974-3-ST
SENSOR
8
6 MTNS000145AA PM-K65
SOLENOID-VALVE
4
7 MTNP001775AA SYJ712R-5MOZ-01-F-X78
JOINT
4
8 N510066461AA KQ2L06-M5A
SPEED-CONTROLLER
4
9 KXF09WUAA00 ASD330F-01-06S
JOINT
4
10 N510066456AA KQ2U06-00A
BOLT
8
11 N510017335AA
Hexagon socket head cap screw M3X55-10.9 A2J (Trivalent)
SPACER
8
12 N510015581AA CF-335E
JOINT
4
13 N510066463AA KQ2T06-00A
JOINT
4
14 N510066692AA KQ2L06-99A
O28
--
( KMTKA009279AA-11-3 )

4
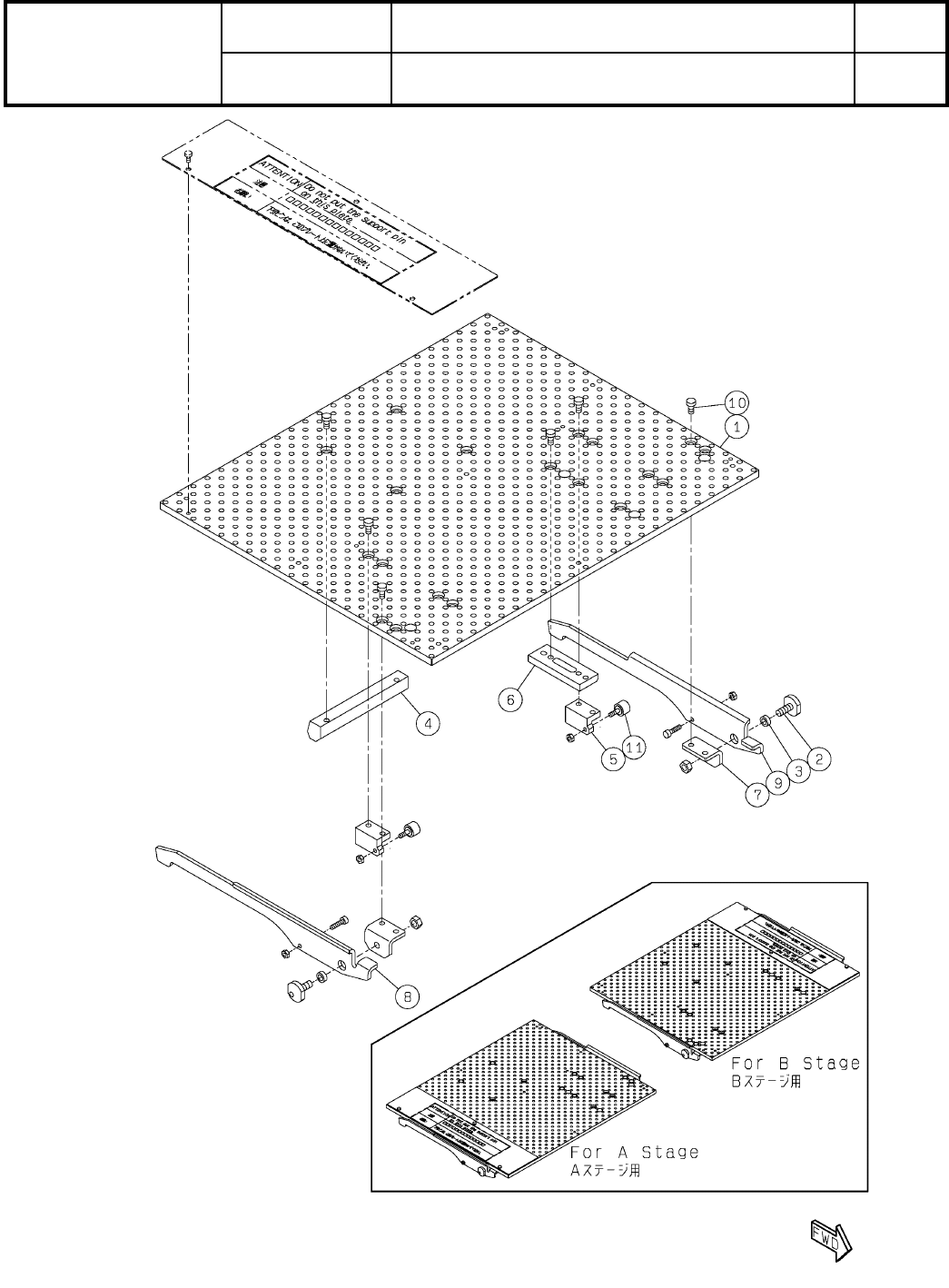
基板下受けブロック一括交換式(Front側):NPM-DX
Batch Exchange Unit For Board Support Block(Front):NPM-D
パーツレイアウト
Kit No.
キット品番
Kit Name
キット名称
MTKA008382AA
セクションNo.
PARTS LAYOUT
Section No.
--
O29
( KMTKA008382AA-03 )

Ref
No.
Remarks R
1
Q'ty
4
基板下受けブロック一括交換式(Front側):NPM-DX
Batch Exchange Unit For Board Support Block(Front):NPM-D
イラスト
No.
Part No.
品 名品 番 数量
R
2
パーツリスト
Kit No.
キット品番
Kit Name
キット名称
MTKA008382AA
Part Name
備 考
セクションNo.
PARTS LIST
Section No.
R
3
PLATE
1
1 MTPA012786AA
PIN
2
2 N210161075AA
COLLAR
2
3 N210156596AA
BRACKET
1
4 MTPA012826AA
BRACKET
2
5 MTPA012825AA
BLOCK
1
6 N210165840AC
BRACKET
2
7 N210156599AB
LEVER
1
8 N210161078AC
LEVER
1
9 N210161079AC
BOLT
12
10 N510067773AA Low Head Cap Screw M4X8-8.8 A2J(Trivalent)
CAM-FOLLOWER
2
11 KXF00BFAA00 CF3UU-A
O30
--
( KMTKA008382AA-03 )