N7202A066B.pdf - 第650页
106 トレイフィーダ搬送ライン930 mm対応キット:X10 Transport Line 930mm Support Kit for T ray Feeder:X10 パーツレイアウト Kit No. キット 品番 Kit Name キット名称 MTKA021965AA セクションNo. PARTS LAYOUT Section No. - - O413 ( KMTKA021965AA-00 )

Ref
No.
Remarks R
1
Q'ty
105
トレイフィーダ搬送ライン950mm対応キット:X10
Transport Line 950mm Support Kit for Tray Feeder:X10
イラスト
No.
Part No.
品 名品 番 数量
R
2
パーツリスト
Kit No.
キット品番
Kit Name
キット名称
MTKA021966AA
Part Name
備 考
セクションNo.
PARTS LIST
Section No.
R
3
BOLT
4
1 MTPA031000AA
O412
--
( KMTKA021966AA-00 )

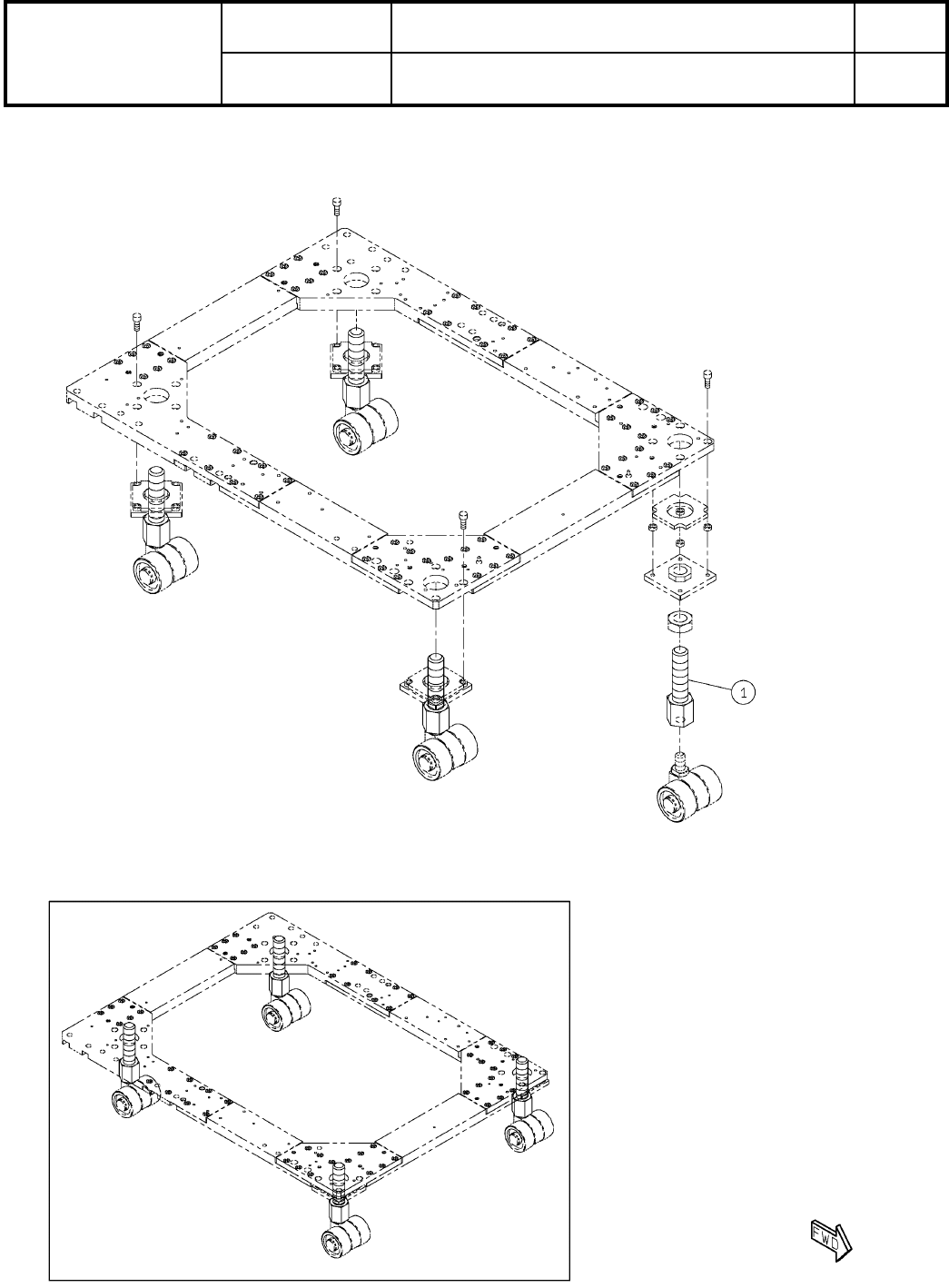
106
トレイフィーダ搬送ライン930mm対応キット:X10
Transport Line 930mm Support Kit for Tray Feeder:X10
パーツレイアウト
Kit No.
キット品番
Kit Name
キット名称
MTKA021965AA
セクションNo.
PARTS LAYOUT
Section No.
--
O413
( KMTKA021965AA-00 )

Ref
No.
Remarks R
1
Q'ty
106
トレイフィーダ搬送ライン930mm対応キット:X10
Transport Line 930mm Support Kit for Tray Feeder:X10
イラスト
No.
Part No.
品 名品 番 数量
R
2
パーツリスト
Kit No.
キット品番
Kit Name
キット名称
MTKA021965AA
Part Name
備 考
セクションNo.
PARTS LIST
Section No.
R
3
BOLT
4
1 MTPA030999AA
O414
--
( KMTKA021965AA-00 )