RS-1-Rev01PDFA.pdf - 第49页
- 44 - REF.NO NOTE PART NO D E S C R I P T I O N 品 名 Qty 1 401-83565 CONVEYOR_RAIL _R_ASM 搬送レール R 組 1 2 401-83831 CONVEYOR_RAIL _RC_ASM 搬送レール RC 組 (1) 3 401-83048 RAIL_GUIDE_ R_650 レールガイド R _650 (1) 4 401-83041 CONVEYOR_…

- 43 -
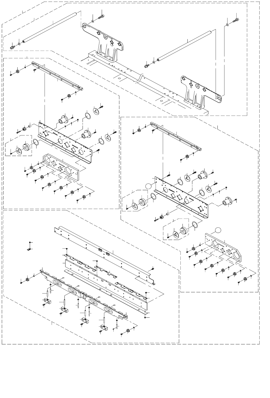
22. PWB CONVEYOR COMPONENTS (2)
基板搬送関係(2)
29
23
1
25
20
45
42
39
48
38
26
36
40
37
17
11
41
50
24
37
28
27
A
A
33
44
55
56
54
53
82
81
80
81
83
81
82
80
83
81
79
21
12
10
19
10
6
22
22
22
3
4
5
6
10
7
8
9
12
13
14
15
14
15
14
15
14
15
16
16
16
16
11
20
17
18
18
18
18
22
2
47
43
35
47
35
43
31
32
30
31
32
30
31
32
30
31
30
32
31
30
32
30
32
31
34
30
32
31
49
40
37
36
39
78
52
57
60
58
59
59
58
60
59
58
60
59
58
60
59
60
58
58
60
59
58
60
59
61
62
72
70
75
71
63
75
71
63
54
53
56
55
68
65
64
68
64
65
65
65
76
77
66
67
67
69
73
51
46
74

- 44 -
REF.NO NOTE PART NO D E S C R I P T I O N
品 名
Qty
1 401-83565 CONVEYOR_RAIL_R_ASM
搬送レール R 組
1
2 401-83831 CONVEYOR_RAIL_RC_ASM
搬送レール RC 組
(1)
3 401-83048 RAIL_GUIDE_R_650
レールガイド R _650
(1)
4 401-83041 CONVEYOR_RAIL_C_A
搬送レールC_A
(1)
5 401-83029 CONVEYOR_RAIL_C_B
搬送レールC_B
(1)
6 401-83027 PWB_GUIDE_PLATE_A
PWB ガイドプレート A
(4)
7 401-83056 PWB_GUIDE_PLATE_C
PWB ガイドプレート C
(1)
8 401-83050 SAFETY_BAR
セーフティバー
(1)
9 401-83049 CONVEYOR_SUPPORT_PLATE
搬送サポートプレート
(1)
10 EZ-4453818-01 BOLT (CBSTSR3-5)
超極低頭ボルト(CBSTSR 3−5)
(15)
11 E2111-715-0A0 CONVEYOR PULLEY ASM.
搬送プーリ(組)
(8)
12 SL-4030691-SC SCREW M3 L=6
座金付きなべ小ねじ M 3 L =6
(10)
13 SL-6041092-TN SCREW M4 L=10
座金付き六角穴ボルト M 4 L =10
(10)
14 401-28520 NEEDLE_ROLLER
ニードルローラ
(4)
15 401-28609 SHAFT_SUPPORT_ASM
シャフトサポート組
(4)
16 SL-6041092-TN SCREW M4 L=10
座金付き六角穴ボルト M 4 L =10
(8)
17 SM-4040855-SC SCREW
なべ小ねじ M 4 L =8
(4)
18 SM-8030302-TP SCREW M3X3
止めねじ M3X3
(4)
19 SM-8040602-TP SCREW M4X0.7 L=6
止めねじ
(4)
20 WP-0430800-SC WASHER M4
平座金小形丸 M 4
(8)
21 HX-0034400-00 FIXED BASE
束線パーツ
(7)
22 401-83077 CLAMP_SHAFT
クランプシャフト
(4)
23 401-83832 RAIL_PLATE_RL_ASM
レールプレート RL 組
(1)
24 401-83045 RAIL_PLATE_RL
レールプレート RL
(1)
25 400-00839 DRIVE_PULLEY_R_ASM
ドライブプーリ R 組
(2)
26 400-00840 DRIVE_PULLEY_R
ドライブプーリ R
(1)
27 E2160-721-000 PULLEY FLANGE
プーリフランジ
(1)
28 SL-6030892-TN SCREW M3 L=8
座金付き六角穴ボルト M 3 L =8
(3)
29 401-83033 SUPPORT_PLATE_R
サポートプレート R
(1)
30 E2111-715-0A0 CONVEYOR PULLEY ASM.
搬送プーリ(組)
(7)
31 WP-0430800-SC WASHER M4
平座金小形丸 M 4
(3)
32 SM-4040855-SC SCREW
なべ小ねじ M 4 L =8
(3)
33 E2055-721-000 PULLEY SPACER
プーリスペーサ
(1)
34 E2089-721-0A0 CONVEYOR PULLEY B ASM.
搬送プーリ B 組
(1)
35 E2111-715-0A0 CONVEYOR PULLEY ASM.
搬送プーリ(組)
(2)
36 E2160-721-000 PULLEY FLANGE
プーリフランジ
(1)
37 E3931-750-000 PULLEY WASHER
プーリ スラスト ワッシャ
(2)
38 NM-6040001-SC NUT M4X0.7 TYPE1
六角ナット M 4 X 0.7 1種
(1)
39 SB-8160001-00 BEARING
ころがり軸受
(2)
40 SL-6030892-TN SCREW M3 L=8
座金付き六角穴ボルト M 3 L =8
(3)
41 SL-6031492-TN SCREW M3 L=14
座金付き六角穴ボルト M 3 L =14
(4)
42 SL-6041092-TN SCREW M4 L=10
座金付き六角穴ボルト M 4 L =10
(2)
43 SM-4040855-SC SCREW
なべ小ねじ M 4 L =8
(2)
44 SM-4042501-SC SCREW M4X0.7 L=25
なべ小ねじ M 4 X 0.7 L =25
(1)
45 SM-6040802-TN SCREW M4X0.7 L=8
六角穴ボルト M 4 X 0.7 L =8
(4)
46 SM-6041002-TN SCREW
六角穴ボルト
(4)
47 WP-0430800-SC WASHER M4
平座金小形丸 M 4
(2)
48 WP-0430801-SC WASHER M4
平座金 M 4
(1)
49 WS-0410002-KN SPRING WASHER M4
ばね座金 M 4
(1)
50 401-83032 CONVEYOR_RAIL_S
搬送レール S
(1)
51 401-83833 RAIL_PLATE_RR_ASM
レールプレート RR 組
(1)
52 401-83046 RAIL_PLATE_RR
レールプレート RR
(1)
53 400-00839 DRIVE_PULLEY_R_ASM
ドライブプーリ R 組
(2)
54 400-00840 DRIVE_PULLEY_R
ドライブプーリ R
(1)
55 E2160-721-000 PULLEY FLANGE
プーリフランジ
(1)
56 SL-6030892-TN SCREW M3 L=8
座金付き六角穴ボルト M 3 L =8
(3)
57 401-83033 SUPPORT_PLATE_R
サポートプレート R
(1)
58 E2111-715-0A0 CONVEYOR PULLEY ASM.
搬送プーリ(組)
(7)
59 WP-0430800-SC WASHER M4
平座金小形丸 M 4
(7)
60 SM-4040855-SC SCREW
なべ小ねじ M 4 L =8
(7)
61 E2055-721-000 PULLEY SPACER
プーリスペーサ
(1)
62 E2089-721-0A0 CONVEYOR PULLEY B ASM.
搬送プーリ B 組
(1)
63 E2111-715-0A0 CONVEYOR PULLEY ASM.
搬送プーリ(組)
(2)
64 E2160-721-000 PULLEY FLANGE
プーリフランジ
(2)
65 E3931-750-000 PULLEY WASHER
プーリ スラスト ワッシャ
(4)
66 NM-6040001-SC NUT M4X0.7 TYPE1
六角ナット M 4 X 0.7 1種
(2)
67 SB-8160001-00 BEARING
ころがり軸受
(2)
68 SL-6030892-TN SCREW M3 L=8
座金付き六角穴ボルト M 3 L =8
(6)
69 SL-6031492-TN SCREW M3 L=14
座金付き六角穴ボルト M 3 L =14
(4)
70 SL-6041092-TN SCREW M4 L=10
座金付き六角穴ボルト M 4 L =10
(2)
71 SM-4040855-SC SCREW
なべ小ねじ M 4 L =8
(2)
72 SM-4042501-SC SCREW M4X0.7 L=25
なべ小ねじ M 4 X 0.7 L =25
(2)
73 SM-6040802-TN SCREW M4X0.7 L=8
六角穴ボルト M 4 X 0.7 L =8
(4)
74 SM-6041002-TN SCREW
六角穴ボルト
(4)
75 WP-0430800-SC WASHER M4
平座金小形丸 M 4
(3)
76 WP-0430801-SC WASHER M4
平座金 M 4
(2)
77 WS-0410002-KN SPRING WASHER M4
ばね座金 M 4
(2)
78 401-83032 CONVEYOR_RAIL_S
搬送レール S
(1)
79 401-83559 GUIDE SHAFT ASM
ガイドシャフト組
(1)
80 401-83057 GUIDE_SHAFT
ガイドシャフト
(4)
81 WP-0501046-SC WASHER 5 X 14 X 1
平座金 5 X 14 X 1
(8)
82 SL-6051292-TN SCREW M5 L=12
座金付き六角穴ボルト M 5 L =12
(4)
83 SL-6052042-TN SCREW M5 L=20
座金付き六角穴ボルト M 5 L =20
(4)

- 45 -
23. PWB CONVEYOR COMPONENTS (3)
基板搬送関係(3)
13
1
3
11
7
6
16
18
17
26
16
18
17
26
20
17
16
14
27
3
2
6
19
14
8
11
7
15
4
26
27
9
14
27
12
18
3
5
5
10
5
10
5
3
8
9
12
4
14
27
19
26
18
16
17
19
19
15
25
22
23
24
26
21
20
26
21
24
23
22
25
26
21
24
23
22
25
26
21
24
23
22
25