4OM-1301-002.pdf - 第66页
1-14 3.3 3.3 3.3 3.3 3.3 点检 点检 点检 点检 点检 / / / / / 清扫 清扫 清扫 清扫 清扫 / / / / / 注油处 注油处 注油处 注油处 注油处 3.3. 1 3.3. 1 3.3. 1 3.3. 1 3.3. 1 气源 气源 气源 气源 气源 Fig. 4A 1 0 Fig. 4A 1 0 Fig. 4A 1 0 Fig. 4A 1 0 Fig. 4A 1 0 0509-002 3.3 3.…

1-13
3.23.2
3.23.2
3.2
各部维护保养的查看方法各部维护保养的查看方法
各部维护保养的查看方法各部维护保养的查看方法
各部维护保养的查看方法
记载了装置各部位所必需的维护保养。
关于周期性的维护保养,请有效利用 “ 2.维护保养检查表 ” 。
点检、点检、
点检、点检、
点检、
清扫、清扫、
清扫、清扫、
清扫、
注油处的查看方法注油处的查看方法
注油处的查看方法注油处的查看方法
注油处的查看方法
((
((
(
示例示例
示例示例
示例
))
))
)
[1] [1]
[1] [1]
[1] : 表示维护保养的部位。
[2] [2]
[2] [2]
[2] : 表示维护保养的周期与内容。
[3] [3]
[3] [3]
[3] : 表示维护保养的详细内容。
[4] [4]
[4] [4]
[4] : 表示维护保养概要的所要时间。
( 不包括机盖等的装卸时间。)
Fig. 4A9Fig. 4A9
Fig. 4A9Fig. 4A9
Fig. 4A9
0509-002
3.2 3.2
3.2 3.2
3.2
各部维护保养的查看方法各部维护保养的查看方法
各部维护保养的查看方法各部维护保养的查看方法
各部维护保养的查看方法
[ 1 ][ 1 ]
[ 1 ][ 1 ]
[ 1 ]
[2][2]
[2][2]
[2]
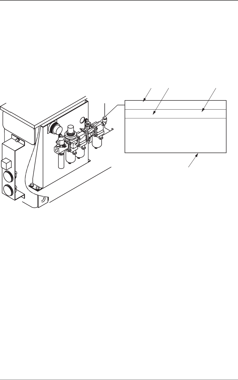
主气压主气压
主气压主气压
主气压
每天 点检 所要时间:1分钟
设定空气压力 0.45MPa(4.6kgf/cm
2
)
请目视确认在运转时空气压力是否达到
Min.0.4MPa(4.1kgf/cm
2
)。
否则,请进行调整。
[3][3]
[3][3]
[3]
[4][4]
[4][4]
[4]

1-14
3.33.3
3.33.3
3.3
点检点检
点检点检
点检
//
//
/
清扫清扫
清扫清扫
清扫
//
//
/
注油处注油处
注油处注油处
注油处
3.3.13.3.1
3.3.13.3.1
3.3.1
气源气源
气源气源
气源
Fig. 4A10Fig. 4A10
Fig. 4A10Fig. 4A10
Fig. 4A10
0509-002
3.3 3.3
3.3 3.3
3.3
点检点检
点检点检
点检
//
//
/
清扫清扫
清扫清扫
清扫
//
//
/
注油处注油处
注油处注油处
注油处
吹气压吹气压
吹气压吹气压
吹气压
每天 点检 所要时间:1分钟
请目视确认量表压是否为初期设定
0.05MPa(0.5kgf/cm
2
)。
装置出厂时已设定好,请不要随意更改。
主气压主气压
主气压主气压
主气压
每天 点检 所要时间:1分钟
设定空气压力 0.45MPa(4.6kgf/cm
2
)
请目视确认在运行时空气压力是否达到
Min.0.4MPa(4.1kgf/cm
2
)。
否则,请进行调整。
橙色按钮橙色按钮
橙色按钮橙色按钮
橙色按钮
排放口排放口
排放口排放口
排放口
排放口排放口
排放口排放口
排放口
每周 清扫 所要时间:5 分钟
请准备容器,按各滤盒下边的橙色按钮,
从排放口排出水。

1-15
过滤器架过滤器架
过滤器架过滤器架
过滤器架
请按以下步骤进行清扫。
1. 卸下空气过滤器。
朝下滑动外盒黑色部分的状态下,旋转四分之一。
2. 向左转动过滤器架拽出。
3. 拽出过滤器,进行吹气清扫。
4. 插入过滤器,向右转动过滤器架装上。
5. 安装过滤器外盒。
过滤器损坏时,请更换新的过滤器。
0509-002
Fig. 4A11Fig. 4A11
Fig. 4A11Fig. 4A11
Fig. 4A11
3.3 3.3
3.3 3.3
3.3
点检点检
点检点检
点检
//
//
/
清扫清扫
清扫清扫
清扫
//
//
/
注油处注油处
注油处注油处
注油处
过滤器过滤器
过滤器过滤器
过滤器
每三个月 清扫 所要时间:5 分钟