KE-3020_KE-3020R-Rev06.pdf - 第97页
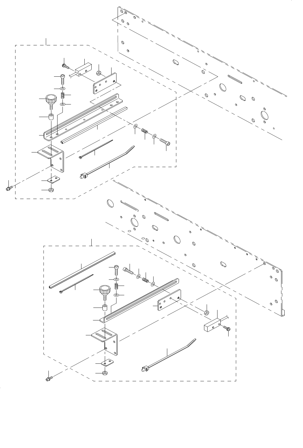
- 90 - NOTE( 注記 ) *INSTALLATION POSITION AN D DIRECTION VARY IF THE PWB TRANSFER REFERENCE IS DIFFE RENT. 基板搬送基準が異なると取付位置、方向が変わります。 REF.NO NOTE PART NO D E S C R I P T I O N 品 名 Qty 1 400-9393 4 LEFT_SENS_UNIT レフトセンサユニット…

- 89 -
45.PWB CONVEYOR COMPONENTS(9)
基板搬送関係(9)
2
4
6
8
7
9
22
10
10
11
11
26
12
21
20
22
23
24
25
26
26
27
19
18
27
7
11
11
26
25
12
13
28
29
14
30
15
16
31
33
33
1
5
17
3
32

- 90 -
NOTE( 注記 ) *INSTALLATION POSITION AND DIRECTION VARY IF THE PWB TRANSFER
REFERENCE IS DIFFERENT.
基板搬送基準が異なると取付位置、方向が変わります。
REF.NO NOTE PART NO D E S C R I P T I O N
品 名
Qty
1 400-93934 LEFT_SENS_UNIT
レフトセンサユニット
1
2 400-01077 SENSOR BRAKET A
センサブラケット A
(1)
3 HX-0044000-00 CABLE BAND
束線バンド
(1)
4 400-17255 SENSOR BRACKET BR
センサブラケットBR
(1)
5 400-01079 SENSOR BRAKET C
センサブラケット C
(1)
6 400-01076 SENSOR SLIDE PLATE
センサスライドプレート
(1)
7 400-00912 SENSOR ADJUST SPRING
センサアジャストスプリング
(3)
8 G6518-880-000 SET PICK-UP
セットつまみ
(1)
9 400-58815 SPACER
スペーサ
(1)
10 SM-6041602-TN SCREW M4 X 16
六角穴ボルト M4X0.7 L=16
(3)
11 WP-0430801-SC WASHER M4
平座金 M4
(6)
12 NM-6040002-SE NUT M4X0.7
六角ナット M4X0.7 2種
(3)
13 400-92568 LEFT SENS ASM
LEFTセンサ組
(1)
14 SL-4031291-SC SCREW M3X12
なべ小ねじセムス M3X0.5 L=12
(1)
15 HX-0036700-0A BUSH
ブッシュ
(0.16)
16 EA-9500B00-00 CABLE BAND
結束バンド 60
(5)
17 400-93935 RIGHT_SENS_UNIT
ライトセンサユニット
1
18 400-01079 SENSOR BRAKET C
センサブラケット C
(1)
19 400-17255 SENSOR BRACKET BR
センサブラケットBR
(1)
20 400-01077 SENSOR BRAKET A
センサブラケット A
(1)
21 400-01076 SENSOR SLIDE PLATE
センサスライドプレート
(1)
22 400-00912 SENSOR ADJUST SPRING
センサアジャストスプリング
(3)
23 G6518-880-000 SET PICK-UP
セットつまみ
(1)
24 400-58815 SPACER
スペーサ
(1)
25 SM-6041602-TN SCREW M4 X 16
六角穴ボルト M4X0.7 L=16
(3)
26 WP-0430801-SC WASHER M4
平座金 M4
(6)
27 NM-6040002-SE NUT M4X0.7
六角ナット M4X0.7 2種
(3)
28 400-92578 RIGHT SENS ASM
RIGHTセンサ組
(1)
29 SL-4031291-SC SCREW M3X12
なべ小ねじ セムス M3X0.5 L=1
(1)
30 HX-0036700-0A BUSH
ブッシュ
(0.16)
31 EA-9500B00-00 CABLE BAND
結束バンド 60
(5)
32 HX-0044000-00 CABLE BAND
束線バンド
(1)
33 SL-6031092-TN SCREW
座金付き六角穴ボルト
4

- 91 -
46.PWB CONVEYOR COMPONENTS(10)
基板搬送関係(10)
25
28
29
2
14
23
24
20
15
1
21
21
1
27
22
19
18
12
32
4
3
6
7
17
16
16
17
8
9
11
10
12
5
26 30
31
33
34
35
13
36