5M-1750-004w_G5S.pdf - 第105页
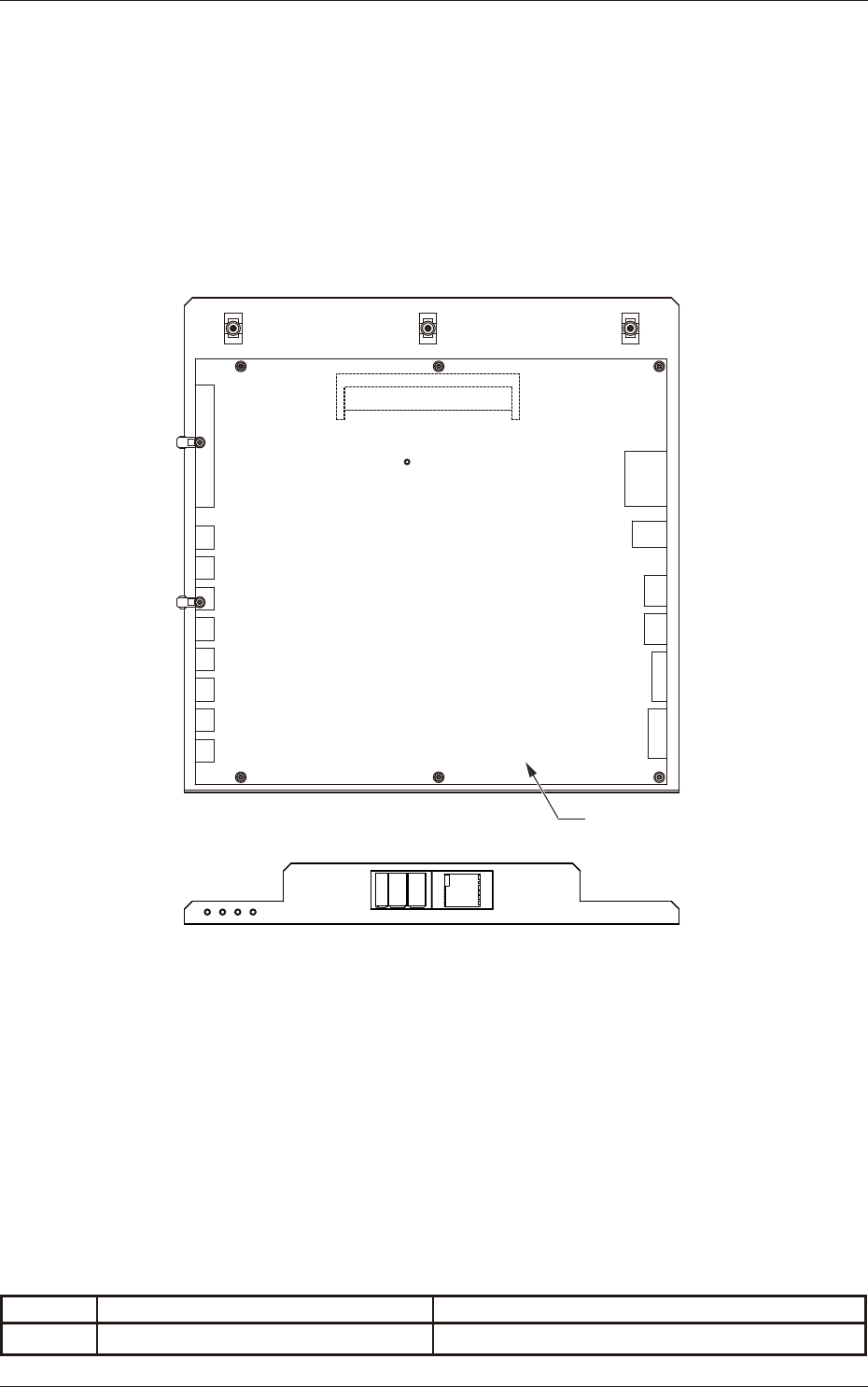
3-6 5OM-1750 LED Light Control PCB 1305-002 CON1 CON2 CON3 CON4 CON5 CON6 CON7 CON8 CN5 CN1 CN8 CN7 CN3 CN2 CN6 CON10 A21F X(B2) ADD:3 A22F Y1(B2) ADD:4 A23F Y2(B2) ADD:5 U95 Lighting Ctrl PCB U95 Symbol Name Remarks U95…

3-5
5OM-1750
ノイズフィルタパネル
1305-002
Z1
Z2
Symbol Name Remarks
Z1
ノイズフィルタ 1
Z2
ノイズフィルタ 2
部品配置図

3-6
5OM-1750
LED Light Control PCB
1305-002
CON1
CON2
CON3
CON4
CON5
CON6
CON7
CON8
CN5
CN1
CN8
CN7
CN3
CN2
CN6
CON10
A21F
X(B2)
ADD:3
A22F
Y1(B2)
ADD:4
A23F
Y2(B2)
ADD:5
U95
Lighting Ctrl
PCB
U95
Symbol Name Remarks
U95 LED Light Control PCB
モデル
UC19
部品配置図

3-7
5OM-1750
XY モータアンプユニット前
1305-002
X-Axis Y2-AxisY1-Axis
A21F A22F A23F
Symbol Name Remarks
A21F
X1( 前 ) 軸サーボモータアンプ
A22F
Y1( 前 ) 軸リニアモータアンプ
A23F
Y2( 前 ) 軸リニアモータアンプ
部品配置図