5M-1750-004w_G5S.pdf - 第72页
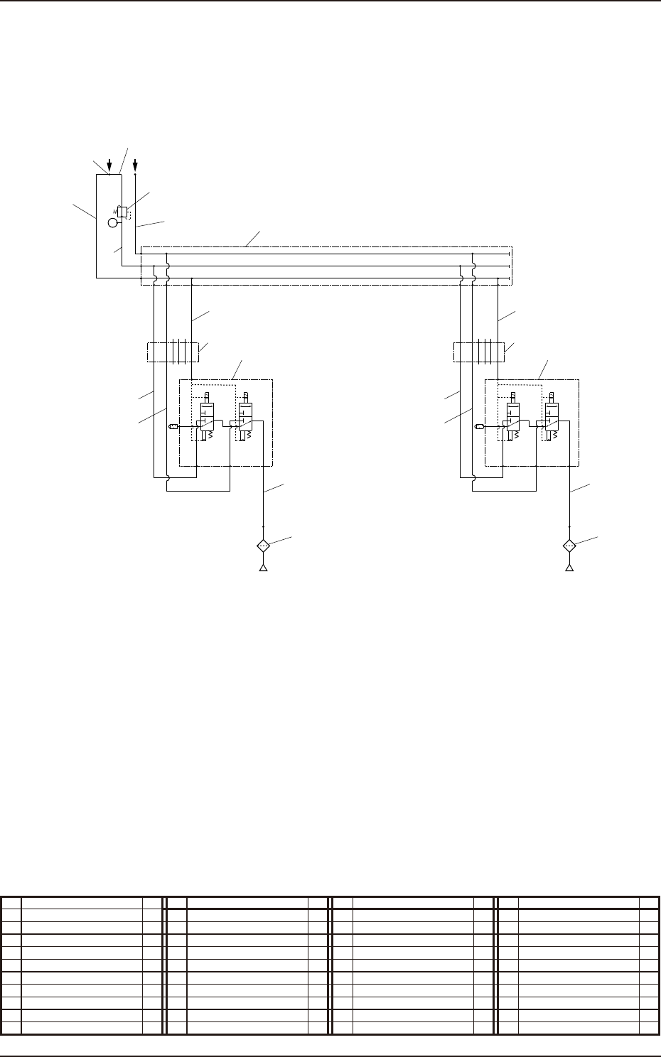
1-22 5OM-1750 2 1 SETUP 0.025MPa 3 Air IN Vacuum 11 10 Nozzle 1 5 6 7 8 9 12 13 14 15 Nozzle 2 5 6 7 9 13 14 15 エア配管図及び実装図 多機能ヘッド部 ( エア配管図 ) No. 名 称 個数 No. 名 称 個数 No. 名 称 個数 No. 名 称 個数 1 チューブφ 6 1 11 ユニオンワイ 1 2 チューブφ 6 1…

1-21
5OM-1750
1305-002
エア配管図及び実装図
フィーダベース ( 実装図 )
No. 名 称 個数 No. 名 称 個数 No. 名 称 個数 No. 名 称 個数
2 ソレノイドバルブ 2
3 スピードコントローラ 4
4 シリンダ 2
5 モジュラーユニット 2
6 エアコネクタピン 2
3
4
2
6
5

1-22
5OM-1750
2
1
SETUP
0.025MPa
3
Air IN Vacuum
11
10
Nozzle 1
5
6
7
8
9
12
13
14
15
Nozzle 2
5
6
7
9
13
14
15
エア配管図及び実装図
多機能ヘッド部 ( エア配管図 )
No. 名 称 個数 No. 名 称 個数 No. 名 称 個数 No. 名 称 個数
1 チューブφ 6 1 11 ユニオンワイ 1
2 チューブφ 6 1 12 マニホールドユニット 1
3 チューブφ 6 1 13 ソレノイドバルブユニット 2
4 チューブφ 6 1 14 真空フィルタ 2
5 チューブφ 6 2 15 ロボットケーブル 2
6 チューブφ 6 2
7 チューブφ 6 2
8 チューブφ 8 1
9 チューブφ 4 2
10 レギュレータ 1
1305-002

1-23
5OM-1750
エア配管図及び実装図
多機能ヘッド部 ( 実装図 )
1305-002
NOZZLE1
NOZZLE2
7
10
12
No. 名 称 個数 No. 名 称 個数 No. 名 称 個数 No. 名 称 個数
7 レギュレータ 1
10 ソレノイドバルブユニット 2
12 真空フィルタ 2