5M-1750-004w_G5S.pdf - 第162页

4-39 5OM-1750 1303-001-(31010WF---1003) CPU2 U85 接続回路 1 2 3 4 5 6 7 8 A B C D E F 24V IN 24A 10 X8500 U85 HSIO AE-LINK(RS485) A1 A2 A3 A4 B1 B2 B3 B4 CH2 10 COM A 24B1 COM B A1 A2 A3 A4 B1 B2 B3 B4 CH1 X8501 X8502 SL-SRS…

100%1 / 188
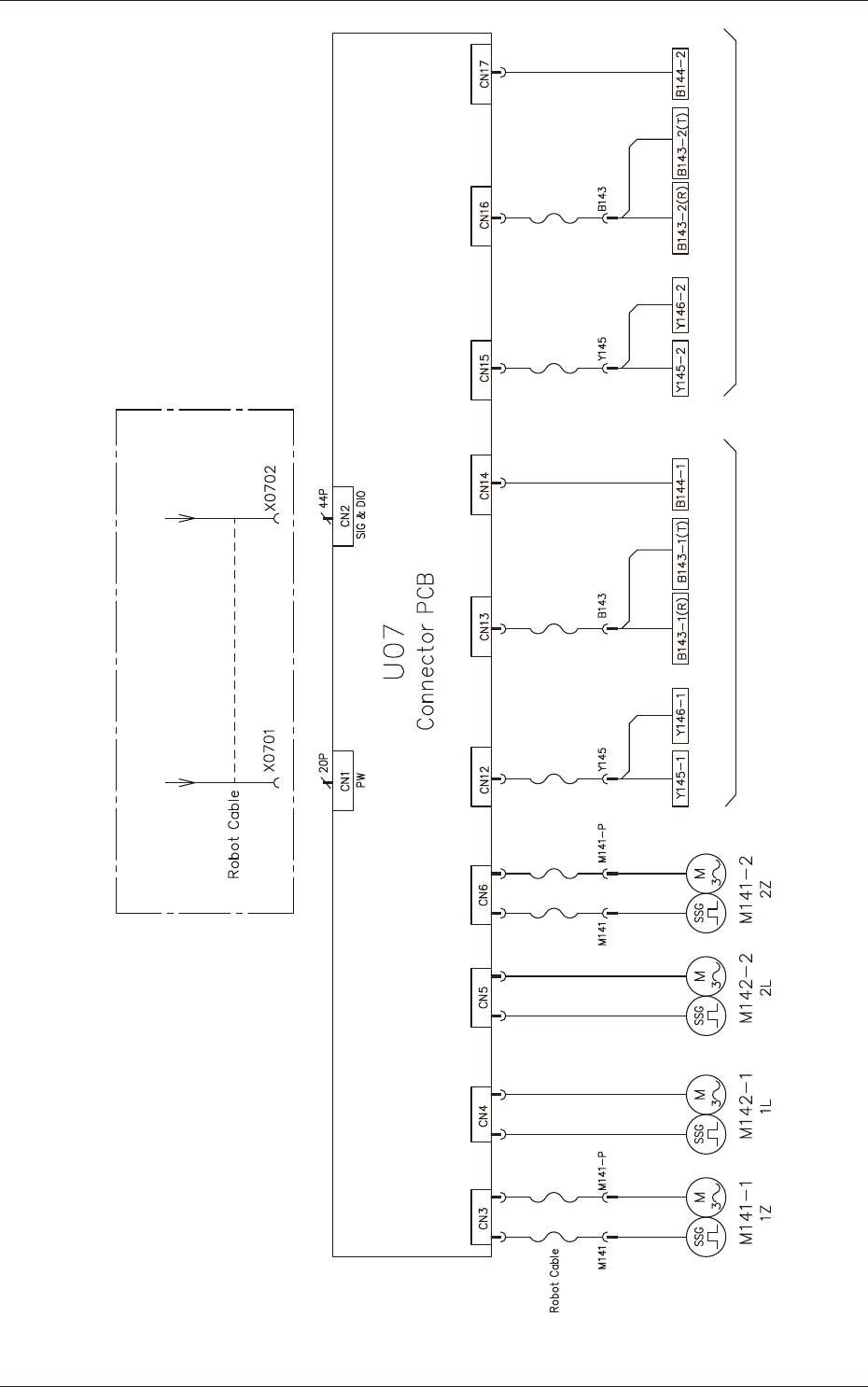
4-38
5OM-1750
1303-001-(31010WF---1002)
CPU2 U82 接続回路
1 2 3 4 5 6 7 8
A
B
C
D
E
F
X8201
SSCNET3
Motion Contorl
U82
1CH
X8203
1CH
FG
1
2
X8202
SSCNET3
2CH
1
2
J1
XY STP B1
XY STP F1
HEAD STP B1
HEAD STP F1
446
[D-/08/2B]
from U01-CN8
[D-/08/2C]
from U01-CN8
1EXSTP1
2EXSTP2
3EXSTP3
4EXSTP4
5EXSTP5
6EXSTP6
7EXSTP7
8EXSTP8
9-18---
26-43---
19-21NC
44-46NC
23COM1
24
25
48
49
50
EMI
22
EMICOM 47
COM1
COM1
COM2
COM2
COM2
FG
1EXSTP1
2EXSTP2
3EXSTP3
4EXSTP4
5EXSTP5
6EXSTP6
7EXSTP7
8EXSTP8
9-18---
26-43---
19-21NC
44-46NC
23COM1
24
25
48
49
50
EMI
22
EMICOM 47
COM1
COM1
COM2
COM2
COM2
24A3
24A3
10
24A3
24A3
2CH
[C-/01/5C]
to A21B-CN1A
[C-/03/1B]
to A31B-CNP1
U180
CPCI-bus
CONNECTOR DI
CONNECTOR DI
X8204
4-39
5OM-1750
1303-001-(31010WF---1003)
CPU2 U85 接続回路
1 2 3 4 5 6 7 8
A
B
C
D
E
F
24V IN
24A
10
X8500
U85
HSIO
AE-LINK(RS485)
A1
A2
A3
A4
B1
B2
B3
B4
CH2
10
COM A
24B1
COM B
A1
A2
A3
A4
B1
B2
B3
B4
CH1
X8501
X8502
SL-SRS
1
2
24V
GND
1
2
3
4
5
6
7
8
UP
RX+
RX-
TX+
SG
SG
TX-
SG
SG
FG
1
2
3
4
5
6
7
8
DN
X85DN
RX+
RX-
TX+
SG
SG
TX-
SG
SG
FG
1
2
3
4
5
6
7
8
T
X85T
RX+
RX-
TX+
SG
SG
TX-
SG
SG
FG
to U01-CN1
to U08-CN1
[D-/09/7B]
[N-/08/2A]
RX+
RX-
TX+
SG
SG
TX-
SG
SG
RX+
RX-
TX+
SG
SG
TX-
SG
SG
to A10-N2
[N-/04/7A]
10
COM A
24B1
COM B
[N-/01/6A]
[B-/02/7A]
U180
CPCI-bus
P1
to 搬送部
4-40
5OM-1750
多機能ヘッドブロック図
Multi-Functional Head Nozzle 1 Side
G5S Main Body Platform
Vacuum Valve Vacuum break
(Blow valve)
Height check Height check
Light emitting side
Multi-Functional Head Nozzle 2 Side
Light receiving side
Out of limitVacuum Valve Vacuum break
(Blow valve)
Height check Height check
Light emitting sideLight receiving side
Out of limit