5M-1750-004w_G5S.pdf - 第75页
1-25 5OM-1750 2 1 3 4 エア配管図及び実装図 多機能ノズルストッカ ( 実装図 ) 1305-002 No. 名 称 個数 No. 名 称 個数 No. 名 称 個数 No. 名 称 個数 1 ソレノイドバルブ 3 2 シリンダ 1 3 シリンダ 1 4 センサアンプ 1

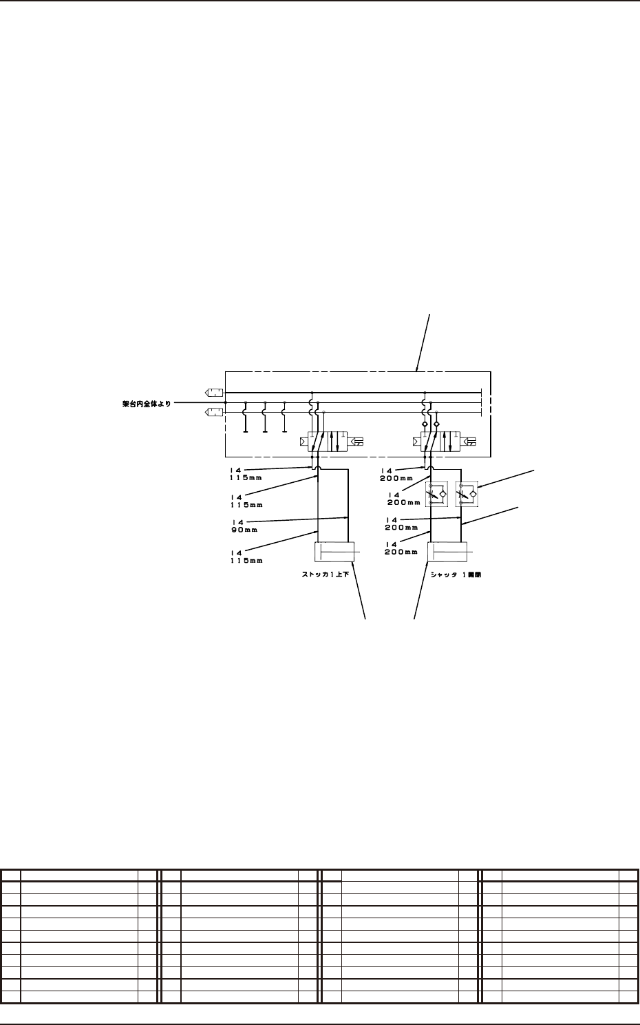
1-24
5OM-1750
4
5
2
3
1
エア配管図及び実装図
多機能ノズルストッカ ( エア配管図 )
No. 名 称 個数 No. 名 称 個数 No. 名 称 個数 No. 名 称 個数
1 チューブφ 4 1
2 ソレノイドバルブ 1
3 スピードコントローラ 2
4 シリンダ 1
5 シリンダ 1
1305-002

1-25
5OM-1750
2
1
3
4
エア配管図及び実装図
多機能ノズルストッカ ( 実装図 )
1305-002
No. 名 称 個数 No. 名 称 個数 No. 名 称 個数 No. 名 称 個数
1 ソレノイドバルブ 3
2 シリンダ 1
3 シリンダ 1
4 センサアンプ 1

5OM-1750
2-A
2 章
センサ負荷配置図
この章では、各部のセンサおよび負荷配置図を記載しています。
高度な内容を含みますので、参照する場合は、十分ご注意ください。
1303-001