RS-1_RS-1-XL_RS-1R-Rev12.pdf - 第120页
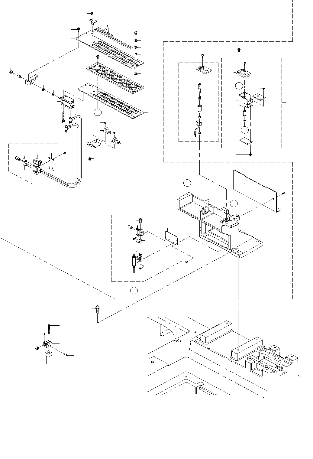
- 113 - 57. ATC & CAL BLOCK COM PONENTS (3) (TYPE XL) ATC・CAL ブロック関係(3) (XL 仕様) 60 63 51 54 55 A 68 59 66 61 62 65 53 58 57 56 52 70 5 3 41 41 38 37 36 35 47 64 30 31 A 28 13 13 14 12 8 15 11 43 7 10 25 26 27 29 32 2…

- 112 -
REF.NO NOTE PART NO D E S C R I P T I O N
品 名
Qty
1 HX-0070600-0A MOUNT BASE
マウントベース
2
2 402-11729 ATC_BASE_ASM
ATCベース組
1
3 SL-6062592-TN SCREW M6 L=25
座金付き六角穴ボルト M6 L=25
(4)
4 PH-0400122-C0 PIN
平行ピン
(2)
5 SL-6040892-TN BOLT
座金付き六角穴ボルト
(2)
6 SL-6030692-TN SCREW M3 L=6
座金付き六角穴ボルト M3 L=6
(2)
7 402-17182 ATC_BASE_RS1R
ATCベースRS1R
(1)
8 SL-4030891-SC SCREW M3 L=8
座金付きなべ小ねじ M3 L=8
(2)
9 401-82965 SENSOR_BR_RS1
センサブラケットRS1
(1)
10 PC-0105080-00 SPEED CONTROLLER
スピードコントローラ
(2)
11 401-46937 ATC_SV_20VA_ASM
ATC SV 20VA組
(1)
12 PV-1505380-00 5-PORT SOLENOID VALVE
5ポート電磁弁切換弁
(1)
13 PX-0505010-00 SILENCER
消音器
(2)
14 PJ-2100061-00 HALF UNION
ハーフユニオン
(1)
15 401-28203 ATC_SV_BRKT
ATCSVブラケット
(1)
16 SL-6040892-TN SCREW M4 L=8
座金付きなべ小ねじ M4 L=8
(2)
17 GLA-02335000 CLAMP WASHER
クランプワッシャー
(1)
18 E3528-729-000 ATC JOINT
ATCジョイント
(1)
19 401-29062 PHOTOMICRO SENSOR ASM
フォトマイクロセンサ組
(1)
20 401-29062 PHOTOMICRO SENSOR ASM
フォトマイクロセンサ組
(1)
21 SM-4030501-SC SCREW M3X0.5 L=5
なべ小ねじ M3X0.5 L=5
(4)
22 401-82966 AIR_CYLINDER_6STROKE
エアシリンダ6ストローク
(1)
23 BT-0400251-EA URETHANE TUBE BLUE 4X2.5
ポリウレタン チューブ 青 4X2.5
(1.5)
24 400-45978 SENSOR DOG
センサドグ
(1)
25 401-82969 CHIP_BOX_HANGER_RS1
チップボックスハンガーRS1
(1)
26 SM-1040801-SN SCREW M4X0.7 L=8
皿ねじ M4 L=8
(2)
27 402-17183 SLIDER_ANGLE_RS1R
スライダアングルRS1R
(1)
28 401-83481 CAL_VALVE_RS1_ASM
CALバルブRS1組
(1)
29 401-82962 CAL_VALVE_BR_RS1
CALバルブブラケットRS1
(1)
30 PF-0100030-A0 AIR SUCTION FILTER
エア サクション フィルタ
(1)
31 SM-6031202-TN SCREW M3X12
六角穴ボルト M3X12
(2)
32 PJ-3040605-02 ELBOW UNION 6XM5
エルボユニオン 6XM5
(1)
33 PV-1305410-00 3-PORT SOLENOID VALVE
3ポート電磁弁切換弁
(1)
34 PX-0505010-00 SILENCER
消音器
(1)
35 PJ-3010405-05 HALF UNION
ハーフユニオン
(1)
36 SM-1030601-SC SCREW M3X6
皿ねじ M3X6
(2)
37 400-01286 ATC SPACER RUBBER
ATCスペーサゴム
(1)
38 B2107-816-000 WASHER
座金
(1)
39 402-17185 GUIDE_SPACER_RS1R
ガイドスペーサRS1R
(1)
40 E3404-700-000 THRUST WASHER
スラストワッシャー
(2)
41 WP-0451016-SP WASHER 4.5X20X1
平座金 4.5X20X1
(1)
42 401-28190 ATC_PIN
ATCピン
(2)
43 402-17184 CYLINDER_BR_RS1R
シリンダブラケットRS1R
(1)
44 SM-1051052-TN PLATE SCREW M5 L=10
皿ねじ M5 L=10
(2)
45 SM-6041202-TN SCREW M4X0.7 L=12
六角穴ボルト M4X0.7 L=12
(1)
46 SL-6030692-TN SCREW M3 L=6
座金付き六角穴ボルト M3 L=6
(1)
47 SL-6044092-TN SCREW
座金付き六角穴ボルト
(2)
48 SM-6040802-TN SCREW M4X0.7 L=8
六角穴ボルト M4X0.7 L=8
(2)
49 402-18664 CAL_BLOCK_RS1R_ASM
CALブロックRS1R組
1
50 L202E-621-000 CAL DIFFUSER
CALディフューザ
(1)
51 SL-4030691-SC SCREW M3 L=6
座金付きなべ小ねじ M3 L=6
(2)
52 PJ-3010405-05 HALF UNION
ハーフユニオン
(1)
53 400-07376 CALBLOCK PCB ASM
CALブロック基板組
(1)
54 401-82961 CAL_PLATE_RS1
CALプレートRS1
(1)
55 SL-4030691-SC SCREW M3 L=6
座金付きなべ小ねじ M3 L=6
(2)
56 402-17186 CAL_SIDE_COVER_RS1R
CALサイドカバーRS1R
(1)
57 SM-6030602-TN SCREW M3X6
六角穴ボルト M3X6
(2)
58 401-83480 NOZZLE_CAL_PIECE_ASM
ノズルCALピース組
1
59 L203E-121-000 NOZZLE CAL PIECE OUTER SP
ノズルCALピーススプリング
(1)
60 401-82976 CAL_SUB_PLATE_RS1_CD
CALサブプレートRS1_CD
(1)
61 401-82964 CAL_POST_HOUSING_RS1
CALハウジングRS1
(1)
62 NM-6050001-SC NUT M5X0.8 TYPE1
六角ナット M5X0.8 1種
(1)
63 401-29080 AIR(N) SENSOR CABLE ASM
エア(N) センサケーブル組
(1)
64 PJ-0205000-02 PLUG
プラグ
(1)
65 401-82963 CAL_POST_RS1
CALポストRS1
(1)
66 SM-1051452-TN PLATE SCREW M5 L=14
皿ねじ M5 L=14
(2)
67 402-17391 ATC_REMOVABLE_ASM
ATC脱着組
1
68 SM-6041002-TN BOLT
六角穴ボルト
(4)
69 401-51721 GUIDE_SPACER
ガイドスペーサ
(2)
70 402-17178 SLIDE_PLATE_ST
スライドプレートST
(1)
71 E7308-700-000 THRUST WASHER
スラストワッシャ
(4)
72 WP-0431005-SP PLAIN WASHER
平座金
(2)
73 402-17176 ATC_BASE_PLATE_ST
ATCベースプレートST
(1)
74 401-82970 ATC_LABEL_RS1
ATCラベルRS1
(1)
75 SL-6041042-TN BOLT
座金付き六角穴ボルト
(2)
76 SL-6040892-TN BOLT
座金付き六角穴ボルト
(4)
77 402-17177 SLIDE_BASE_ST
スライドベースST
(1)
78 401-93605 PARALLEL_PIN_D4X16
平行ピン 4X16
1
79 SM-8030302-TP SCREW M3X0.5 L=3
止めねじ M3X0.5 L=3
2
80 SM-6043552-TN SCREW M4 L=35
六角穴付きボルト
2
81 401-86607 UPPER_EDGE_SUPPORT_ROLLER
アッパーエッジサポートローラ
1
82 401-86608 ROLLER_BASE
ローラーベース
1
83 401-86610 SPACER_R
スペーサーR
1
84 402-17179 ATC_BASE_PLATE_OP
ATCベースプレートOP
1
85 402-17180 SLIDE_BASE_OP
スライドベースOP
1
86 402-17181 SLIDE_PLATE_OP
スライドプレートOP
1
87 SL-6040892-TN SCREW M4 L=8
座金付き六角穴ボルト M4 l=8
4
88 401-51721 GUIDE_SPACER
ガイドスペーサ
2
89 E7308-700-000 THRUST WASHER
スラストワッシャ
4
90 WP-0431005-SP PLAIN WASHER
平座金
2
91 SL-6041042-TN SCREW M4 L=10
座金付き六角穴ボルト M4 L=10
2
92 SM-6041002-TN SCREW
六角穴ボルト
4

- 113 -
57.ATC & CAL BLOCK COMPONENTS (3) (TYPE XL)
ATC・CAL ブロック関係(3)(XL 仕様)
60
63
51
54
55
A
68
59
66
61
62
65
53
58
57
56
52
70
5
3
41
41
38
37
36
35
47
64
30
31
A
28
13
13
14
12
8
15
11
43
7
10
25
26
27
29
32
24
21
34
33
23
22
22
20
18
17
19
39
40
42
44
45
46
48
49
B
B
10
9
16
50
C
C
67
69
6
71
73
72
1
4
2

- 114 -
REF.NO NOTE PART NO D E S C R I P T I O N
品 名
Qty
1 401-86607 UPPER_EDGE_SUPPORT_ROLLER
アッパーエッジサポートローラ
1
2 401-86608 ROLLER_BASE
ローラーベース
1
3 SL-6062592-TN SCREW M6 L=25
座金付き六角穴ボルト M6 L=25
4
4 401-86610 SPACER_R
スペーサーR
1
5 401-83478 ATC_RS1_ASM
ATC_RS1組
1
6 SL-6030692-TN SCREW M3 L=6
座金付き六角穴ボルト M3 L=6
(2)
7 401-82955 ATC_BASE_RS1
ATCベースRS1
(1)
8 SL-4030891-SC SCREW M3 L=8
座金付きなべ小ねじ M3 L=8
(2)
9 401-82965 SENSOR_BR_RS1
センサブラケットRS1
(1)
10 PC-0105080-00 SPEED CONTROLLER
スピードコントローラ
(2)
11 401-46937 ATC_SV_20VA_ASM
ATC SV 20VA組
(1)
12 PV-1505380-00 5-PORT SOLENOID VALVE
5ポート電磁弁切換弁
(1)
13 PX-0505010-00 SILENCER
消音器
(2)
14 PJ-2100061-00 HALF UNION
ハーフユニオン
(1)
15 401-28203 ATC_SV_BRKT
ATCSVブラケット
(1)
16 SL-6040892-TN SCREW M4 L=8
座金付きなべ小ねじ M4 L=8
(2)
17 401-82959 ATC_BASE_PLATE_RS1
ATCベースプレートRS1
(1)
18 401-82958 SLIDE_BASE_RS1
スライドベースRS1
(1)
19 SM-1051452-TN PLATE SCREW M5 L=14
皿ねじ M5 L=14
(4)
20 401-51721 GUIDE_SPACER
ガイドスペーサ
(2)
21 401-82957 SLIDE_PLATE_RS1
スライドプレートRS1
(1)
22 E7308-700-000 THRUST WASHER
スラストワッシャ
(4)
23 WP-0431005-SP PLAIN WASHER
平座金
(2)
24 401-83481 CAL_VALVE_RS1_ASM
CALバルブRS1組
(1)
25 PV-1305410-00 3-PORT SOLENOID VALVE
3ポート電磁弁切換弁
(1)
26 PX-0505010-00 SILENCER
消音器
(1)
27 PJ-3010405-05 HALF UNION
ハーフユニオン
(1)
28 SM-6031202-TN SCREW M3X12
六角穴ボルト M3X12
(2)
29 401-82962 CAL_VALVE_BR_RS1
CALバルブブラケットRS1
(1)
30 PF-0100030-A0 AIR SUCTION FILTER
エア サクション フィルタ
(1)
31 SM-1030601-SC SCREW M3X6
皿ねじ M3X6
(2)
32 PJ-3040605-02 ELBOW UNION 6XM5
エルボユニオン 6XM5
(1)
33 400-45978 SENSOR DOG
センサドグ
(1)
34 SL-6030692-TN SCREW M3 L=6
座金付き六角穴ボルト M3 L=6
(1)
35 400-01286 ATC SPACER RUBBER
ATCスペーサゴム
(1)
36 B2107-816-000 WASHER
座金
(1)
37 GLA-02335000 CLAMP WASHER
クランプワッシャー
(1)
38 E3528-729-000 ATC JOINT
ATCジョイント
(1)
39 401-29062 PHOTOMICRO SENSOR ASM
フォトマイクロセンサ組
(1)
40 401-29062 PHOTOMICRO SENSOR ASM
フォトマイクロセンサ組
(1)
41 SM-4030501-SC SCREW M3X0.5 L=5
なべ小ねじ M3X0.5 L=5
(4)
42 401-82966 AIR_CYLINDER_6STROKE
エアシリンダ6ストローク
(1)
43 BT-0400251-EA URETHANE TUBE BLUE 4X2.5
ポリウレタン チューブ 青 4X2.5
(1.5)
44 401-82970 ATC_LABEL_RS1
ATCラベルRS1
(1)
45 401-82969 CHIP_BOX_HANGER_RS1
チップボックスハンガーRS1
(1)
46 SM-1040801-SN SCREW M4X0.7 L=8
皿ねじ M4 L=8
(2)
47 SL-6041092-TN SCREW M4 L=10
座金付き六角穴ボルト M4 L=10
(4)
48 401-82960 SLIDER_ANGLE_RS1
スライダアングルRS1
(1)
49 SL-6041042-TN BOLT
座金付き六角穴ボルト
(2)
50 SL-6044092-TN SCREW
座金付き六角穴ボルト
(2)
51 401-83479 CAL_BLOCK_RS1_ASM
CALブロックRS1組
1
52 PJ-3010405-05 HALF UNION
ハーフユニオン
(1)
53 400-07376 CALBLOCK PCB ASM
CALブロック基板組
(1)
54 401-82961 CAL_PLATE_RS1
CALプレートRS1
(1)
55 BT-0400251-EB URETHANE HOSE, BLACK
ウレタンホース 黒
(0.3)
56 L202E-521-000 CAL SIDE COVER
CALサイドカバー
(1)
57 SM-6030602-TN SCREW M3X6
六角穴ボルト M3X6
(2)
58 L202E-621-000 CAL DIFFUSER
CALディフューザ
(1)
59 SL-4030691-SC SCREW M3 L=6
座金付きなべ小ねじ M3 L=6
(2)
60 401-83480 NOZZLE_CAL_PIECE_ASM
ノズルCALピース組
1
61 401-82964 CAL_POST_HOUSING_RS1
CALハウジングRS1
(1)
62 NM-6050001-SC NUT M5X0.8 TYPE1
六角ナット M5X0.8 1種
(1)
63 401-29080 AIR(N) SENSOR CABLE ASM
エア(N) センサケーブル組
(1)
64 PJ-0205000-02 PLUG
プラグ
(1)
65 401-82963 CAL_POST_RS1
CALポストRS1
(1)
66 L203E-121-000 NOZZLE CAL PIECE OUTER SP
ノズルCALピーススプリング
(1)
67 401-82976 CAL_SUB_PLATE_RS1_CD
CALサブプレートRS1_CD
(1)
68 SL-4030891-SC SCREW M3 L=8
座金付きなべ小ねじ M3 L=8
2
69 SM-6040802-TN SCREW M4X0.7 L=8
六角穴ボルト M4X0.7 L=8
2
70 SM-1051452-TN PLATE SCREW M5 L=14
皿ねじ M5 L=14
2
71 401-93605 PARALLEL_PIN_D4X16
平行ピン 4X16
1
72 SM-8030302-TP SCREW M3X0.5 L=3
止めねじ M3X0.5 L=3
2
73 SM-6043552-TN SCREW M4 L=35
六角穴付きボルト
2