RS-1_RS-1-XL_RS-1R-Rev12.pdf - 第184页
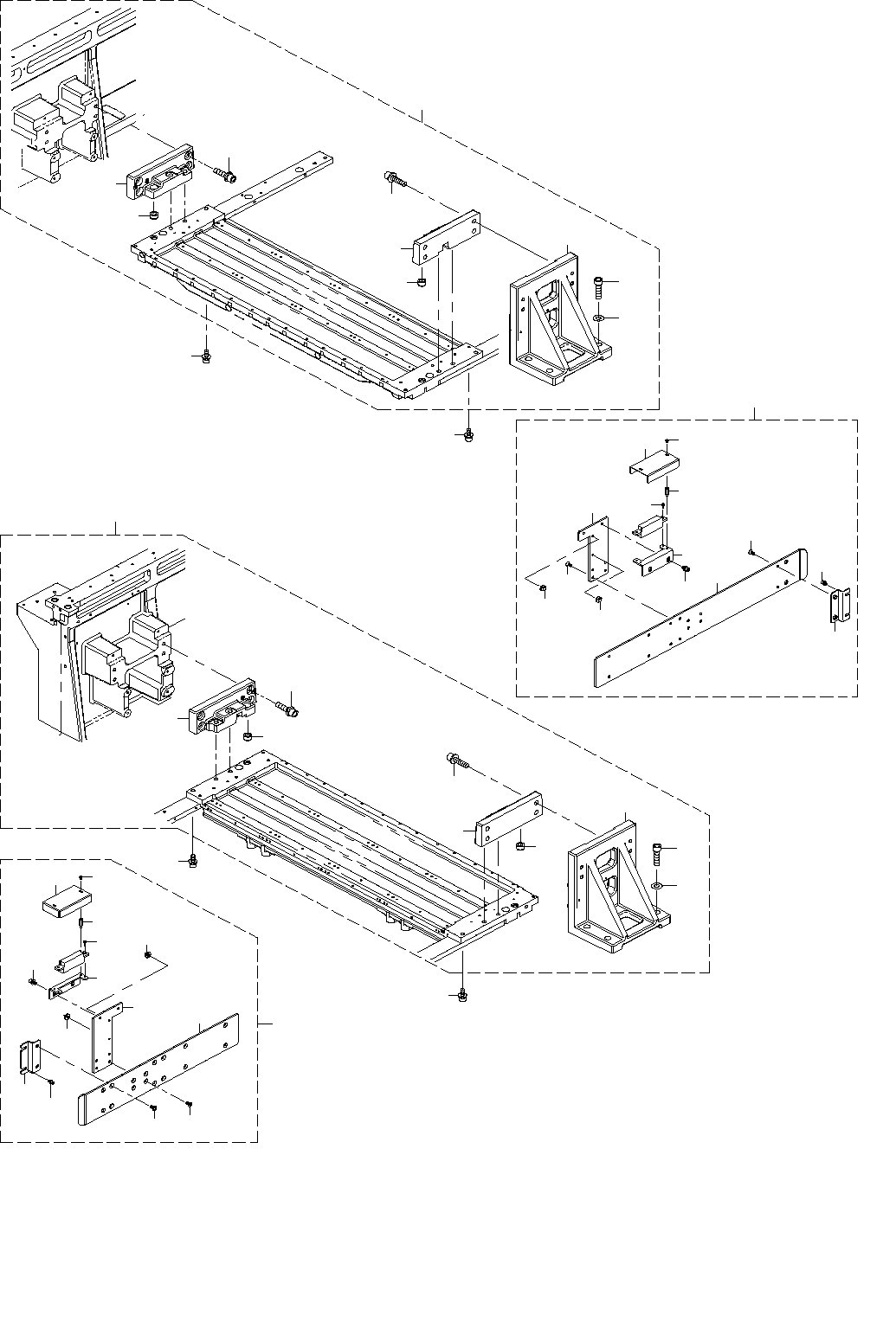
- 177 - 89. FEEDER BANK COMPONENTS (4) フィーダバンク関係(4) 3 2 4 10 6 8 5 7 9 1 24 14 15 16 17 18 18 19 20 21 22 23 13 29 11 11 3 4 2 1 11 12 11 10 6 7 5 9 8 37 28 35 34 27 32 32 30 31 33 25 26 23 36 36

- 176 -
REF.NO NOTE PART NO D E S C R I P T I O N
品 名
Qty
1 402-15491 REEL_HOLDER_U
リールホルダU
1
2 402-15492 REEL_HOLDER_PLATE_ASM
リールホルダプレート組
(28)
3 402-15120 REEL_HOLDER_PLATE
リールホルダプレート
(2)
4 402-15133 ROLLER_SHAFT
ローラシャフト
(2)
5 E3602-706-000 GUIDE ROLLER 12/16
ガイドローラ12/16
(2)
6 E3602-706-000 GUIDE ROLLER 12/16
ガイドローラ12/16
(28)
7 402-15119 REEL_HOLDER_SH_XL_B
リールホルダシャフトXL_B
(1)
8 SL-4040891-SC SCREW M4X8
座金付きなべ小ねじ M4 L=8
(2)
9 402-15118 REEL_HOLDER_STAY
リールホルダステー
(1)
10 SM-3051052-TN SCREW M5 L=10
丸ねじ M5 L=10
(4)
11 402-15495 REEL_HOLDER_B_FIX
リールホルダB固定
1
12 402-15493 REEL_HOLDER_B
リールホルダB
(1)
13 402-15121 TAPE_HOLDER_PL_L_XL
テープホルダプレートL_XL
(1)
14 402-15122 TAPE_HOLDER_PL_R_XL
テープホルダプレートR_XL
(1)
15 402-15137 T_BOX_FRAME
トラッシュボックスフレーム
(2)
16 SM-3040652-TN SCREW M4 L=6
丸ねじ M4 L=6
(8)
17 402-15134 SLIT_PLATE
スリットプレート
(3)
18 SL-4040891-SC SCREW M4X8
座金付きなべ小ねじ M4 L=8
(6)
19 402-15136 T_BOX_STAY
トラッシュボックスステー
(4)
20 SL-4040891-SC SCREW M4X8
座金付きなべ小ねじ M4 L=8
(8)
21 402-15119 REEL_HOLDER_SH_XL_B
リールホルダシャフトXL_B
(2)
22 E3602-706-000 GUIDE ROLLER 12/16
ガイドローラ12/16
(60)
23 402-15116 WASHER
ワッシャ
(20)
24 SL-4040891-SC SCREW M4X8
座金付きなべ小ねじ M4 L=8
(4)
25 402-15135 SEPARATION_PLATE_RS
セパレーションプレートRS
(27)
26 401-85550 TRASH_BOX
トラッシュボックス
(1)
27 401-84971 POSITION_LAVEL_56
ポジションラベル56
(2)
28 402-15494 REEL_HOLDER_B_FIX_PARTS
リールホルダB固定パーツ
(1)
29 400-94860 TH_CASTER
THキャスター
(2)
30 SL-4040891-SC SCREW M4X8
座金付きなべ小ねじ M4 L=8
(8)
31 402-15138 TH_CASTER_BR
THキャスターBR
(2)
32 SL-4040891-SC SCREW M4X8
座金付きなべ小ねじ M4 L=8
(4)
33 400-89239 E_TROLLEY_PLATE
Eトロリープレート
(2)
34 SM-1050801-SC SCREW M5X0.8 L=8
皿小ねじ M5X0.8 L=8
(2)
35 NM-6050001-SC NUT M5X0.8 TYPE1
六角ナット M5X0.8 1種
(2)
36 402-15496 REGULATTION_BAR_FIX
レギュレーションバー固定
1
37 E3602-706-000 GUIDE ROLLER 12/16
ガイドローラ12/16
(31)
38 402-15115 REEL_HOLDER_SH_XL_U
リールホルダシャフトXL_U
(1)
39 402-15116 WASHER
ワッシャ
(30)
40 402-15113 R_BAR_SUPPORT_L
RバーサポートL
(1)
41 402-15114 R_BAR_SUPPORT_R
RバーサポートR
(1)
42 402-15117 REGULATION_BAR_TR
レギュレーションバーTR
(1)
43 SL-6061292-TN SCREW M6 L=12
座金付き六角穴ボルト M6 L=12
(4)
44 402-15123 R_HOLDER_U_BR_L
リールホルダUブラケットL
(1)
45 NM-6040001-SC NUT M4X0.7 TYPE1
六角 ナット M4X×0.7 1種
(2)
46 SL-4041091-SC SCREW M4 L=10
座金付きなべ小ねじ M4 L=10
(1)
47 SM-3041052-TN SCREW M4 L=10
丸ねじ M4 L=10
(2)
48 402-15124 R_HOLDER_U_BR_R
リールホルダUブラケットR
(1)
49 NM-6040001-SC NUT M4X0.7 TYPE1
六角ナット M4X×0.7 1種
(2)
50 SL-4041091-SC SCREW M4 L=10
座金付きなべ小ねじ M4 L=10
(1)
51 SM-3041052-TN SCREW M4 L=10
丸ねじ M4 L=10
(2)
52 SL-6061292-TN SCREW M6 L=12
座金付き六角穴ボルト M6 L=12
4
53 402-15157 STOPPER
ストッパー
4
54 402-15158 GUIDE
ガイド
4
55 SL-6040892-TN SCREW M4 L=8
座金付き六角穴ボルト M4 L=8
8
56 SL-6061292-TN SCREW M6 L=12
座金付き六角穴ボルト M6 L=12
8
57 401-89896 TRASH_GUIDE_L2
トラッシュガイド_L2
2
58 401-89897 TRASH_GUIDE_C2
トラッシュガイド_C2
2
59 401-89898 TRASH_GUIDE_R2
トラッシュガイド_R2
2
60 401-89899 TRASH_GUIDE_RS2
トラッシュガイド_RS2
2
61 SL-3061232-TN SCREW M6 L=12
座金付きボタンボルト M6 L=12
8
62 400-81751 B_COVER_SCREW
Bカバースクリュウ
12
63 NM-3040520-SF FLANGE NUT M4
フランジ付き ナット M4
12
64 401-99894 SEALING_PACKING_140
シーリングパッキン140
9
65 402-15156 SHOOT_COVER
シュートカバー
2
66 402-15058 DUCT_BR_F
ダクト_BR_F
4
67 SL-3061232-TN SCREW M6 L=12
座金付きボタンボルト M6 L=12
4
68 401-88171 BANK_UNIT_R_COVER
バンクユニットRカバー
1
69 401-81844 COVER_RUB_BR_F
カバー_RUBブラケットF
(2)
70 SL-6051092-TN SCREW M5 L=10
座金付き六角穴ボルト M5 L=10
(2)
71 WP-1052001-SC WASHER 10
平座金みがき丸 M10
(2)
72 SL-6102042-TN SCREW M10 L=20
座金付き六角穴ボルト M10 L=20
(2)
73 401-88176 COVER_RUC_S
カバー_RUC_S
(1)
74 SL-3061232-TN SCREW M6 L=12
座金付きボタンボルト M6 L=12
(5)
75 401-88177 COVER_RUC_BR
カバー_RUCブラケット
(2)
76 NM-3040520-SF FLANGE NUT M4
フランジ付き ナット M4
(2)
77 400-81751 B_COVER_SCREW
Bカバースクリュウ
(4)
78 401-58856 COVER_RUB
カバー_RUB
(1)
79 SL-6061092-TN SCREW M6 L=10
座金付き六角穴ボルト M6 L=10
(4)

- 177 -
89.FEEDER BANK COMPONENTS (4)
フィーダバンク関係(4)
3
2
4
10
6
8
5
7
9
1
24
14
15
16
17
18
18
19
20
21
22
23
13
29
11
11
3
4
2
1
11
12
11
10
6
7
5
9
8
37
28
35
34
27
32
32
30
31
33
25
26
23
36
36

- 178 -
NOTE( 注記 ) #01....FOR FRONT OF THE MACHINE マシン前側用
#02....FOR REAR OF THE MACHINE マシン後側用
REF.NO NOTE PART NO D E S C R I P T I O N
品 名
Qty
1 401-83611 BUNK_SUPPORT_ASM
バンクサポート組
2
2 401-83147 BANK_SUP_B_L
バンク_SUP_B_L
(1)
3 SL-6083092-TN SCREW M8 L=30
座金付き六角穴ボルト M8 L=30
(4)
4 E2623-721-000 BANK LOCATE BUSH B
バンクロケートブッシュB
(1)
5 401-09098 BANK_SUP_A
バンク_SUP_A
(1)
6 SL-6104042-TN BOLT
座金付き六角穴ボルト
(4)
7 WP-1052001-SC WASHER 10
平座金みがき丸 M10
(4)
8 401-83149 BANK_SUP_B_R
バンク_SUP_B_R
(1)
9 SL-6083092-TN SCREW M8 L=30
座金付き六角穴ボルト M8 L=30
(4)
10 E2623-721-000 BANK LOCATE BUSH B
バンクロケートブッシュB
(1)
11 SL-6082092-TN SCREW M8 L=20
座金付き六角穴ボルト M8 L=20
4
12
#01
401-83612 GUIDE_RAIL_FL_ASM
ガイドレールFL組
1
13 401-83192 BANK_CONNECTOR_B_BR
バンクコネクタ_B_ブラケット
(1)
14 401-83209 CONNECTOR_B_COVER
コネクタBカバー
(1)
15
#01
401-83193 ROLLER_GUIDE_F
ローラガイド_F
(1)
16 400-93852 ROLLER_GUIDE_SUPPORT_FL
ローラガイドサポートFL
(1)
17 SL-6040892-TN SCREW M4 L=8
座金付き六角穴ボルト M4 L=8
(2)
18 SM-1051052-TN PLATE SCREW M5 L=10
皿ねじ M5 L=10
(10)
19 SL-6051092-TN SCREW M5 L=10
座金付き六角穴ボルト M5 L=10
(2)
20 SM-6030802-TN SCREW
六角穴ボルト
(2)
21 HX-0035400-00 STUD
基板パーツ
(2)
22 SM-3030552-TN SCREW M3 L=5
丸ねじ M3 L=5
(2)
23 HX-0070600-0A MOUNT BASE
マウントベース
(2)
24 401-83191 BANK_CONNECTOR_B_SUPPORT_BR
バンクコネクタ_B_サポートブラケット
(1)
25
#02
401-83613 GUIDE_RAIL_RL_ASM
ガイドレールRL組
1
26 401-83191 BANK_CONNECTOR_B_SUPPORT_BR
バンクコネクタ_B_サポートブラケット
(1)
27 401-83192 BANK_CONNECTOR_B_BR
バンクコネクタ_B_ブラケット
(1)
28 401-83209 CONNECTOR_B_COVER
コネクタBカバー
(1)
29
#02
401-83205 ROLLER_GUIDE_R
ローラガイド_R
(1)
30 400-93852 ROLLER_GUIDE_SUPPORT_FL
ローラガイドサポートFL
(1)
31 SL-6040892-TN SCREW M4 L=8
座金付き六角穴ボルト M4 L=8
(2)
32 SM-1051052-TN PLATE SCREW M5 L=10
皿ねじ M5 L=10
(10)
33 SL-6051092-TN SCREW M5 L=10
座金付き六角穴ボルト M5 L=10
(2)
34 SM-6030802-TN SCREW
六角穴ボルト
(2)
35 HX-0035400-00 STUD
基板パーツ
(2)
36 HX-0070600-0A MOUNT BASE
マウントベース
(2)
37 SM-3030552-TN SCREW M3 L=5
丸ねじ M3 L=5
(2)