SM421 Introduction(Chi Ver1).pdf - 第91页

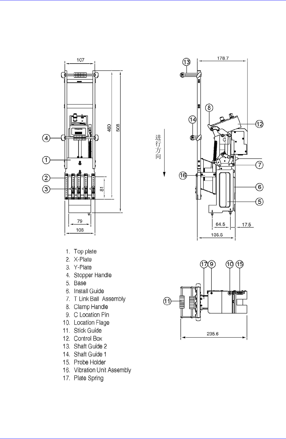
Module Function 6-21 6.11.2. 振动杆式喂料器( V ibration stick feeder ) 多数 vibration stick feeder 是把通过 S tick 来供应 的 SOP , SOJ, PLCC 等部品,用震动 器的震动沿着直线方向移送的装 备。它通过横向排列 S tick 的方法来供 应部品,可 以排列 4 条 Stick 。 图 6-19. 振动杆式喂料器 (V ibratio n…

100%1 / 115
Samsung Component Placer SM421 Introduction
6-20
根据 Tape Feeder 种类不同吸附点的 Z 值可取不同值。另外,因不同的部件供
Tape 种类该值可取不同值,Embossed Tape 的高度应该低于 Paper Tape 高度
Embossed Tape 时,请参照部件 Tape 规格,适当地设置吸附点的 Z 值。
基准面
Z = 0
Paper Tape Embossed Tape
Z > 0
Z < 0
Ta
p
e Guide
Frame
Module Function
6-21
6.11.2. 振动杆式喂料器(Vibration stick feeder
多数 vibration stick feeder 是把通过 Stick 来供应 SOP, SOJ, PLCC 等部品,用震动
器的震动沿着直线方向移送的装备。它通过横向排列 Stick 的方法来供应部品,可
以排列 4 Stick
6-19.
振动杆式喂料器
(Vibration stick feeder)
基准面
Samsung Component Placer SM421 Introduction
6-22
6.12. 压缩气动部分
空压一般设置为 0.45 ~ 0.55 Mpa 使用,通过设备后面下端的 Air Filter 供给。
供给空气的一部分使用于运行设置在Feeder BaseSM给料器 一部分使用于驱动
ANC , 另外一部分使用于贴装头发生真空 , 其余一部分使用于运行输送器的各
StopperBackup Table
6-20
压缩气动部分
如果压力低于适当标准,设备可能会无规律运行。一般来
,合适的气压为0.45 0.55 Mpa
Air Filter
Regulato
r
Pressure Gauge
Manifold