XP243 机械图.pdf - 第23页
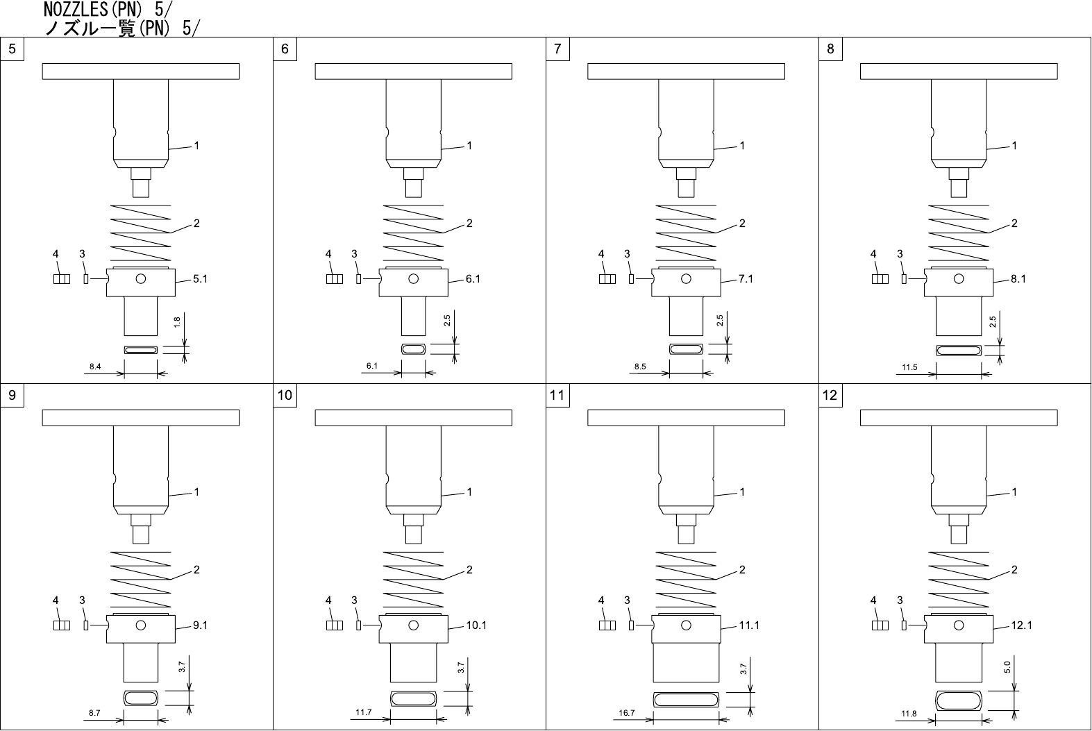
NOZZLES(PN) 5/ ノズル一覧(PN) 5/ No. Drg.No. & Code No. QTY Description Rating Materials Remarks 番号 図番 & コード番号 個数 品名 規格 材質 備考 1 ADNPN7420 1 HOLDER ホルダ OT 2 DEPN3241 1 SPRING スプリング FE 3 DBPH0151 2 BLOCK 駒 CO 4 N4019A …

22

NOZZLES(PN) 5/
ノズル一覧(PN) 5/
No. Drg.No. & Code No. QTY Description Rating Materials Remarks
番号 図番 & コード番号 個数 品名 規格 材質 備考
1 ADNPN7420 1 HOLDER
ホルダ
OT
2 DEPN3241 1 SPRING
スプリング
FE
3 DBPH0151 2 BLOCK 駒 CO
4 N4019A 2 SCREW, HEX SOCKET SET
ネジ 六角穴止め
M03X004 クボミサキ FE
5 ADNPN7250 1 NOZZLE
ノズル
OT
5.1 DNPN3111 1 NOZZLE
ノズル
OT
6 ADNPN7260 1 NOZZLE
ノズル
OT
6.1 DNPN3121 1 NOZZLE
ノズル
OT
7 ADNPN7270 1 NOZZLE
ノズル
OT
7.1 DNPN3131 1 NOZZLE
ノズル
OT
8 ADNPN7280 1 NOZZLE
ノズル
OT
8.1 ADNPN7701 1 NOZZLE
ノズル
OT
9 ADNPN7290 1 NOZZLE
ノズル
OT
9.1 DNPN3151 1 NOZZLE
ノズル
OT
10 ADNPN7300 1 NOZZLE
ノズル
OT
10.1 ADNPN7711 1 NOZZLE
ノズル
OT
11 ADNPN7310 1 NOZZLE
ノズル
OT
11.1 ADNPN7721 1 NOZZLE
ノズル
OT
12 ADNPN7320 1 NOZZLE
ノズル
OT
12.1
ADNPN7731
1
NOZZLE
ノズル
OT
23

24