00195169-01 SA Kabelschlepp.pdf - 第31页
Kabelschlepp (IGUS) tauschen bei X-Serie ab B-079 [03021065- xx] Einbau Serviceanleitung Kabelschlepp tauschen SIPLACE HF und X-Serie 31 4.5 Einbau VORSICHT: Hantieren Sie vorsichtig mit dem neu- en Kabelschlepp und nehm…

Kabelschlepp (IGUS) tauschen bei X-Serie ab B-079 [03021065-xx]
Ausbau
30 Serviceanleitung Kabelschlepp tauschen SIPLACE HF und X-Serie
X Lösen Sie die Flachbandkabel (1) an der Kopf-
platine (2).
X Lösen Sie die Kamerakabel (3) an der Kopf-
platine (2).
X Lösen Sie die Befestigungsschrauben der
Klemmung-X Kabelschlepp (4) und die beiden
Klemmungen (5) am Portalrücken.
HINWEIS: Klemmung bleibt erhalten
X Es werden nur die Befestigungs-
schrauben gelöst. Die Klemmung
der Flachbandkabel bleibt erhalten.
X Achten Sie auf die Kontaktschei-
ben und Abstandsbolzen (nicht ver-
lieren und den Einbauort
kennzeichnen). Diese müssen
beim späteren Wiedereinbau an
der selben Stelle wieder montiert
werden.
X Ziehen Sie die Schläuche am Pneumatikver-
teiler (7) ab.
WARNUNG: Verletzungsgefahr der
Hände
X Benutzen Sie zum Entfernen des
Schlauches das Entriegelungs-
werkzeug für Schläuche
[03047090-xx].
X Lösen Sie die 4 Befestigungsschrauben (6)
der Kabelschleppkonsole und entnehmen Sie
den kompletten Kabelschlepp vorsichtig aus
der Maschine. Die Befestigungsschrauben
sind mit Loctite gesichert.

Kabelschlepp (IGUS) tauschen bei X-Serie ab B-079 [03021065-xx]
Einbau
Serviceanleitung Kabelschlepp tauschen SIPLACE HF und X-Serie
31
4.5 Einbau
VORSICHT:
Hantieren Sie vorsichtig mit dem neu-
en Kabelschlepp und nehmen Sie
eine zweite Person zur Hilfe. Die
Flachbandkabel und Pneumatik-
schläuche dürfen nicht scheuern oder
knicken. Achten Sie auf scharfe Kan-
ten.
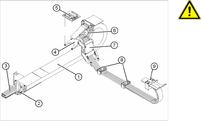
1. Kabelschlepp komplett
2. Halteblock
3. Pneumatikschläuche (auf optimale Länge mit
Lehre kürzen)
4. Halterung für Portal-Interface
5. Portal-Interface
6. Anschlussstück für Kühlschläuche zum Y-Mo-
tor
7. Kabelschleppkonsole
8. Klemmung auf Portalrücken
9. Klemmung X-Kabelschlepp
X Bringen Sie den neuen Kabelschlepp (1) vor-
sichtig in die vorgegebene Lage. Achten Sie
darauf, dass Sie den Kabelschlepp nicht ver-
drehen.
X Sichern Sie die Enden vorläufig am Maschi-
nenständer (anbinden etc.).
X Montieren Sie die Portal-Interface-Platine (5)
auf die Halterung (4) des neuen Kabel-
schlepps.

Kabelschlepp (IGUS) tauschen bei X-Serie ab B-079 [03021065-xx]
Einbau
32 Serviceanleitung Kabelschlepp tauschen SIPLACE HF und X-Serie
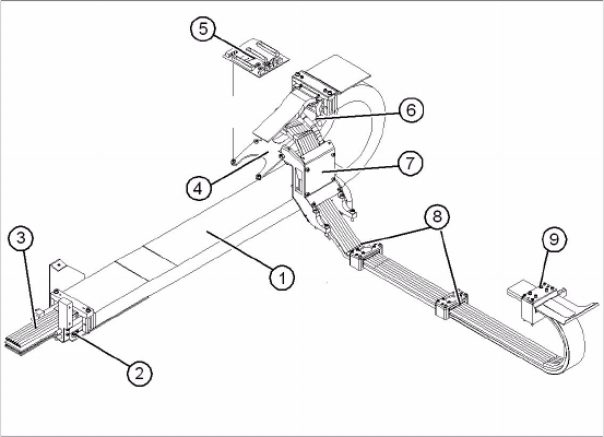
X Befestigen Sie die Kabelschleppkonsole (7)
locker mit einer Schraube.
X Reinigen Sie die Auflagefläche des Kabel-
schlepps am Maschinenständer mit einem
trockenen Tuch.
X Verlegen Sie, ausgehend von der Kabel-
schleppkonsole (7), alle Kabel und Schläuche
zu den entsprechenden Anschlüssen.
X Stellen Sie die elektrischen Anschlüsse an der
Kopfplatine wieder her. Beachten Sie dabei
die Anschlussbelegungen.
X Stellen Sie die pneumatischen Anschlüsse am
Pneumatikverteiler wieder her. Beachten Sie
dabei die Anschlussbelegungen.
X Die Pneumatikschläuche müssen mit der Leh-
re auf die auf die optimale Länge gekürzt wer-
den. Sehen Sie dazu Abschnitt 4.2
Kabelschlepp vorbereiten [J 24]. Sie müs-
sen sicher einrasten und dürfen nicht knicken.
X Schrauben Sie die Klemmungen (8) und (9)
locker an.
X Überprüfen Sie, dass die Energieführungsket-
te parallel auf der Auflage am Maschinenstän-
der läuft. Fahren Sie dazu die Y-Achse hin und
her.
X Korrigieren Sie ggf. an der Kabelschleppkon-
sole (7) und an den Klemmungen (8) und (9).
X Fixieren Sie die beiden Klemmungen (8) und
(9).und die Kabelschleppkonsole (7). Verwen-
den Sie dazu Schraubensicherungslack Locti-
te 241.
X Ziehen Sie die Befestigungsschrauben der
Kabelschleppkonsole (7) über Kreuz fest.