NPM_Parts List V2_3_N7203A329B03.pdf - 第238页
18 基板下受けブロック(デュアルコンベアデュアルモード):N PM Board Support Block(Dual Conveyor Dual mode):NPM パーツレイアウト Ki t N o . キット 品番 Kit N am e キット名称 N6 1009 495 4AA セクションNo. PARTS LAYOUT Section No. - - O131 ( KN610094954AA-04 )

Ref
No.
Remarks
R
1
Q'ty
17-F
基
板
ホルダデュアル対応:NPM
Board Holder For Dual:NPM
イラスト
No.
Part No.
品 名品番 数量
R
2
パーツリスト
Kit N
o
.
キット品
番
Kit Name
キット名称
N610093412AA
Part Name
備 考
セクションNo.
PARTS LIST
Section No.
R
3
BRACKET
4
17 N210092252AA
BRACKET
4
18 N210095949AA
LEVER
8
19 N210122013AA
SHAFT
4
45 N510039637AA LSW6-34-M3-N3-SC13
BOLT
4
46 N510023430AA MMSB4.5-20
SPACER
4
47 N510008162AA ASF-314E
BEARING
16
48 KXF0C8ZAA00 683ZZ
WASHER
8
49 N510021360AA SSSWA5-3.0
WASHER
8
50 N510026689AA SSSWA5-1.0
SPRING
4
56 N510051083AA WWT8-20
BOLT
8
67 N510017313AA
Hexagon socket head cap screw M3X16-10.9 A2J (Trivalent)
BOLT
8
68 N510017381AA
Hexagon socket head cap screw M4X8-10.9 A2J (Trivalent)
WASHER
8
75 N510018497AA
Round finish plain washer 4 10H A2J (Trivalent)
WASHER
32
77 N510018478AA
Small round-plain washer 3 10H A2J (Trivalent)
BOLT
16
81 N510017337AA
Hexagon socket head cap screw M3X6-10.9 A2J (Trivalent)
BOLT
12
82 N510017341AA
Hexagon socket head cap screw M3X8-10.9 A2J (Trivalent)
WASHER
4
87 N510020098AA Thick washer M3
DOG
2
94 N210124262AA
GUIDE
4
95 N210124263AA
O130
--
( KN610093412AA-04-6 )

18
基板下受けブロック(デュアルコンベアデュアルモード):NPM
Board Support Block(Dual Conveyor Dual mode):NPM
パーツレイアウト
Ki
t
N
o
.
キット
品番
Kit Name
キット名称
N610094954AA
セクションNo.
PARTS LAYOUT
Section No.
--
O131
( KN610094954AA-04 )

Ref
No.
Remarks
R
1
Q'ty
18
基板下受けブロック(デュアルコンベアデュアルモード):NPM
Board Support Block(Dual Conveyor Dual mode):NPM
イラスト
No.
Part No.
品 名品番 数量
R
2
パーツリスト
Kit N
o
.
キット品
番
Kit Name
キット名称
N610094954AA
Part Name
備 考
セクションNo.
PARTS LIST
Section No.
R
3
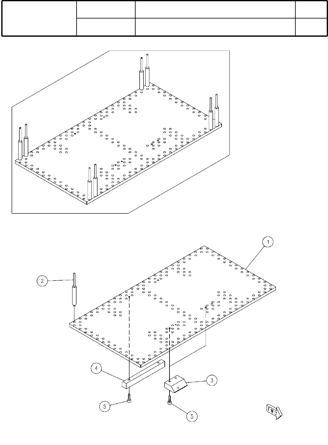
PLATE
1
1 N210121994AA
PIN
10
2 N210113757AC
BLOCK
2
3 N210124264AB
BLOCK
1
4 N210124265AB
BOLT
6
5 N510017308AA
Hexagon socket head cap screw M3X12-10.9 A2J (Trivalent)
O132
--
( KN610094954AA-04 )