RS-1_RS-1-XL_RS-1R-Rev16.pdfPDFA.pdf - 第181页
- 174 - REF.NO NOTE PART NO D E S C R I P T I O N 品 名 Qty 1 402-1549 1 REEL_HOLDER_U リールホルダU 1 2 402-1549 2 REEL_HOLDE R_PLATE_ASM リールホルダプレート組 (28) 3 402-1512 0 REEL_HOLDER_P LATE リールホルダプレート (2) 4 402-1513 3 ROLLER_S HAF…

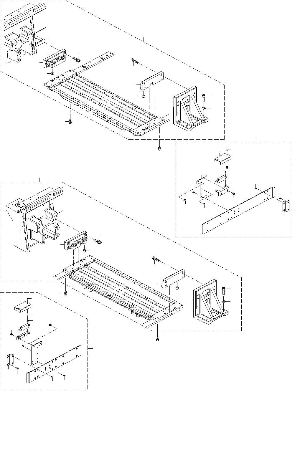
- 173 -
87.FEEDER BANK COMPONENTS (3)
フィーダバンク関係(3)
3
3
4
5
4
5
2
6
7
8
8
9
10
1
27
17
21
22
23
22
23
23
22
23
22
21
17
27
17
14
15
15
16
16
16
16
18
18
18
18
18
18
19
19
19
19
20
24
24
24
24
25
26
29
30
30
29
31
32
33
35
34
34
33
35
32
31
28
12
11
37
37
39
39
38
40
41
42
43
43
44
45
46
47
49
48
50
51
52
52
13
73
79
68
72
71
70
70
69
79
77
75
76
74
74
74
78
69
77
76
75
57
57
58 63
58 63
59
59
60
63
60
63
61
61
61
61
62
62
62
62
64
65
65
66
66
66
66
67
67
67
67
53
53
53
54
54
53
54
54
55
55
55
55
56
56
56
56
36

- 174 -
REF.NO NOTE PART NO D E S C R I P T I O N
品 名
Qty
1 402-15491 REEL_HOLDER_U
リールホルダU
1
2 402-15492 REEL_HOLDER_PLATE_ASM
リールホルダプレート組
(28)
3 402-15120 REEL_HOLDER_PLATE
リールホルダプレート
(2)
4 402-15133 ROLLER_SHAFT
ローラシャフト
(2)
5 E3602-706-000 GUIDE ROLLER 12/16
ガイドローラ12/16
(2)
6 E3602-706-000 GUIDE ROLLER 12/16
ガイドローラ12/16
(28)
7 402-15119 REEL_HOLDER_SH_XL_B
リールホルダシャフトXL_B
(1)
8 SL-4040891-SC SCREW M4X8
座金付きなべ小ねじ M4 L=8
(2)
9 402-15118 REEL_HOLDER_STAY
リールホルダステー
(1)
10 SM-3051052-TN SCREW M5 L=10
丸ねじ M5 L=10
(4)
11 402-15495 REEL_HOLDER_B_FIX
リールホルダB固定
1
12 402-15493 REEL_HOLDER_B
リールホルダB
(1)
13 402-15121 TAPE_HOLDER_PL_L_XL
テープホルダプレートL_XL
(1)
14 402-15122 TAPE_HOLDER_PL_R_XL
テープホルダプレートR_XL
(1)
15 402-15137 T_BOX_FRAME
トラッシュボックスフレーム
(2)
16 SM-3040652-TN SCREW M4 L=6
丸ねじ M4 L=6
(8)
17 402-15134 SLIT_PLATE
スリットプレート
(3)
18 SL-4040891-SC SCREW M4X8
座金付きなべ小ねじ M4 L=8
(6)
19 402-15136 T_BOX_STAY
トラッシュボックスステー
(4)
20 SL-4040891-SC SCREW M4X8
座金付きなべ小ねじ M4 L=8
(8)
21 402-15119 REEL_HOLDER_SH_XL_B
リールホルダシャフトXL_B
(2)
22 E3602-706-000 GUIDE ROLLER 12/16
ガイドローラ12/16
(60)
23 402-15116 WASHER
ワッシャ
(20)
24 SL-4040891-SC SCREW M4X8
座金付きなべ小ねじ M4 L=8
(4)
25 402-15135 SEPARATION_PLATE_RS
セパレーションプレートRS
(27)
26 401-85550 TRASH_BOX
トラッシュボックス
(1)
27 401-84971 POSITION_LAVEL_56
ポジションラベル56
(2)
28 402-15494 REEL_HOLDER_B_FIX_PARTS
リールホルダB固定パーツ
(1)
29 400-94860 TH_CASTER
THキャスター
(2)
30 SL-4040891-SC SCREW M4X8
座金付きなべ小ねじ M4 L=8
(8)
31 402-15138 TH_CASTER_BR
THキャスターBR
(2)
32 SL-4040891-SC SCREW M4X8
座金付きなべ小ねじ M4 L=8
(4)
33 400-89239 E_TROLLEY_PLATE
Eトロリープレート
(2)
34 SM-1050801-SC SCREW M5X0.8 L=8
皿小ねじ M5X0.8 L=8
(2)
35 NM-6050001-SC NUT M5X0.8 TYPE1
六角ナット M5X0.8 1種
(2)
36 402-15496 REGULATTION_BAR_FIX
レギュレーションバー固定
1
37 E3602-706-000 GUIDE ROLLER 12/16
ガイドローラ12/16
(31)
38 402-15115 REEL_HOLDER_SH_XL_U
リールホルダシャフトXL_U
(1)
39 402-15116 WASHER
ワッシャ
(30)
40 402-15113 R_BAR_SUPPORT_L
RバーサポートL
(1)
41 402-15114 R_BAR_SUPPORT_R
RバーサポートR
(1)
42 402-15117 REGULATION_BAR_TR
レギュレーションバーTR
(1)
43 SL-6061292-TN SCREW M6 L=12
座金付き六角穴ボルト M6 L=12
(4)
44 402-15123 R_HOLDER_U_BR_L
リールホルダUブラケットL
(1)
45 NM-6040001-SC NUT M4X0.7 TYPE1
六角 ナット M4X×0.7 1種
(2)
46 SL-4041091-SC SCREW M4 L=10
座金付きなべ小ねじ M4 L=10
(1)
47 SM-3041052-TN SCREW M4 L=10
丸ねじ M4 L=10
(2)
48 402-15124 R_HOLDER_U_BR_R
リールホルダUブラケットR
(1)
49 NM-6040001-SC NUT M4X0.7 TYPE1
六角ナット M4X×0.7 1種
(2)
50 SL-4041091-SC SCREW M4 L=10
座金付きなべ小ねじ M4 L=10
(1)
51 SM-3041052-TN SCREW M4 L=10
丸ねじ M4 L=10
(2)
52 SL-6061292-TN SCREW M6 L=12
座金付き六角穴ボルト M6 L=12
4
53 402-15157 STOPPER
ストッパー
4
54 402-15158 GUIDE
ガイド
4
55 SL-6040892-TN SCREW M4 L=8
座金付き六角穴ボルト M4 L=8
8
56 SL-6061292-TN SCREW M6 L=12
座金付き六角穴ボルト M6 L=12
8
57 401-89896 TRASH_GUIDE_L2
トラッシュガイド_L2
2
58 401-89897 TRASH_GUIDE_C2
トラッシュガイド_C2
2
59 401-89898 TRASH_GUIDE_R2
トラッシュガイド_R2
2
60 401-89899 TRASH_GUIDE_RS2
トラッシュガイド_RS2
2
61 SL-3061232-TN SCREW M6 L=12
座金付きボタンボルト M6 L=12
8
62 400-81751 B_COVER_SCREW
Bカバースクリュウ
12
63 NM-3040520-SF FLANGE NUT M4
フランジ付き ナット M4
12
64 401-99894 SEALING_PACKING_140
シーリングパッキン140
9
65 402-15156 SHOOT_COVER
シュートカバー
2
66 402-15058 DUCT_BR_F
ダクト_BR_F
4
67 SL-3061232-TN SCREW M6 L=12
座金付きボタンボルト M6 L=12
4
68 401-88171 BANK_UNIT_R_COVER
バンクユニットRカバー
1
69 401-81844 COVER_RUB_BR_F
カバー_RUBブラケットF
(2)
70 SL-6051092-TN SCREW M5 L=10
座金付き六角穴ボルト M5 L=10
(2)
71 WP-1052001-SC WASHER 10
平座金みがき丸 M10
(2)
72 SL-6102042-TN SCREW M10 L=20
座金付き六角穴ボルト M10 L=20
(2)
73 401-88176 COVER_RUC_S
カバー_RUC_S
(1)
74 SL-3061232-TN SCREW M6 L=12
座金付きボタンボルト M6 L=12
(5)
75 401-88177 COVER_RUC_BR
カバー_RUCブラケット
(2)
76 NM-3040520-SF FLANGE NUT M4
フランジ付き ナット M4
(2)
77 400-81751 B_COVER_SCREW
Bカバースクリュウ
(4)
78 401-58856 COVER_RUB
カバー_RUB
(1)
79 SL-6061092-TN SCREW M6 L=10
座金付き六角穴ボルト M6 L=10
(4)

- 175 -
88.FEEDER BANK COMPONENTS (4)
フィーダバンク関係(4)
3
2
4
10
6
8
5
7
9
1
24
14
15
16
17
18
18
19
20
21
22
23
13
29
11
11
3
4
2
1
11
12
11
10
6
7
5
9
8
37
28
35
34
27
32
32
30
31
33
25
26
23
36
36