Feeder校正仪SME_Jig_User_Guide(Chi_Ver1).pdf - 第27页
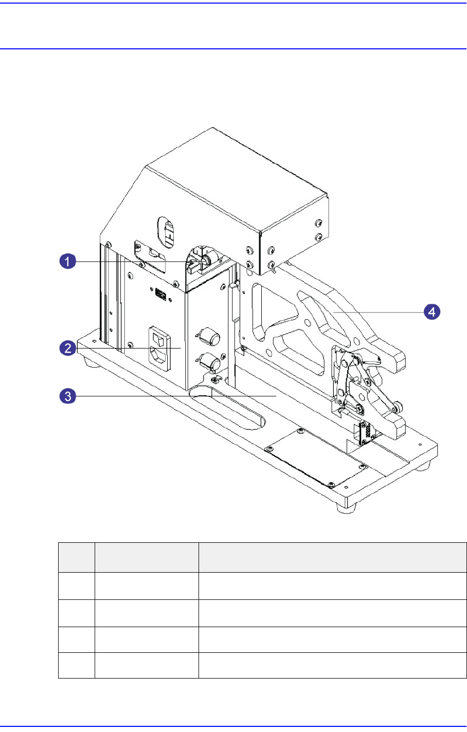
2-1 Prepare 第 2 章 . Prepare 2.1. 各部名称及功能 校准用治具是一种用来校准及检 查供料器的装置, 各部名称及功能如下。 No. 名称 内容 1 X 、 Y 、 Z 台面 在 X 、 Y 、 Z 轴移动台面位置 2 电源及照明 校准用治具的电源连接、 通信连接、 照明亮度调整 3 供料器底座 该插槽用来安装拟校准的供料器 4 主供料器 在校准供料器时作为基准的供料器

2-1
Prepare
第2章. Prepare
2.1. 各部名称及功能
校准用治具是一种用来校准及检查供料器的装置,各部名称及功能如下。
No.
名称 内容
1
X、Y、Z台面 在X、Y、Z轴移动台面位置
2
电源及照明 校准用治具的电源连接、通信连接、照明亮度调整
3
供料器底座 该插槽用来安装拟校准的供料器
4
主供料器 在校准供料器时作为基准的供料器

2-2
SME Tape Feeder Calibration Jig User's Manual
2.1.1. X、Y、Z台面
相机组装在X、Y、Z 台面上,可以利用调整销在X、Y、Z轴移动台面。
1: Z
轴调整销
2: Y
轴调整销
3: X
轴调整销
4: Z
轴固定销
5: Y
轴固定销
6: X
轴固定销
Z轴调整销
在Z 轴移动台面。
Y轴调整销
在Y 轴移动台面。
X轴调整销
在X 轴移动台面。
Z轴固定销
把台面的Z轴加以固定。
Y轴固定销
把台面的Y轴加以固定。
X轴固定销
把台面的X轴加以固定。
便 笺 在组装了保护相机及台面的上盖(Upper Base Cover) 的状态下,
可以调整台面X、Y、Z 轴。
紧固X、Y、Z 轴固定销时请使用(-) 起子。