RF04AS_RF08AS_RF12AS_RF16AS_RF24AS_RF32AS_RF44AS_RF56AS-Rev03.pdf - 第30页
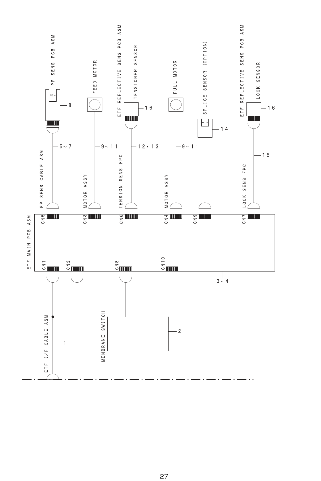
- - 14. SYSTEMDIAG RAM

- -
REF.NO NOTE PARTNO DESCRIPTION Qty
1 401-69521 CLAMP_UNIT_08K 1
2 401-69543 CLAMP_BLOCK_ASSY_08K (1)
3 401-67216 GEAR_SH_08K (1)
4 SM-8030602-TP SCREWM3X0.5L=6 (1)
5 401-67218 CLAMP_MAIN_SH (1)
6 401-67279 COVER_CS_SCREW_MAC_M26X6 (1)
7 401-67265 CLAMP_SP (1)
8 401-69546 CLAMP_BLOCK_SUB_ASSY_08K (1)
9 401-67215 CLAMP_BLOCK (1)
10 401-67217 CLAMP_ROLLER (1)
11 401-67216 GEAR_SH_08K (1)
12 401-69544 CLAMP_LEVER_ASSY_08K (1)
13 401-67237 CLAMP_LEVER_PIN (1)
14 401-71822 SFBS-M3_L6 (1)
15 401-67238 CLAMP_SPRING_GUIDE (1)
16 401-89573 TENSIONER_REFLECTOR_R (1)
17 401-69547 CLAMP_LEVER_SUB_ASSY_08K (1)
18 401-69548 CLAMP_PHOTO_SENSOR_ASSY (1)
19 401-78887 ETFREFLECTIVESENSPCBASM_C (1)
20 401-67278 BINDING_HEAD_SCREW_M26X6 (1)
21 NM-6860003-SC NUTM2.6TYPE3 (1)
22 401-66940 LOCKSENSFPC (1)
23 401-67282 SENSOR_CAP (1)
24 401-69545 CLAMP_WIRE_ASSY_08K (1)
25 401-67250 CLAMP_WIRE_GUIDE_B (2)
26 401-67279 COVER_CS_SCREW_MAC_M26X6 (6)
27 RE-0250000-K0 E-RING2.5 (1)
28 401-67248 CLAMP_WIRE_08K_N (1)
29 401-67249 CLAMP_WIRE_GUIDE_A (1)
30 401-69523 FRONT_COVER_ASSY_08K 1
31 401-67259 FRONT_COVER_08K (1)
32 401-67277 SUPER_LOW_HEAD_SCREW_M26X4 (3)
33 401-99001 DUMMY_SENSOR_04_UNIT 1
34 401-99044 DUMMY_SENSOR_04 (1)
35 ST-4860821-SN TAPPINGSCREWM2.5X8 (2)
36 401-69522 HANDLE_UNIT_08K 1
37 401-67253 EXTENSION_PLATE (1)
38 401-67280 COVER_SC_TAPPING_SCREW_M26X6 (16)
39 401-69513 COVER_STEP_SPONGE_08K (1)
40 401-67279 COVER_CS_SCREW_MAC_M26X6 (3)
41 401-67278 BINDING_HEAD_SCREW_M26X6 (2)
42 401-66942 MENBRANESWITCH (1)
43 401-67252 CHAMBER_LID (1)
44 401-67251 LID_PRESSURE_PLATE (1)
45 401-67254 HANDLE_REINFORCED_PLATE_12K (1)
46 401-67257 HANDLE_R_08K (1)
47 401-67232 REAR_CABLE_COVER (1)
48 401-69549 PCB_BOX_ASSY (1)
49 401-67279 COVER_CS_SCREW_MAC_M26X6 (1)
50 CM-3003000-01 HIGHTEMPARATURECAUTIONLABEL2(16) (1)
51 401-78885 ETFMAINPCBASM_C (1)
52 ST-4860421-SN TAPPINGSCREWD=2.6L=4 (4)
53 401-66939 ETFI/FCABLEASM (1)
54 ST-4860821-SN TAPPINGSCREWM2.5X8 (2)
55 401-66943 RADIATIONSHEET (2)
56 401-67283 PCB_COVER_08K (1)
57 401-67280 COVER_SC_TAPPING_SCREW_M26X6 (5)
58 HX-0031400-00 SPIRALTUBE (0.09)
59 EA-9500B00-00 CABLEBAND (5)
60 401-67258 HANDLE_L_08K (1)
61 401-71823 REEL_HOOK_ASSY (1)
62 E1306-706-C00 TAPEHOLDERWASHER (1)
63 SM-4042501-SC SCREWM4X0.7L=25 (1)
64 401-71258 REEL_HOOK (1)
65 401-71257 REEL_HOOK_BASE (1)
66 401-77469 TAPPING_SCREW_M2.6X6 (2)
67 400-68219 REEL_HOOK_SH (1)
68 WP-0430801-SC WASHERM4 (1)

- -
14.SYSTEMDIAGRAM

- -
REF.NO NOTE PARTNO DESCRIPTION Qty
1 401-66939 ETFI/FCABLEASM 1
2 401-66942 MENBRANESWITCH 1
3
#02
401-66952 ETF12MAINPCBASM 1
4
#01
401-78885 ETFMAINPCBASM_C 1
5
#01
401-66938 ETFPPSENSCABLEASM 1
6
#03
401-78361 ETF12PPSENSCABLEASM 1
7
#04
401-90385 RF32PPSENSCABLEASM 1
8 401-78886 ETFPPSENSPCBASM_C 1
9
#01
401-66937 MOTOR_ASSY_08K 2
10
#03
401-66950 MOTOR_ASSY_12K 2
11
#04
401-66951 MOTOR_ASSY_32K 1
12
#05
401-66941 TENSIONSENSFPC 1
13
#04
401-90456 TENSION_SENS_FPC_R32 1
14 401-66944 SPLICESENSOR 1
15 401-66940 LOCKSENSFPC 1
16 401-78887 ETFREFLECTIVESENSPCBASM_C 1