NPM-W2 20170529.pdf - 第349页
Ref No. Remarks R 1 Q'ty 42-A ツイントレイフィーダリフト部:NPM-W Tw in Tray Feeder Lift Section:NPM -W イラスト No. Part No. 品 名 品 番 数量 R 2 パーツリスト Kit No. キット品番 Kit Name キット名称 N610121141AA Part Nam e 備 考 セク ショ ンNo . PARTS LIST Sectio…

42-A
ツイントレイフィーダリフト部:NPM-W
Twin Tray Feeder Lift Section:NPM-W
パーツレイアウト
Kit No.
キット品番
Kit Name
キット名称
N610121141AA
セクションNo.
PARTS LAYOUT
Section No.
--
O143
( KN610121141AA-14-1 )

Ref
No.
Remarks R
1
Q'ty
42-A
ツイントレイフィーダリフト部:NPM-W
Twin Tray Feeder Lift Section:NPM-W
イラスト
No.
Part No.
品 名品 番 数量
R
2
パーツリスト
Kit No.
キット品番
Kit Name
キット名称
N610121141AA
Part Name
備 考
セクションNo.
PARTS LIST
Section No.
R
3
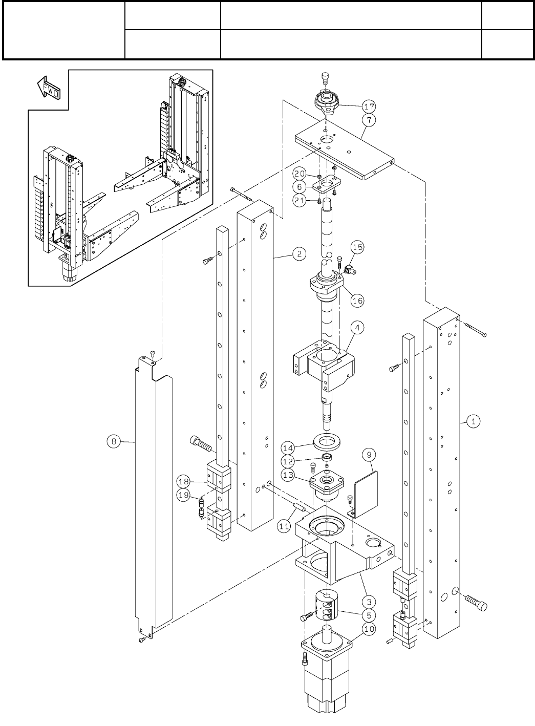
FRAME
2
1 N210143541AD
FRAME
2
2 N210143542AD
BRACKET
2
3 N210063354AA
BRACKET
2
4 N210170086AA
COUPLING
2
5 KXFB017QA00
STOPPER
2
6 N210096604AA
CONNECT-BLOCK
2
7 N210096607AA
COVER
2
8 N210040290AB
COVER
2
9 N210063355AA
MOTOR
2
10 N510022126AA
S
HF-MP23B-S25
PIN
2
11 N510020618AA MMS6-15
SPACER
2
12 KXF0DX0BA00 B86012061-301
SUPPORT-UNIT
2
13 KXF043EAA00 WBK12-11
DAMPER
2
14 N510063456AA D25A9
JOINT
2
15 KXF0CX0AA00 IN-233-797(Delivery drawing available)
BALL-SCREW
2
16 N510068298AA BLK1616E-3.6ZZGS+589LC8T(33020747K000)
BEARING-UNIT
2
17 KXF0A00AA00 KFL001
LINEAR-WAY
4
18 N510040427AA SSR15XV2UUE+605LY-II(00995183G020)
JOINT
8
19 MTNP000832AA M-5H-4-X83
SPACER
4
20 N510019911AA CB-302E
BOLT
12
21 N510000323AA
Hexagon socket button head screw M3X6 Steel Black oxide finish 12.9
O144
--
( KN610121141AA-14-1 )

42-B
ツイントレイフィーダリフト部:NPM-W
Twin Tray Feeder Lift Section:NPM-W
パーツレイアウト
Kit No.
キット品番
Kit Name
キット名称
N610121141AA
セクションNo.
PARTS LAYOUT
Section No.
--
O145
( KN610121141AA-14-2 )