NPM-W2 20170529.pdf - 第393页
Ref No. Remarks R 1 Q'ty 56-C 12ノズルヘ ッド:N PM 12 NOZZLE HEAD:NPM イラスト No. Part No. 品 名 品 番 数量 R 2 パーツリスト Kit No. キット品番 Kit Name キット名称 N610157741AA Part Nam e 備 考 セク ショ ンNo . PARTS LIST Section No. R 3 COLLAR 12 1 N21…

56-C
12ノズルヘッド:NPM
12 NOZZLE HEAD:NPM
パーツレイアウト
Kit No.
キット品番
Kit Name
キット名称
N610157741AA
セクションNo.
PARTS LAYOUT
Section No.
--
O187
( KN610157741AA-12-3 )

Ref
No.
Remarks R
1
Q'ty
56-C
12ノズルヘッド:NPM
12 NOZZLE HEAD:NPM
イラスト
No.
Part No.
品 名品 番 数量
R
2
パーツリスト
Kit No.
キット品番
Kit Name
キット名称
N610157741AA
Part Name
備 考
セクションNo.
PARTS LIST
Section No.
R
3
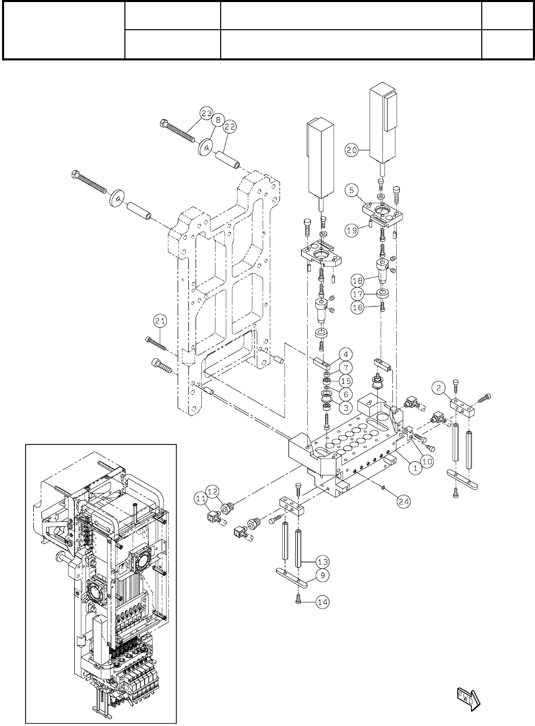
COLLAR
12
1 N210013388AA
SPRING
24
2 N210016901AB
GUIDE
12
3 N210016902AB
COLLAR
12
4 N210013386AB
NUT
12
5 N210009483AB
COLLAR
12
6 N210013382AB
HOUSING
12
7 N210090621AD
HOLDER
12
8 N210007281AD
PIECE
24
9 N210110221AA
SPRING
12
10 N210068065AA
A
SPRING
12
11 N210014666AC
A
CLAMP-ARM
24
12 N210098763AB
A
NOZZLE HOLDER
12
13 N610067607AE
FILTER
12
14 N610097899AC
TUBE(64mm CUT)
12
15 N610144919AB
BALL-SPLINE
12
16 N510068462AA 2LT4XQZCSS+145.5LP-(M)(13035768X000)
BEARING
12
17 N510067502AA F693JZZMC3 NS7L
WASHER
24
18 N510026562AA MMSRB6-0.5
PULLEY
12
19 N510019396AA P14-2GT-6-33(K0508-005-02)
BEARING
36
20 N510067503AA MR106T12ZZ1MC3 NS7L
JOINT
12
21 N510059099AA M-5AU-4-X179
BEARING
12
22 MTNB000049AA MF63T12ZZMC3 NS7
PACKING
24
23 N555MYA3 MYA-3
SHIM
12
24 N510028628AA RF002004020
BEARING
12
25 N510067507AA MR62JZZMC2 NS7L
PIN
12
26 N510049558AA N2X5-07
BEARING
12
27 N510069003AA MF85CZZMC3 NS7L
SCREW
24
28 XXE25C3FT
Hexagon socket set screw Flat point M2.5X3-45H SOB
O188
--
( KN610157741AA-12-3 )

56-D
12ノズルヘッド:NPM
12 NOZZLE HEAD:NPM
パーツレイアウト
Kit No.
キット品番
Kit Name
キット名称
N610157741AA
セクションNo.
PARTS LAYOUT
Section No.
--
O189
( KN610157741AA-12-4 )