NPM-W2 20170529.pdf - 第625页
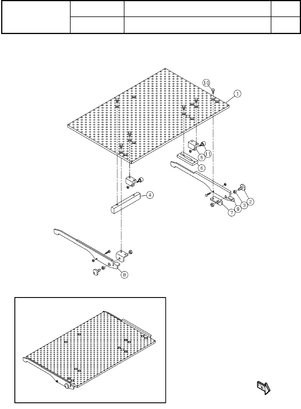
Ref No. Remarks R 1 Q'ty 125 基板下受けブロックデュアル(デュアル対応):NPM-W Board Support Block Dual(fot Dual):NPM -W イラスト No. Part No. 品 名 品 番 数量 R 2 パーツリスト Kit No. キット品番 Kit Name キット名称 N610134595AB Part Nam e 備 考 セク ショ ンNo . PARTS L…

125
基板下受けブロックデュアル(デュアル対応):NPM-W
Board Support Block Dual(fot Dual):NPM-W
パーツレイアウト
Kit No.
キット品番
Kit Name
キット名称
N610134595AB
セクションNo.
PARTS LAYOUT
Section No.
--
O419
( KN610134595AB-02 )

Ref
No.
Remarks R
1
Q'ty
125
基板下受けブロックデュアル(デュアル対応):NPM-W
Board Support Block Dual(fot Dual):NPM-W
イラスト
No.
Part No.
品 名品 番 数量
R
2
パーツリスト
Kit No.
キット品番
Kit Name
キット名称
N610134595AB
Part Name
備 考
セクションNo.
PARTS LIST
Section No.
R
3
PLATE
1
1 N210166972AA
PIN
2
2 N210161075AA
COLLAR
2
3 N210156596AA
BRACKET
1
4 N210169130AA
BRACKET
2
5 N210161077AA
BLOCK
1
6 N210165840AC
BRACKET
2
7 N210156599AA
LEVER
1
8 N210161078AB
LEVER
1
9 N210161079AB
BOLT
12
10 N510067773AA Low Head Cap Screw M4X8-8.8 A2J(Trivalent)
CAM-FOLLOWER
2
11 KXF00BFAA00 CF3UU-A
O420
--
( KN610134595AB-02 )

126
基板下受けブロックデュアル(シングル対応):NPM-W
Board Support Block Dual(for Single):NPM-W
パーツレイアウト
Kit No.
キット品番
Kit Name
キット名称
N610134594AB
セクションNo.
PARTS LAYOUT
Section No.
--
O421
( KN610134594AB-01 )