Parts List (Mechanical Parts).pdf - 第142页
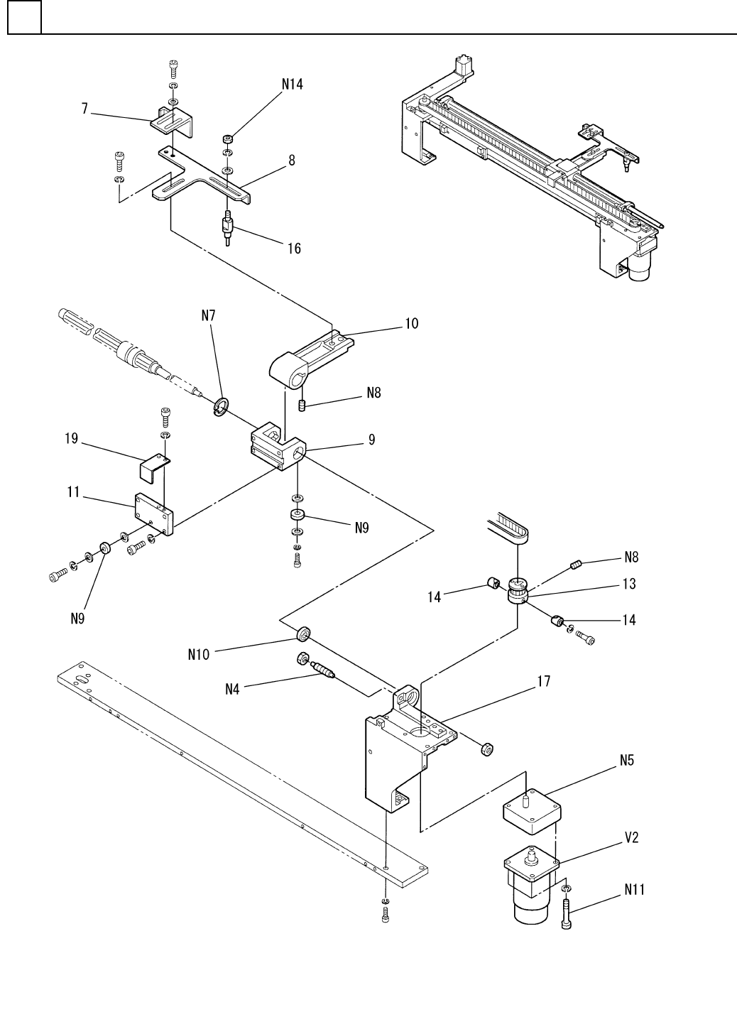
PART NAME REMARKS Q'TY 15 プリント基板搬送部(2) P.C.B. TRAN SFER SECT.-2 イラスト No. REF No. PART No. 部 品 品 番 個数 備 考 R 1 R 2 1 7 104690600701 BRACKET ブラケット 1 8 1087106008 BRACKET ブラケット 1 9 104140601002 BLOCK ブロック 1 10 10414…

プリント基板搬送部(2)
P.C.B. TRANSFER SECT.-2
15
F10871-06-000-AB_A-2
M123

PART NAME
REMARKS
Q'TY
15
プリント基板搬送部(2)
P.C.B. TRANSFER SECT.-2
イラスト
No.
REF
No.
PART No.
部 品 品 番 個数 備 考
R
1
R
2
17 104690600701
BRACKET ブラケット
1
8 1087106008
BRACKET ブラケット
1
9 104140601002
BLOCK ブロック
110 104140601101
LEVER レバー
111 1046906011
RACK ラック
1
13 1041406014
PULLEY(TIMING) プーリー(タイミング)
1
14 199950300101
COTTER コッタ
D=3.60-D=4.0
116 1010244015
PIN ピン
117 108710601702
BRACKET ブラケット
1
19 1046906020
DOG FOR SENSOR センサドグ
RB0806
1N 4 N437RB0806
SHOCK-ABSORBER ショックアブソーバー
M8GB3B22
1N 5 M8GB3B22
GEAR HEAD ギヤーヘッド
35,STEEL,P.C
1
N 7 XUA35FP
RETAINING RING C-TYPE, CORE C ガタアナヨウトメワ
M4X10,STEEL,P.C
2
N 8 XXE4C10FP
HEX. SOCKET SET SCREW ロッカクアナツキトメネジ
696ZZ
2N 9 XLC696ZZ
BALL BEARING ボールベアリング
6902ZZ
1N10 XLC6902ZZ
BALL BEARING ボールベアリング
CB5-60
4
N11 N986CB560
BOLT ボルト
M5,1-TYPE,STEEL,Z.C.T
1
N14 XNG5AFY
HEXAGON NUT ロッカクナット
M8MA40GB4Y1 S
1V 2 308380600102
MOTOR モータ
M124
F10871-06-000-AB_A-2

ポジショナ-部
POSITIONER SECT.
16
F10871-14-000-AD_02
M125