Parts List (Mechanical Parts).pdf - 第243页
ローダ・アンローダ 部(ローダカバー部) LOADER & UN LOADER SECT.(LOADE R COVER SECT.) 23 F10871-05-990_A M225

PART NAME
REMARKS
Q'TY
23
ローダ・アンローダ部(アンローダカバー部)
LOADER & UNLOADER SECT.(UNLOADER COVER SECT.)
イラスト
No.
REF
No.
PART No.
部 品 品 番 個数 備 考
R
1
R
2
1 1087105980
UNLOADER COVER UNIT アンローダカバーユニット
W=274
1
981 1087105981
COVER カバー
M4X8,+,STEEL,Z.C.T
9
N 1 XST4+8FY
TRUSS HEAD SCREW トラスコネジ
4,B-TYPE,STEEL,Z.C.T
9N 2 XWC4BFY
TOOTHED LOCK WASHER ハツキザガネ
M224
F10871-05-980

ローダ・アンローダ部(ローダカバー部)
LOADER & UNLOADER SECT.(LOADER COVER SECT.)
23
F10871-05-990_A
M225

PART NAME
REMARKS
Q'TY
23
ローダ・アンローダ部(ローダカバー部)
LOADER & UNLOADER SECT.(LOADER COVER SECT.)
イラスト
No.
REF
No.
PART No.
部 品 品 番 個数 備 考
R
1
R
2
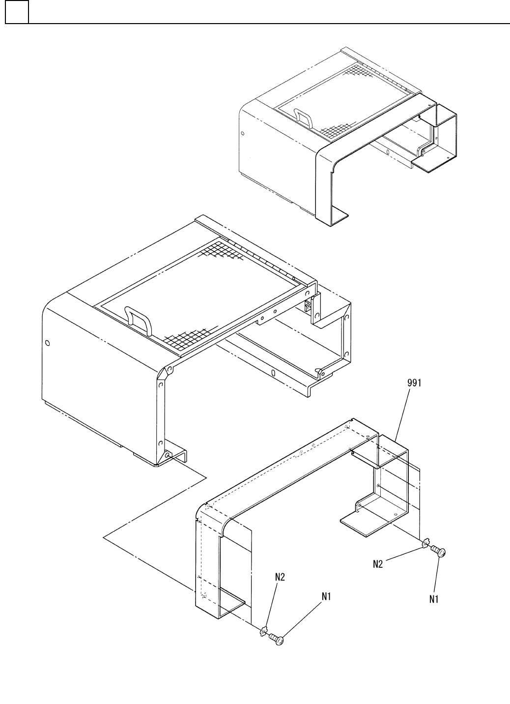
1 1087105990
LOADER COVER UNIT ローダカバーユニット
W=93
1
991 1087105991
COVER カバー
M4X8,+,STEEL,Z.C.T
9
N 1 XST4+8FY
TRUSS HEAD SCREW トラスコネジ
4,B-TYPE,STEEL,Z.C.T
9N 2 XWC4BFY
TOOTHED LOCK WASHER ハツキザガネ
M226
F10871-05-990_A