Parts List (Mechanical Parts).pdf - 第151页
部品供給部 (3) FEEDER CARR IAGE SECT.(3) 18 F10871-07-000-AH_0 1-3 M133

PART NAME
REMARKS
Q'TY
18
部品供給部(2)
FEEDER CARRIAGE SECT.(2)
イラスト
No.
REF
No.
PART No.
部 品 品 番 個数 備 考
R
1
R
2
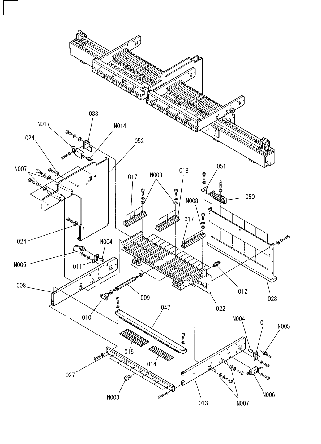
2025 1087107025
BRACKET ブラケット
4
026 104690703104
BRACKET ブラケット
2
032 108710703201
DOG FOR SENSOR ドグ
1033 108710703302
DOG FOR SENSOR ドグ
1036 108710703602
DOG FOR SENSOR ドグ
1
040 104690704701
BRACKET ブラケット
1
041 108710704102
BRACKET ブラケット
1042 108710704202
BRACKET ブラケット
2043 108710704301
BRACKET ブラケット
2
044 104690705201
BRACKET ブラケット
2045 104690705301
BRACKET ブラケット
2046 1046907054
COVER カバー
2
049 104690705703
PLATE プレート
250-03-055-0-32-2030.1
2
N010
N9862500-T61
FLEXIBLE DUCT フレキシブルダクト
5X20,m6A,STEEL
4
N012
XPJ5A20FW
PARALLEL PIN ヘイコウピン
M6X12-10.9 A2J (Trival
8
N018
N510017645AA
BOLT ボルト
M132
F10871-07-000-AH_01-2

部品供給部(3)
FEEDER CARRIAGE SECT.(3)
18
F10871-07-000-AH_01-3
M133

PART NAME
REMARKS
Q'TY
18
部品供給部(3)
FEEDER CARRIAGE SECT.(3)
イラスト
No.
REF
No.
PART No.
部 品 品 番 個数 備 考
R
1
R
2
1008 104690700803
BRACKET ブラケット
3
009 102070708701
ROD ロッド
3
010 104690701001
BRACKET ブラケット
2011 1046907012
PLATE プレート
15012 1083807012
PIN ピン
1
013 1087107013
BRACKET ブラケット
1
014 1020707082
LABEL ラベル
1015 102070708301
LABEL ラベル
2017 102070710101
RAIL(GUIDE) レール(ガイド)
14
018 102070710001
RAIL(GUIDE) レール(ガイド)
1022 1083807022
FRAME (R) フレーム(R)
5024 1023871963
COLLAR カラー
1
027 104690703201
PLATE プレート
1
028 104690703405
BRACKET ブラケット
1038 108710703802
DOG FOR SENSOR ドグ
1047 1046907055
BLOCK ブロック
5
050 1046907060
GUIDE ガイド
1
051 1046907061
BRACKET ブラケット
1052 108710705201
PLATE(L) プレート(L)
CF4-A
6
N003
N531CF4A
CAM FOLLOWER カムフォロア
FP1-A01
1
N004
N310FP1A01
ATTACHMENT アタッチメント
EP1-321
1
N005
N310EP1321
OPTICAL FIBER CABLE UNIT ファイバーユニット
PK7-CR-E1
1
N006
N310PK7CRE1
AMPLIFIER FOR SENSOR アンプユニット
8 10H A2J (Trivalent)
8
N007
N510018482AA
ROUND PLAIN WASHER コガタマルヒラザガネ
5 10H A2J (Trivalent)
48
N008
N510018480AA
ROUND PLAIN WASHER コガタマルヒラザガネ
V-M20
1
N014
KXF0DG3AA00
CABLE ケーブル
AT0-11-S-I/R S
1
N017
N300AT011S1R
SWITCH スイッチ
M134
F10871-07-000-AH_01-3