Parts List (Mechanical Parts).pdf - 第232页
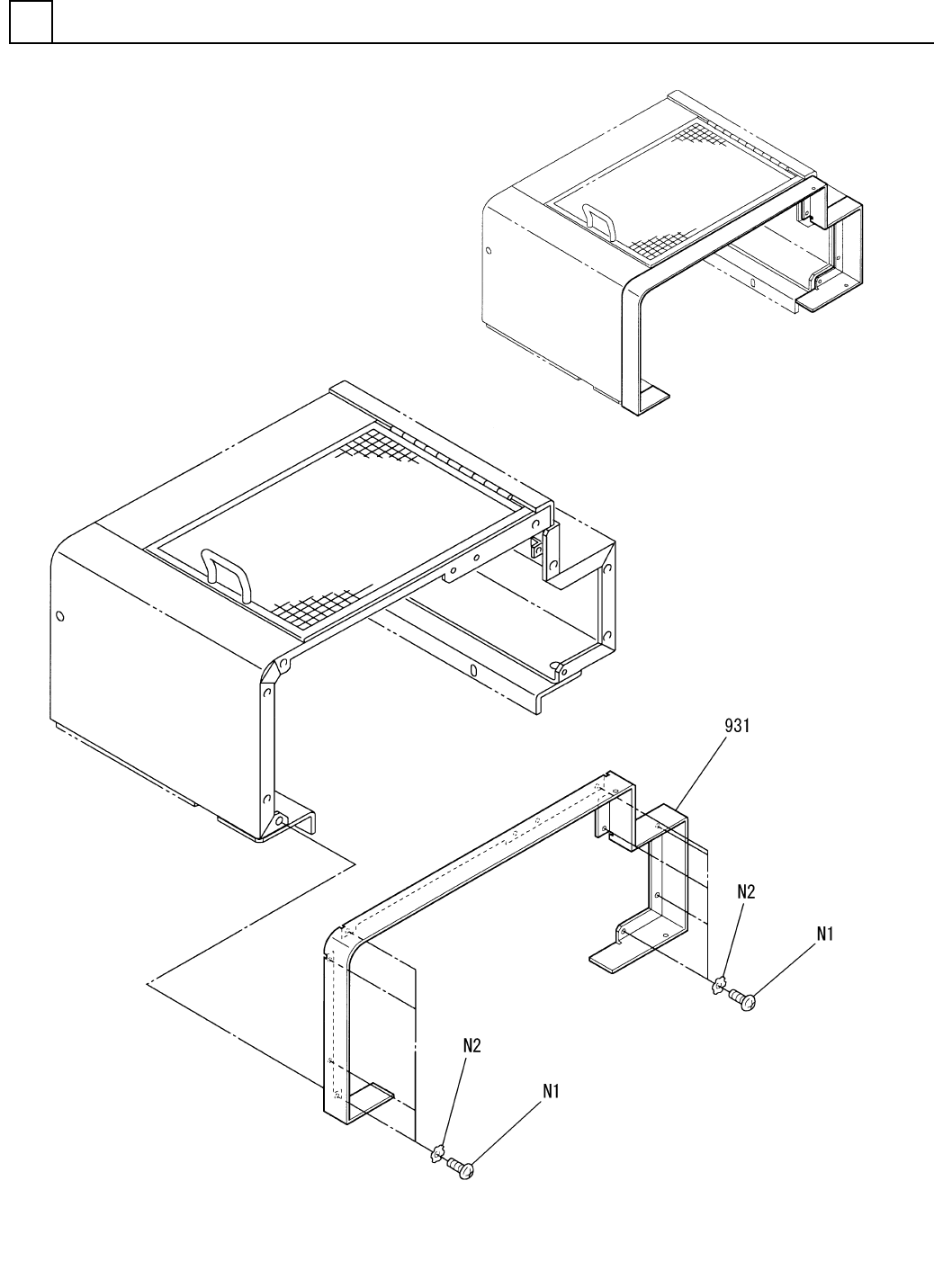
PART NAME REMARKS Q'TY 23 ローダ・アンローダ 部(ローダカバー部) LOADER & UN LOADER SECT.(LOADE R COVER SECT.) イラスト No. REF No. PART No. 部 品 品 番 個数 備 考 R 1 R 2 1 1087105930 LOADER COVER UNIT ローダカバーユニット W=46 1 931 1087105931…

ローダ・アンローダ部(ローダカバー部)
LOADER & UNLOADER SECT.(LOADER COVER SECT.)
23
F10871-05-930
M213

PART NAME
REMARKS
Q'TY
23
ローダ・アンローダ部(ローダカバー部)
LOADER & UNLOADER SECT.(LOADER COVER SECT.)
イラスト
No.
REF
No.
PART No.
部 品 品 番 個数 備 考
R
1
R
2
1 1087105930
LOADER COVER UNIT ローダカバーユニット
W=46
1
931 1087105931
COVER カバー
M4X8,+,STEEL,Z.C.T
9
N 1 XST4+8FY
TRUSS HEAD SCREW トラスコネジ
4,B-TYPE,STEEL,Z.C.T
9N 2 XWC4BFY
TOOTHED LOCK WASHER ハツキザガネ
M214
F10871-05-930

ローダ・アンローダ部(アンローダカバー部)
LOADER & UNLOADER SECT.(UNLOADER COVER SECT.)
23
F10871-05-880
M215