Parts List (Mechanical Parts).pdf - 第248页
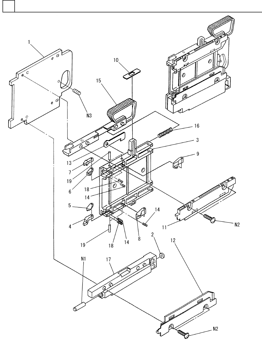
PART NAME REMARKS Q'TY 24 テープフィーダ部<51m m> TAPE FEEDER SECT.<51mm> イラスト No. REF No. PART No. 部 品 品 番 個数 備 考 R 1 R 2 1 1020732450 TAPE FEEDER UNIT テープフィーダユニット 1 451 1046932001 FRAME フレーム 1 452 10207310…

テープフィーダ部<51mm>
TAPE FEEDER SECT.<51mm>
24
F10207-32-450-AB_B
M229

PART NAME
REMARKS
Q'TY
24
テープフィーダ部<51mm>
TAPE FEEDER SECT.<51mm>
イラスト
No.
REF
No.
PART No.
部 品 品 番 個数 備 考
R
1
R
2
1 1020732450
TAPE FEEDER UNIT テープフィーダユニット
1
451 1046932001
FRAME フレーム
1
452 1020731002
RING リング
1453 102073200301
BLOCK(SLIDE) ブロック(スライド)
1454 1020731024
LEVER レバー
1
455 1020732455
LEVER レバー
1
456 1020732456
LEVER レバー
1457 1020731027
LEVER レバー
1458 1020732458
LEVER レバー
1
459 1020732459
LEVER レバー
1460 1020731010
COVER カバー
1461 102073301101
PLATE プレート
1
462 102073301201
PLATE プレート
1
463 1020731013
LEVER レバー
2464 1020731014
SPRING バネ
1465 1020731015
FRAME フレーム
1
466 1020731016
SPRING バネ
1
467 1020732017
FRAME フレーム
4468 1020731031
SPRING バネ
4469 1020731019
PIN ピン
MS5-15
1
N 1 N986MS515
PARALLEL PIN ヘイコウピン
M3X10,+,STEEL,Z.B.P
4
N 2 XSB3+10FZ
BINDING HEAD SCREW バインドコネジ
1020201-20006
1N 3 N9861020-128
PIN ピン
M230
F10207-32-450-AB_B

テープフィーダ部<52mm>
TAPE FEEDER SECT.<52mm>
24
F10469-32-000_B
M231