KE-2050_KE-2050R_KE-2055R_KE-2060_KE-2060R-Rev14.PDFA.pdf - 第135页
- 13 0 - N OT E ( 注記 ) # 0 1 ....F O R S IM PLIC IT Y TYPE 簡易タイプ用 REF .NO N O T E PART NO D E S C R I P T I O N 品 名 Q ty 1 P F-0 154 010 - A0 A I R FILTE R エアフィルター 1 2 P F-9 010 070 - 00 F I LTER EL EMEN T フィルターエレメント (1)…

- 129 -
65.MAIN LINE FILTER COMPONENTS
メインラインフィルタ関係
2
15
14
16
17
21
20
7
8
13
11
9
3
4
6
18
19
12
29
32
28
30
31
34
33
24
27
5
22
2
1
10
23
26
35
25
36

- 130 -
NOTE( 注記 ) #01....FOR SIMPLICITY TYPE 簡易タイプ用
REF.NO NOTE PART NO D E S C R I P T I O N
品 名
Qty
1 PF-0154010-A0 AIR FILTER
エアフィルター
1
2 PF-9010070-00 FILTER ELEMENT
フィルターエレメント
(1)
3 BT-1200801-EF TUBE
チュ−ブ
1.3
4 PJ-3041200-01 ELBOW D=12
エルボφ12
1
5 BT-1200801-EF TUBE
チュ−ブ
1.3
6 BT-1000651-EB POLYURETHANE TUBE
ポリウレタン チュ−ブ
0.7
7 PJ-3031000-02 STRAGHT
ストレート
1
8 PJ-3090400-03 STRAGHT
レジュ−サ(φ 4− φ 10)
1
9 BT-0400251-EA TUBE HOSE, BLUE
ウレタンホ−ス 青
0.16
10 SL-6061692-TN BOLT
座金付き六角穴ボルト
2
11 400-31183 FILTER BRACKET
フィルタブラケット
1
12 HX-0005500-0J RUBBER BUSHING
ゴムブッシュ
1
13 E1387-700-000 HOD MAGNET
HOD マグネット
2
14 400-17146 DRAIN TANK STAY B
ドレインタンクステイ B
1
15 SL-6040892-TN BOLT
座金付き六角穴ボルト
2
16 HX-0029400-00 FIXED BASE
固定ベース
1
17 SM-4040601-SC SCREW M4X0.7 L=6
なべ小ねじ M 4 X 0.7 L =6
1
18 EA-9500B01-00 CABLE BAND
束線バンド
1
19 400-01639 AUTO DRAIN SET ASM
オートドレインセット組
1
20 400-31184 FILTER COVER U
フィルターカバー U
1
21 SM-3040652-TN SCREW M4 L=6
丸ねじ M 4 L =6
6
22 400-31185 FILTER COVER B
フィルターカバー B
1
23 SM-3040652-TN SCREW M4 L=6
丸ねじ M 4 L =6
4
24
#01
400-73378 MAIN LINE FILTER ASM SIMPLICIT
メインラインフィルタ組 簡易タイプ
1
25 PF-0154010-A0 AIR FILTER
エアフィルター
(1)
26 PF-9010070-00 FILTER ELEMENT
フィルターエレメント
(1)
27 BT-1000651-EB POLYURETHANE TUBE
ポリウレタン チューブ
(0.175)
28 400-73362 MAIN LINE FILTER BRACKET
メインラインフィルタブラケット
(1)
29 SL-4040891-SC SCREW M4 L=8
座金付なべ小ねじ M 4 L =8
(2)
30 400-73363 DRAIN TANK STAY
ドレンタンクステイ
(1)
31 400-16815 DRAIN TANK
ドレインタンク
(1)
32 BT-1200801-EF TUBE
チューブ
(0.5)
33 BT-1200801-EF TUBE
チューブ
(0.5)
34 400-73368 STRAIGHT UNION 12
ストレートユニオン φ 12
(1)
35 PJ-3041254-01 ELBOW UNION D=12
エルボユニオン φ 12
(2)
36 PJ-3041254-01 ELBOW UNION 12
エルボユニオン φ 12
2

- 131 -
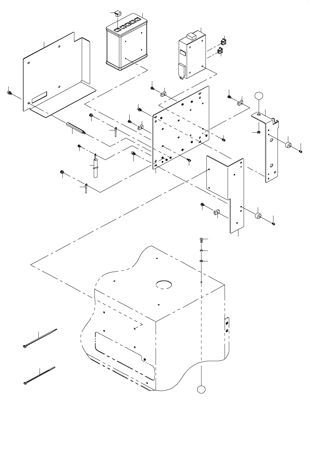
66.RFID COMPONENTS (MPC)
RFID 関係(MPC)
2
6
7
8
9
3
2
2
5
4
11
16
10
12
13
14
15
14
13
17
18
18
17
18
17
18
17
11
20
21
19
22
27
25
28
23
26
24
1
A
A