RHS2B_维修手册(I O表).pdf - 第43页
RHS2B 维修手册 4.1 传感器布 局 DA4MCC – 14 – 01 0 – A0 4.1 - 3 4.1.2 上料器 3 1 2 1. 上料器轨道下限位 EE-SX 672 2. 上料器入口印刷电路板检测 E3 S-LS3 C1D-30 3. 上料器出口印刷电路板检测 E3 S-LS3 C1D-30 PX02G61- 000-1

RHS2B
维修手册
4.1 传感器布局
4.1 - 2 DA4MCC – 14 – 010 – A0
输送臂
1
1. 插销下限位 EE-SX672
PX02G62-000
印刷电路板下料器
1
2
1. 下料器推杆向前 EE-SX672
2. 下料器推杆后退 EE-SX672
PX02G63-000

RHS2B
维修手册
4.1 传感器布局
DA4MCC – 14 – 010 – A0 4.1 - 3
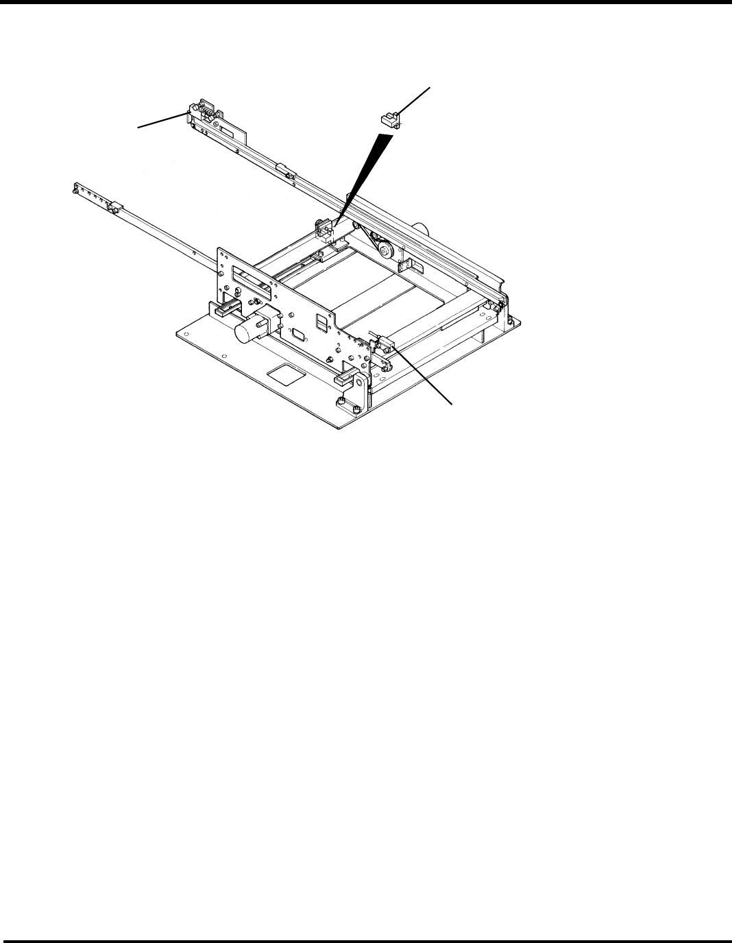
4.1.2 上料器
3
1
2
1. 上料器轨道下限位 EE-SX672
2. 上料器入口印刷电路板检测 E3S-LS3C1D-30
3. 上料器出口印刷电路板检测 E3S-LS3C1D-30
PX02G61-000-1

RHS2B
维修手册
4.1 传感器布局
4.1 - 4 DA4MCC – 14 – 010 – A0
4.1.3 下料器
1
2
3
1. 下料器轨道下限位 EE-SX672
2. 下料器入口印刷电路板检测 E3S-LS3C1D-30
3. 下料器出口印刷电路板检测 E3S-LS3C1D-30
PX02G61-000-2