KD-2077-Rev03PDFA.pdf - 第57页
- 54 - N OT E( 注記 ) # 01 ....FO R F RONT ・ L EFT-RIGH T 手前・左右用 # 0 2....F O R F R ONT ・ R IGHT-LEFT 手前・右左用 # 0 3....F O R R E AR ・ LEF T- R IGH T 奥・左右用 # 0 4....F O R R E AR ・ R IGH T-LEFT 奥・右左用 * INS TAL LAT ION PO SITI…

- 53 -
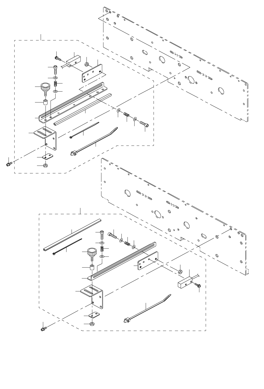
27.PWB CONVEYOR COMPONENTS (7)
基板搬送関係 (7)
24
22
44
43
23
39
42
A
38
41
41
A
34
40
14
17
18 21
37
25
26
27
28
29
30
31
32
35
36
6
7
8
9
10
11
13
12
B
B
33
8
5
1
4

- 54 -
NOTE( 注記 ) #01....FOR FRONT ・ LEFT-RIGHT 手前・左右用
#02....FOR FRONT ・ RIGHT-LEFT 手前・右左用
#03....FOR REAR ・ LEFT-RIGHT 奥・左右用
#04....FOR REAR ・ RIGHT-LEFT 奥・右左用
*INSTALLATION POSITION AND DIRECTION VARY IF THE PWB TRANSFER
REFERENCE IS DIFFERENT.
基板搬送基準が異なると取付位置、方向が変わります。
REF.NO NOTE PART NO D E S C R I P T I O N
品 名
Qty
1 400-69585 STOPPER FR SENSOR ASM
ストッパ FR センサ組
1
2 400-69586 STOPPER FL SENSOR ASM
ストッパ FL センサ組
1
3 400-69593 STOPPER RR SENSOR ASM
ストッパ RR センサ組
1
4 400-69594 STOPPER RL SENSOR ASM
ストッパ RL センサ組
1
5 400-00964 STOPER SENSOR ASM
ストッパセンサ組
(1)
6 400-02214 STOP SENS ASM
ストップセンサ組
(1)
7 400-02235 C.OUT SENS ASM.
シーアウトセンサ組
(1)
8 SL-4031291-SC SCREW M3X12
なべ小ねじセムス M 3 X 0.5 L =12
(2)
9 PC-0124010-00 SPEED CONTROLLER
スピード コントローラ
(1)
10 HX-0036700-0A BUSH
ブッシュ
(0.1)
11 EA-9500B00-00 CLIP CV-70S
結束バンド 60
(4)
12 BT-0400251-EA TUBE HOSE, BLUE
ウレタンホース 青
(4)
13 HX-0031400-00 SPIRAL TABE
スパイラル チューブ
(0.4)
14
#01
400-69595 STOPPER FR 77 (L) ASM
ストッパ FR 77 (L)組
(1)
15
#02
400-69596 STOPPER FL 77 (L) ASM
ストッパ FL 77 (L)組
(1)
16
#03
400-69597 STOPPER RR 77 (L) ASM
ストッパ RR 77 (L)組
(1)
17
#04
400-69598 STOPPER RL 77 (L) ASM
ストッパ RL 77 (L)組
(1)
18
#01
400-69341 STOPPER FRAME 77 F LR (L)
ストッパフレーム 77 F LR (L)
(1)
19
#02
400-69342 STOPPER FRAME 77 F RL (L)
ストッパフレーム 77 F RL (L)
(1)
20
#03
400-69343 STOPPER FRAME 77 R LR (L)
ストッパフレーム 77 R LR (L)
(1)
21
#04
400-69344 STOPPER FRAME 77 R RL (L)
ストッパフレーム 77 R RL (L)
(1)
22 NM-6030001-SC NUT M3
六角ナット M 3 X 0.5 1種
(1)
23 400-23788 STOPER SPACER
ストッパスペーサ
(1)
24 SL-6030842-TN SCREW M3 L=8
座金付き六角穴ボルト
(1)
25 400-00910 STOPER PIN
ストッパピン
(1)
26 RE-0200000-K0 E-RING
E 形止め輪 2
(1)
27 WP-0320501-SC WASHER M3
平座金 3.2 X 7 X 0.5
(1)
28 400-00911 STOPER CONNECT
ストッパコネクト
(1)
29 PA-1002008-A0 AIR CYLINDER
エアシリンダ
(1)
30 SM-6031402-TN SCREW M3X0.5 L=8
六角穴ボルト
(2)
31 PC-0105080-00 SPEED CONTROLLER
スピードコントローラ
(1)
32 PJ-3040405-11 ELBOW UNION
エルボユニオン
(1)
33 SL-6041292-TN SCREW
座金付き六角穴ボルト
(2)
34 E2169-721-000 HOLD PLATE
ホールドプレート
(1)
35 SM-6031502-UZ SCREW M3 L=15
六角穴付きボルト M 3 L =15
(1)
36 NM-6030002-SC NUT M3
六角ナット M 3 X 0.5 2種
(1)
37 400-00909 STOPPER
ストッパ
(1)
38 E2233-725-000 STOPPER CHIP
ストッパチップ
(1)
39 SM-1030401-SE SCREW M3 L=4
皿ねじ M 3 X 0.5 L =4
(1)
40 SM-1031201-SC SCREW M3X0.5 L=12
皿小ねじ M 3 X 0.5 L =12
(1)
41 E2039-721-000 WASHER A
スラストワッシャ A
(2)
42 E2038-721-000 STOPPER COLLAR
ストッパカラー
(1)
43 WP-0330516-SC WASHER 3.3X8X0.5
平座金 3.3 X 8 X 0.5
(1)
44 WS-0310002-KN SPRING WASHER M3
ばね座金 3.1 X 5.9 X 0.7
(1)

- 55 -
28.PWB CONVEYOR COMPONENTS (8)
基板搬送関係 (8)
2
4
6
8
7
9
22
10
10
11
11
26
12
21
32
22
23
24
25
26
26
27
18
19
27
7
11
11
26
25
12
13
28
29
14
30
15
16
31
33
33
1
5
17
3
20