SP-0030-001.pdf - 第40页
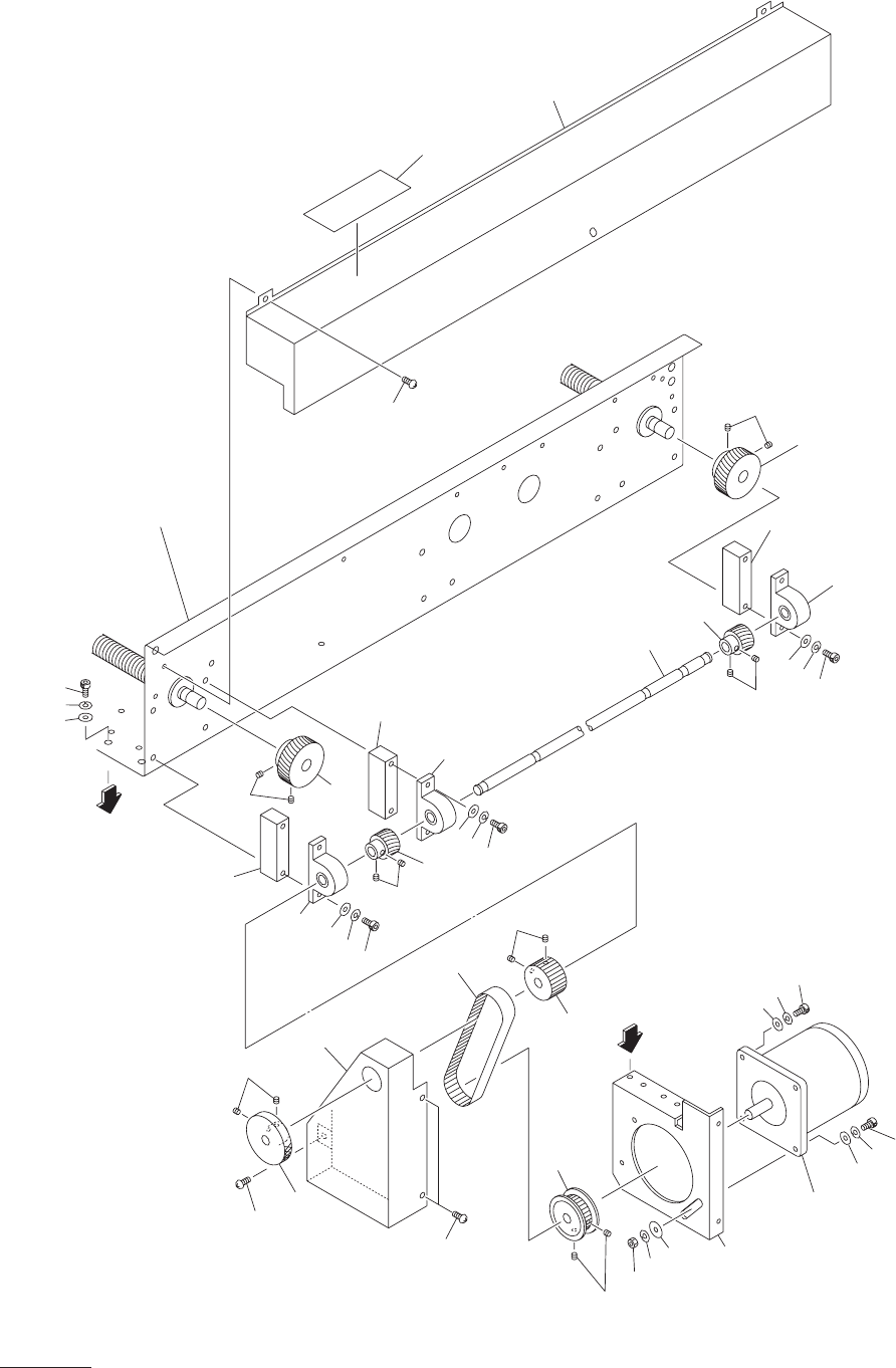
C-S104-16 0604-001 38 L コンベア部 L CONVEYOR SECTION Fig. 7-3 ドライブシャフト Driving Shaft See Fig.7-1 Key No.2 50 13 14 23 22 21 A 2 46 6 1 46 6 7 8 9 4 5 9 8 7 3 4 5 7 8 9 6 46 1 2 17 A 35 36 16 39 38 37 37 33 34 30 29 28 20 24 …

Key No. PART No. PART NAME Q’ty REMARKS
NOTE
C-S104-16
0604-001
37
7-2
1 630 053 0681 BRACKET(MOTOR) 1 659G--03B-010
1 -1 630 055 2911 BRACKET(MOTOR) 1 659G--03B-031
2 630 003 2574 GEAR,REDUCTION 2 659G--03H-016
3 630 049 0831 MOTOR,REVERSIBLE 2 M3, M8, 3RK15GN-AUL 100V
659G--03H-015
4 411 141 4107 WASHER V 5X10X1 4 FW5
5 411 141 6705 WASHER SPR 5 4 SW5
6 630 000 7824 BOLT,HEX-SCT 4 M5X45
6 -1 411 087 1109 WASHER IN TW 5 2
7 630 009 2684 PULLEY,TIMING 4 659G--03H-017
8 630 000 8944 SET SCREW 8 M5X6 SET
9 630 053 2395 BELT,TIMING 1 659G--03H-018
9 -1 630 013 6296 BELT,TIMING 1 659G--03H-036
10 411 141 4107 WASHER V 5X10X1 2 FW5
11 411 141 6705 WASHER SPR 5 2 SW5
12 630 000 7749 BOLT,HEX-SCT 2 M5X10
13 630 001 0220 WASHER 2 659G--03H-027
14 411 141 6705 WASHER SPR 5 2 SW5
15 630 000 7756 BOLT,HEX-SCT 2 M5X12
16 630 061 0055 COVER(MOTOR) 1
659G--A03001B-032
17 411 051 1708 SCR TRS 4X6 1 M4X6 TRS

C-S104-16
0604-001
38
L
コンベア部
L CONVEYOR SECTION
Fig. 7-3
ドライブシャフト
Driving Shaft
See Fig.7-1
Key No.2
50
13
14
23
22
21
A
2
46
6
1
46
6
7
8
9
4
5
9
8
7
3
4
5
7
8
9
6
46
1
2
17
A
35
36
16
39
38
37
37
33
34
30
29
28
20
24
25
26
27-1
25
26
27

Key No. PART No. PART NAME Q’ty REMARKS
NOTE
C-S104-16
0604-001
39
7-3
1 630 028 9493 GEAR 2 659G--03H-006
2 630 000 8951 SET SCREW 4 M5X8 SET
3 630 058 8255 SHAFT 1 659G--03B-009
4 630 028 9480 GEAR 2 659G--03H-007
5 630 008 2296 SET SCREW 4 M4X4 SET
6 630 001 1890 BEARING,UNIT 3 659G--03H-005
7 411 141 4107 WASHER V 5X10X1 6 FW5
8 411 141 6705 WASHER SPR 5 6 SW5
9 630 000 7800 BOLT,HEX-SCT 6 M5X35
13 630 058 8088 COVER 1
659G--A03001B-018
14 411 051 1708 SCR TRS 4X6 3 M4X6 TRS
16 630 056 3924 PULLEY,TIMING 1 659G--03H-043
17 630 000 8951 SET SCREW 2 M5X8 SET
20 630 056 2767 BRACKET(MOTOR L) 1 659G--03B-051
21 411 141 4107 WASHER V 5X10X1 2 FW5
22 411 141 6705 WASHER SPR 5 2 SW5
23 630 000 7749 BOLT,HEX-SCT 2 M5X10
24 630 009 5869 MOTOR,STEPPING 1 PM101(CVW1),#103-8572-7041
659G--03H-041
25 411 141 4107 WASHER V 5X10X1 2 FW5
26 411 141 6705 WASHER SPR 5 2 SW5
27 630 000 7763 BOLT,HEX-SCT 1 M5X16
27 -1 630 000 7787 BOLT,HEX-SCT 1 M5X25
28 630 001 0220 WASHER 1 659G--03H-027
29 411 141 6705 WASHER SPR 5 1 SW5
30 411 141 0505 NUT HEX 5 1 M5
33 630 056 3917 PULLEY,TIMING 1 659G--03H-042
34 630 000 8951 SET SCREW 2 M5X8 SET
35 630 048 9668 BELT,TIMING 1 659G--03H-044
36 630 056 2781 COVER(L) 1 659G--03B-052
37 411 051 1708 SCR TRS 4X6 3 M4X6 TRS
38 630 035 8384 BOSS(HANDLE) 1 659G--03B-055
39 630 008 2296 SET SCREW 2 M4X4 SET
46 630 057 7297 COLLAR 3
659G--A03001B-A036
50 630 082 6104 NAME PLATE,PARTS 1 659G--03B-056