NPM-DGS-程序手册3.pdf - 第575页
NPM-DGS 程序手册 13.5 SCAP (Special Convert A Panasert) EJS9AC-MB-13P-24 Page 13-85 这是针对在贴装机程序中可预想到的 存在凹陷 元件的功能, 当确认到在实际元件的上部 存在凹 陷时,在 < 上部凹陷元件 > 画面上勾选。 ( ‘13.5.8 上部凹陷元件 ’) 当贴装机程序与 DGS 的基板基准位置不同时, 设定补偿值后进行调整。 ( ‘13.5.9…

NPM-DGS
程序手册
13.5 SCAP (Special Convert A Panasert)
Page 13-84 EJS9AC-MB-13P-24
13.5 SCAP (Special Convert A Panasert)
13.5.1
概要
SCAP
是可将
Panasert
系列的贴装机程序转换成可导入
DGS
的文件格式的工具。
关于可进行转换的贴装机、贴装机程序,请参照
‘13.5.5
转换对象贴装机
/
转换文件一览
’
。
数据转换的流程
从通过
SCAP
转换
Panasert
系列的贴装机程序,到通过
DGS
实施最佳化的流程如下所示。
指定转换后的文件输出处以及转换到
SCAP
的
贴装机程序。
(
‘13.5.4
选择贴装机程序
’)
当不存在基板尺寸信息时,在
<Board size
setting>
画面上指定基板尺寸。
(
‘13.5.6
设定基板尺寸
’)
当在同一程序内无法链接
POS / SET
文件时,
在
<File Matching>
画面上进行分配。
(
‘13.5.7
贴装机程序的分配
’)
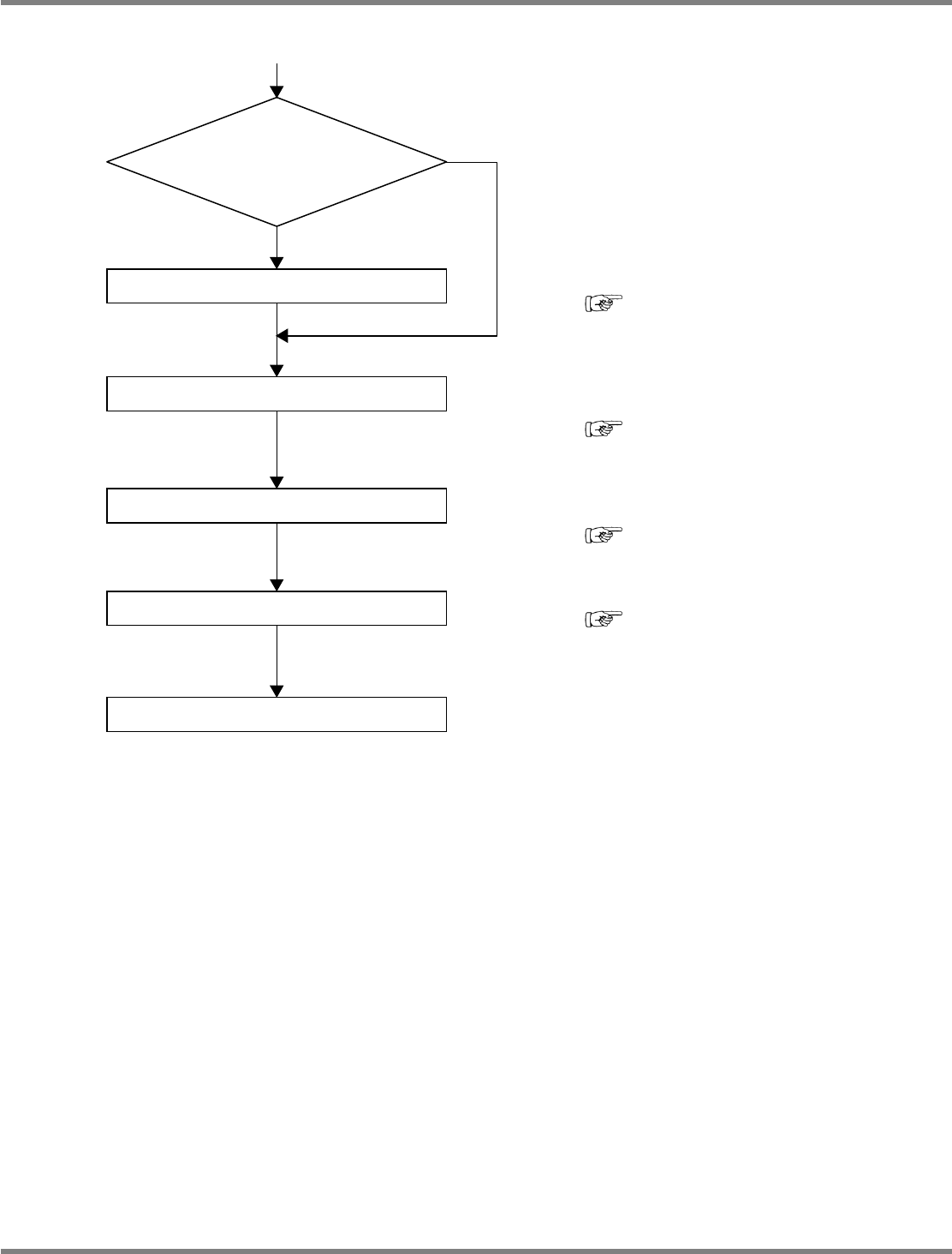
启动
SCAP
选择贴装机程序
贴装机程序的分配
下一页
设定基板尺寸
YES
NO
存在多个相同程序名的
POS
文件与
SET
文件。
YES
NO
没有基板尺寸信息。

NPM-DGS
程序手册
13.5 SCAP (Special Convert A Panasert)
EJS9AC-MB-13P-24 Page 13-85
这是针对在贴装机程序中可预想到的存在凹陷
元件的功能,当确认到在实际元件的上部存在凹
陷时,在
<
上部凹陷元件
>
画面上勾选。
(
‘13.5.8
上部凹陷元件
’)
当贴装机程序与
DGS
的基板基准位置不同时,
设定补偿值后进行调整。
(
‘13.5.9
设定补偿值
’)
将贴装机程序转换到
NPM
生产数据格式
(
.Crb)
。
(
‘13.5.10
转换的执行
’)
导入编制生产数据所需的基板、元件数据等。
(
‘13.5.11 DGS
导入
’)
编制生产数据,并执行最优化。
(
与通常的数据编制相同。
)
通过
SCAP
转换后的数据,并不属于可直接下载到设备上或可进行贴装的文件。除了向
DGS
导
入以外,不可用于其他用途。
不可通过
SCAP
转换没有生产实绩的贴装程序。
接上一页
上部凹陷元件
YES
NO
在元件上存在凸凹。
设定补偿值
执行转换
DGS
导入
编制生产数据
(
最优化
)

NPM-DGS
程序手册
13.5 SCAP (Special Convert A Panasert)
Page 13-86 EJS9AC-MB-13P-24
13.5.2
使用上的限制
使用上的限制如下所示
:
对象数据
对象文件
转换
转换对象、限制事项
品种程序
基板程序
.POS / .BRD
○
基准销孔间距、孔尺寸不在转换对象内。
补偿值数据
(
程序补偿值
)
.POS
○
不设定前工序元件的最大高度。向
DGS
导入后,需要
设定前工序的最大元件高度。
‘7.11.4
机器动作选项的设定
’
‘
①软件切换标
签
’
S&R
数据
○
不可设定跳过。导入到
DGS
后,需要进行跳过对象区
块反复的指定。
判别标记数据
○
作为不良标记而转换。
补正标记数据
○
作为识别标记而转换。
NC
数据
○
标记盘数据
○
作为贴装点识别标记而转换。
排列数据
.POS / .SET
× 只抽取元件名称以及形状代码、供给代码的链接信息。
吸嘴站数据
.POS
×
IPC
数据
×
关于转换记号
○
:
转换对象
×
:
非转换对象
△
:
一部分为对象
□
:
自动设定
(
一部分为对象
)