NPM-DGS-程序手册3.pdf - 第581页
NPM-DGS 程序手册 13.5 SCAP (Special Convert A Panasert) EJS9AC-MB-13P-24 Page 13-91 ③ 关于元件高度 在 BM 下,设定元件信息的规格如下图所 示。 如果以与规格不同的方法进行了设定 ,请通过 DGS 的元件编辑重新设定。 在通过 BM 的品种程序的吸着高度补正对高度进行 了补正时,也相同。 ④ 关于托盘高度 在 BM 下,设定托盘信息的规格如下图所 示。 …

NPM-DGS
程序手册
13.5 SCAP (Special Convert A Panasert)
Page 13-90 EJS9AC-MB-13P-24
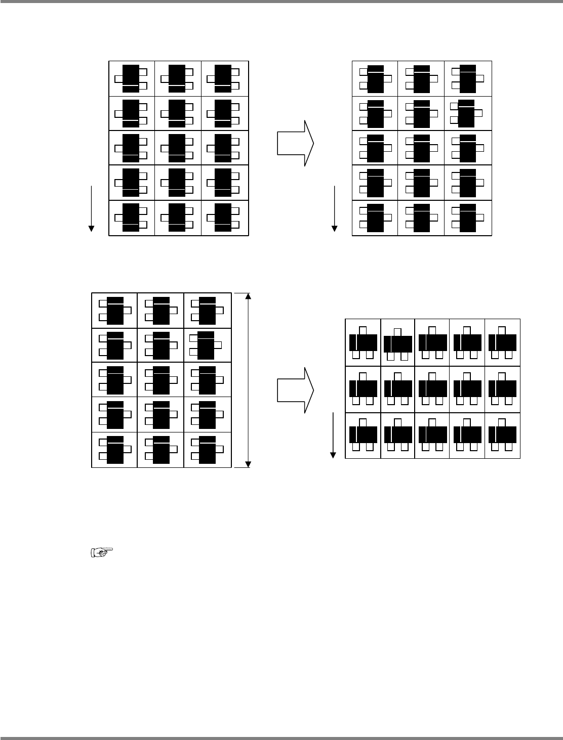
在
BM
与
NPM / AM100
下,因为托盘的配置方法有所不同,当在
NPM / AM100
上配置托盘时,
请如下所示对托盘旋转
180
°后配置。
而且,当托盘尺寸的纵向尺寸
(a)
超出
230.0 mm
时,请向逆时针旋转
90
°。
逆时针旋转
90
°的配置,是因为当托盘尺寸的纵向尺寸超出
230.0 mm
时,最佳化将使托盘板
自动旋转
90
°的原因。
在运用之际,如果想要对纵向尺寸没有超出
230.0 mm
的托盘也进行上面左图所示的配置,则需
要通过手动使托盘板旋转
90
°。
‘7.4
供料器装配画面
’
‘
■
托盘板数据的编辑
’
BM
的托盘配置
NPM / AM100
的托盘配置
旋转
180
°
a
>
230.0 mm
时,
旋转
90
°
a

NPM-DGS
程序手册
13.5 SCAP (Special Convert A Panasert)
EJS9AC-MB-13P-24 Page 13-91
③ 关于元件高度
在
BM
下,设定元件信息的规格如下图所示。
如果以与规格不同的方法进行了设定,请通过
DGS
的元件编辑重新设定。
在通过
BM
的品种程序的吸着高度补正对高度进行了补正时,也相同。
④ 关于托盘高度
在
BM
下,设定托盘信息的规格如下图所示。
如果以与规格不同的方法进行了设定,请通过
DGS
的元件编辑重新设定。
在通过
BM
的品种程序的吸附高度补正对高度进行了补正时,也相同。
元件高度
元件深度
吸着深度
编带
元件
托盘元件深度
托盘
元件
吸着高度
托盘高度

NPM-DGS
程序手册
13.5 SCAP (Special Convert A Panasert)
Page 13-92 EJS9AC-MB-13P-24
13.5.3 SCAP
的启动
1
双击
“DGS
安装文件夹
”
的
\Client\SCAP\SCAP_UI.exe
。
将启动
SCAP
的程序信息画面。
Howto130403S-01C00
1
Howto130403S-02C00