RS-1_RS-1-XL_RS-1R-Rev13.pdf - 第134页
- 127 - 64. PWB CONVEYOR COMPONENTS (7) 基板搬送関係(7) 32 3 17 1 33 33 31 16 15 30 25 26 11 11 7 19 26 26 25 24 23 22 20 21 26 11 11 10 10 22 9 7 8 4 2 27 12 6 28 27 18 13 12 29 14 5

- 126 -
REF.NO NOTE PART NO D E S C R I P T I O N
品 名
Qty
1 401-83552 STOPPER_ASM
ストッパ組
1
2 HX-0031400-00 SPIRAL TABE
スパイラル チューブ
(0.3)
3 401-83036 STOPPER_FRAME_650
ストッパフレーム650
(1)
4 WP-0431005-SP PLAIN WASHER
平座金
(1)
5 SL-4030891-SC SCREW M3 L=8
座金付きなべ小ねじ M3 L=8
(1)
6 400-00910 STOPPER PIN
ストッパピン
(1)
7 RE-0200000-K0 E-RING 2
E形止め輪 2
(1)
8 WP-0320501-SC WASHER M3
平座金 3.2X7X0.5
(1)
9 400-00911 STOPER CONNECT
ストッパコネクタ
(1)
10 PA-1002008-A0 AIR CYLINDER
エアシリンダ
(1)
11 SM-6031402-TN SCREW M3X0.5 L=14
六角穴ボルト M3X0.5 L=14
(2)
12 SM-1030601-SC SCREW M3X6
皿ねじ M3X6
(4)
13 PJ-3040405-11 ELBOW UNION
エルボユニオン
(2)
14 SL-6041292-TN SCREW M4 L=12
座金付き六角穴ボルト M4 L=12
(1)
15 L163E-521-000 HOLD PLATE
ホールド プレート
(1)
16 401-83035 STOPPER
ストッパ
(1)
17 401-83066 STOPPER_CHIP_650
ストッパチップ650
(1)
18 SM-0030401-SC SCREW M3 L=4
トラスねじ M3 L=4
(1)
19 SM-1031201-SC SCREW M3X0.5 L=12
皿小ねじ M3X0.5 L=12
(1)
20 E2039-721-000 WASHER A
スラストワッシャA
(2)
21 E2038-721-000 STOPPER COLLAR
ストッパカラー
(1)
22 WP-0330516-SC WASHER 3.3X8X0.5
平座金 3.3X8X0.5
(1)
23 HX-0034400-00 HARNESS PARTS
束線パーツ
(1)
24 NM-6030003-SC NUT M3
六角ナット M3
(2)
25 401-56968 STOPPER SENSOR ASM
ストッパセンサ組
(1)
26 PC-0124010-00 SPEED CONTROLLER
スピードコントローラ
(2)
27 BT-0400251-EA URETHANE TUBE BLUE 4X2.5
ポリウレタン チューブ 青 4X2.5
(0.5)
28 401-83070 BU_PIN_SENSOR_DOG
BUピンセンサドグ
(1)

- 127 -
64.PWB CONVEYOR COMPONENTS (7)
基板搬送関係(7)
32
3
17
1
33
33
31
16
15
30
25
26
11
11
7
19
26
26
25
24
23
22
20
21
26
11
11
10
10
22
9
7
8
4
2
27
12
6
28
27
18
13
12
29
14
5

- 128 -
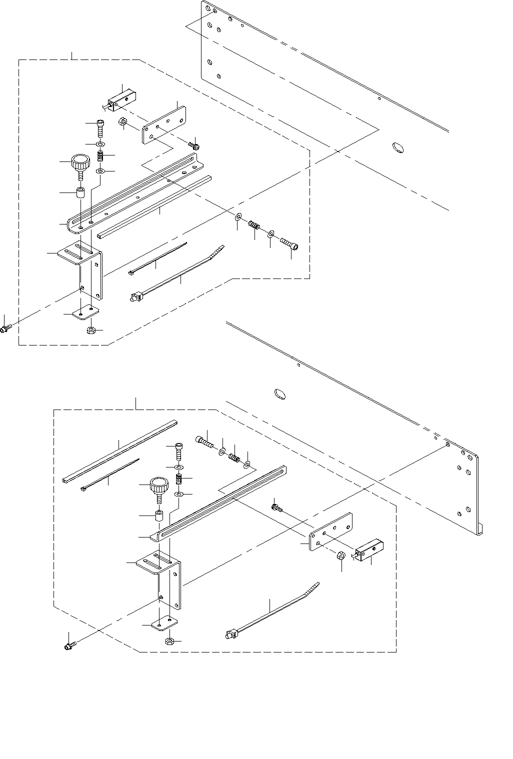
REF.NO NOTE PART NO D E S C R I P T I O N
品 名
Qty
1 401-88588 LEFT SENSOR UNIT_RS-1
レフトセンサユニット_RS−1
1
2 401-46990 SENSOR_BR_A
センサブラケット_A
(1)
3 HX-0044000-00 CABLE BAND
束線バンド
(1)
4 401-46991 SENSOR_BR_B
センサブラケット_B
(1)
5 400-01079 SENSOR BRAKET C
センサブラケット C
(1)
6 400-01076 SENSOR SLIDE PLATE
センサスライドプレート
(1)
7 400-00912 SENSOR ADJUST SPRING
センサアジャストスプリング
(3)
8 G6518-880-000 SET PICK-UP
セットつまみ
(1)
9 400-58815 SPACER
スペーサ
(1)
10 SM-6041602-TN SCREW M4X16
六角穴ボルト M4X16
(3)
11 WP-0430801-SC WASHER M4
平座金 M4
(6)
12 NM-6040002-SE NUT M4X0.7
六角ナット M4X0.7 2種
(3)
13 401-29046 SIDE SENSOR CABLE ASM
サイドセンサケーブル組
(1)
14 SL-4031091-SC SCREW M3 L=10
座金付きなべ小ねじ M3 L=10
(2)
15 HX-0036700-0A GROMMET
エッジングブッシュ
(0.16)
16 EA-9500B00-00 CABLE BAND
結束バンド 60
(5)
17 401-88589 RIGHT SENSOR UNIT_RS-1
ライトセンサユニット_RS−1
1
18 400-01079 SENSOR BRAKET C
センサブラケット C
(1)
19 401-46991 SENSOR_BR_B
センサブラケット_B
(1)
20 401-46990 SENSOR_BR_A
センサブラケット_A
(1)
21 400-01076 SENSOR SLIDE PLATE
センサスライドプレート
(1)
22 400-00912 SENSOR ADJUST SPRING
センサアジャストスプリング
(3)
23 G6518-880-000 SET PICK-UP
セットつまみ
(1)
24 400-58815 SPACER
スペーサ
(1)
25 SM-6041602-TN SCREW M4X16
六角穴ボルト M4X16
(3)
26 WP-0430801-SC WASHER M4
平座金 M4
(6)
27 NM-6040002-SE NUT M4X0.7
六角ナット M4X0.7 2種
(3)
28 401-29046 SIDE SENSOR CABLE ASM
サイドセンサケーブル組
(1)
29 SL-4031091-SC SCREW M3 L=10
座金付きなべ小ねじ M3 L=10
(1)
30 HX-0036700-0A GROMMET
エッジングブッシュ
(0.16)
31 EA-9500B00-00 CABLE BAND
結束バンド 60
(5)
32 HX-0044000-00 CABLE BAND
束線バンド
(1)
33 SL-6031092-TN SCREW M3 L=10
座金付き六角穴ボルト M3 L=10
4