RS-1_RS-1-XL_RS-1R-Rev13.pdf - 第185页
- 178 - NOTE( 注記 ) #01....FOR FRONT OF THE MACHINE マシン前側用 #02....FOR REAR OF TH E MACHINE マシン後側用 REF.NO NOTE PART NO D E S C R I P T I O N 品 名 Qty 1 401-8361 1 BUNK_SUPPORT_ASM バンクサポート組 2 2 401-8314 7 BANK_SUP_B_L バンク_SU…

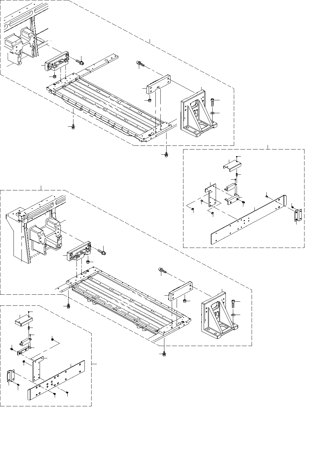
- 177 -
89.FEEDER BANK COMPONENTS (4)
フィーダバンク関係(4)
3
2
4
10
6
8
5
7
9
1
24
14
15
16
17
18
18
19
20
21
22
23
13
29
11
11
3
4
2
1
11
12
11
10
6
7
5
9
8
37
28
35
34
27
32
32
30
31
33
25
26
23
36
36

- 178 -
NOTE( 注記 ) #01....FOR FRONT OF THE MACHINE マシン前側用
#02....FOR REAR OF THE MACHINE マシン後側用
REF.NO NOTE PART NO D E S C R I P T I O N
品 名
Qty
1 401-83611 BUNK_SUPPORT_ASM
バンクサポート組
2
2 401-83147 BANK_SUP_B_L
バンク_SUP_B_L
(1)
3 SL-6083092-TN SCREW M8 L=30
座金付き六角穴ボルト M8 L=30
(4)
4 E2623-721-000 BANK LOCATE BUSH B
バンクロケートブッシュB
(1)
5 401-09098 BANK_SUP_A
バンク_SUP_A
(1)
6 SL-6104042-TN BOLT
座金付き六角穴ボルト
(4)
7 WP-1052001-SC WASHER 10
平座金みがき丸 M10
(4)
8 401-83149 BANK_SUP_B_R
バンク_SUP_B_R
(1)
9 SL-6083092-TN SCREW M8 L=30
座金付き六角穴ボルト M8 L=30
(4)
10 E2623-721-000 BANK LOCATE BUSH B
バンクロケートブッシュB
(1)
11 SL-6082092-TN SCREW M8 L=20
座金付き六角穴ボルト M8 L=20
4
12
#01
401-83612 GUIDE_RAIL_FL_ASM
ガイドレールFL組
1
13 401-83192 BANK_CONNECTOR_B_BR
バンクコネクタ_B_ブラケット
(1)
14 401-83209 CONNECTOR_B_COVER
コネクタBカバー
(1)
15
#01
401-83193 ROLLER_GUIDE_F
ローラガイド_F
(1)
16 400-93852 ROLLER_GUIDE_SUPPORT_FL
ローラガイドサポートFL
(1)
17 SL-6040892-TN SCREW M4 L=8
座金付き六角穴ボルト M4 L=8
(2)
18 SM-1051052-TN PLATE SCREW M5 L=10
皿ねじ M5 L=10
(10)
19 SL-6051092-TN SCREW M5 L=10
座金付き六角穴ボルト M5 L=10
(2)
20 SM-6030802-TN SCREW
六角穴ボルト
(2)
21 HX-0035400-00 STUD
基板パーツ
(2)
22 SM-3030552-TN SCREW M3 L=5
丸ねじ M3 L=5
(2)
23 HX-0070600-0A MOUNT BASE
マウントベース
(2)
24 401-83191 BANK_CONNECTOR_B_SUPPORT_BR
バンクコネクタ_B_サポートブラケット
(1)
25
#02
401-83613 GUIDE_RAIL_RL_ASM
ガイドレールRL組
1
26 401-83191 BANK_CONNECTOR_B_SUPPORT_BR
バンクコネクタ_B_サポートブラケット
(1)
27 401-83192 BANK_CONNECTOR_B_BR
バンクコネクタ_B_ブラケット
(1)
28 401-83209 CONNECTOR_B_COVER
コネクタBカバー
(1)
29
#02
401-83205 ROLLER_GUIDE_R
ローラガイド_R
(1)
30 400-93852 ROLLER_GUIDE_SUPPORT_FL
ローラガイドサポートFL
(1)
31 SL-6040892-TN SCREW M4 L=8
座金付き六角穴ボルト M4 L=8
(2)
32 SM-1051052-TN PLATE SCREW M5 L=10
皿ねじ M5 L=10
(10)
33 SL-6051092-TN SCREW M5 L=10
座金付き六角穴ボルト M5 L=10
(2)
34 SM-6030802-TN SCREW
六角穴ボルト
(2)
35 HX-0035400-00 STUD
基板パーツ
(2)
36 HX-0070600-0A MOUNT BASE
マウントベース
(2)
37 SM-3030552-TN SCREW M3 L=5
丸ねじ M3 L=5
(2)

- 179 -
90.FEEDER BANK COMPONENTS (5)
フィーダバンク関係(5)
2
3
4
4
5
5
6
6
7
7
8
8
9
10
19
18
11
10
9
11
11
11
12
12
12
12
13
14
15
15
15
21
22
16
17
18
20
23
24
25
1
27
28
29
30
30
44
30
31
31
32
33
33
32
34
35
36
36
37
38
39
40
41
42
43
26
50
46
48
47
49
45
55
54
53
53
56
52
51
59
122
58
57
61
62
64
64
63
63
6
6
65
65
65
65
66
66
67
67
69
68
68
69
74
71
70
75
70
71
74
71
70
74
70
71
73
72
76
77
77
78
79
80
81
84
83
82
60
86
87
88
88
103
89
89
89
90
90
91
91
92
92
94
93
95
95
98
96
97
99
100
101
102
109
107
106
105
108
104
85
111
11 5
11 2
11 2
11 3
11 4
11 0
11 8
123
120
121
11 9
80
81
21
22
29
A
A
116
11 7
125
126
127
126
127
124
125
126
127
126
127
124