FX-3RA_SPE.pdf - 第21页
17 バ ッ ド マ ー ク グ ロ ー バ ル バ ッ ド マ ー ク 基 板 回 路 5. 标准功能与 选购项 5- 1. 标准 5- 1- 1 高度 测 量功能 ( HMS ) 可在制作吸取数 据时,通过激光传感器自动测 量元件的吸取 位置高度。 吸取面为玻璃等 透明物体 ( LED 等 ) 、 以及 镜面状态下几乎全部反射 的元件、 蓝色元件、 06 03 以下的元件不能 使用。本装置也可作为示教点 使用。 5- 1- 2 真空…

16
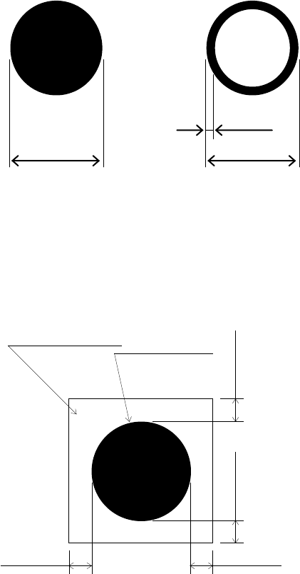
识别标记的尺寸与公差
外形尺寸为 0.5mm~3.0mm,公差为±10%以下。
中空形状的边线部分宽度应在 0.2mm 以上。
图 识别标记的尺寸及公差
识别标记的周围间隙
识别标记周围应有空间,无其他标记(导体图案、抗焊剂以及记号等)。
此外,间隙尺寸,最好是离识别标记外围 0.5mm 以上的正方形。
图 识别标记的周围间隙
0.5~3.0mm
0.5~3.0mm
0.2mm 以上
0.5mm 以上
0.5mm 以上
0.5mm
以上
0.5mm
以上
認識マーク
クリアランスエリア
间隙范围
识别标记

17
バ ッ ド マ ー ク
グ ロ ー バ ル バ ッ ド マ ー ク
基 板
回 路
5.
标准功能与选购项
5-1. 标准
5-1-1 高度测量功能(HMS)
可在制作吸取数据时,通过激光传感器自动测量元件的吸取位置高度。
吸取面为玻璃等透明物体(LED 等)、以及镜面状态下几乎全部反射的元件、蓝色元件、0603
以下的元件不能使用。本装置也可作为示教点使用。
5-1-2 真空泵
可控制空气压缩机的空气消耗量,提高吸取元件时的供气稳定性。
5-1-3 供料器悬浮传感器
本项功能旨在避免带式供料器、管式供料器没有安装正确时造成机械故障。
传感器检测出有问题时,XY 轴即刻停止,并警告操作员。
5-2. 选购项
5-2-1 坏板标记读入器(工厂出货选项)
是指在多电路基板上读取设置在各条电路上的坏板标记(不良电路),一旦读取标记,便不在
该电路上贴装元件的功能。
标记的大小直径为
φ
2.5mm 以上,与基板颜色必须有充分的反差。
基板颜色与标记部位有足够的反射光差时,就可切换与基板颜色的明暗反差。
使用坏板标记读入器选购项时,比使用标准设备的 OCC 识别坏板标记,每一点平均可缩短
约 0.1 秒。
5-2-2 供料器统一更换功能(工厂出货选项)
在主机上装卸整批供料器类,在生产过程中于外部准备好下一次生产用的供料器,因而可缩
短准备工作时间。
注:使用的更换台车,有机械式供料器专用、电动式供料器专用。因此,在同一台车内机械
式、电动式不能混合使用。另外,在安装电动式供料器用供料器台车的供应部位,必须
安装专用的切带刀装置。
电路
坏板标记

18
5-2-3 背面操作单元(工厂出货选项)
在主机后侧,带有液晶监视器、键盘、轨迹球的操作功能,可进行与前侧相同的操作。
(带有前后操作、切换开关)
5-2-4 元件检验(CVS、工厂出货选项)
是生产之前、或元件用完后生产再开始时检查贴装的元件,用来事先发现元件·极性·供料
器安装位置等错误的功能。最多同时检查 6 个元件。
检查的对象元件如下
对应元件类型
・方形芯片
・多层陶瓷电容
・钽芯片电容
・铝电解电容
・芯片膜电容
・2 针脚二极管
检查条件
・电极有两极,在底面且在对边的元件
・电极间距离为 10mm 以下的元件
・外形尺寸为□10.00mm 以下的元件
・单独测量时,为 0402 以上的元件
・同时测量时,为 1005 以上的元件
(但,元件尺寸的长边为 0.95mm 以上的)
※二极管仅限一般整流用二极管(发光二极管及稳压二极管除外。)
检查项目如下
1) 电阻值 测量范围:10Ω~1MΩ 测量精度:±5%
2) 静电容量 测量范围:100pF~100μF 测量精度:±20%
3) 二极管极性 测量范围:正向电压 1.8V 以下 开路电压 0~4.3V
使用的吸嘴
要使用验证功能时,必须要以下的 CVS 专用吸嘴。
标准吸嘴用:500CVS,501CVS,502CVS,503CVS,504CVS,505CVS,509CVS